名称:一种电缆线套管装置
专利号:202223184655.8
专利权人:刘朝云
技术领域
本实用新型涉及电缆线保护技术领域,具体为一种电缆线套管装置。
背景技术
电缆保护套管是电力工程中推广使用的一种新型套管材料,随着电力电缆埋地敷设工程的迅速发展,对电缆套管提出的更高要求,具有绝缘性能良好、化学稳定性高、不生锈、不老化、可适应苛刻环境而被广泛得以应用,工作人员需要手动将电缆放置到保护套管内,使电缆被保护套保护起来,此方式增加工作人员的劳动量,且效率低。
实用新型内容
针对上述情况,为弥补上述现有缺陷,本方案提供了一种电缆线套管装置。
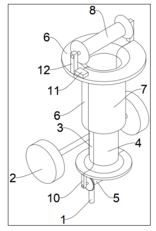
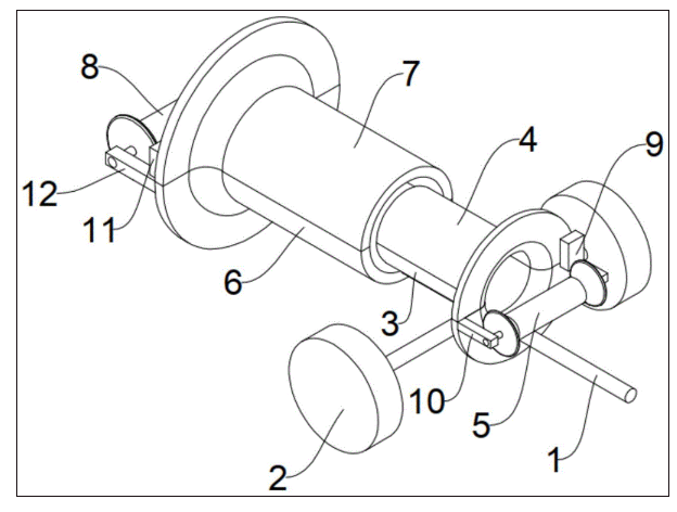
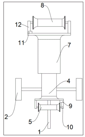
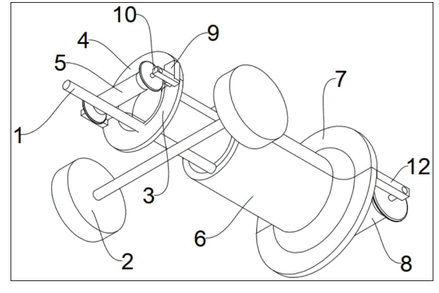
本实用新型采取的技术方案如下:一种电缆线套管装置,包括引管轴、移动轮、盖板一、盖板二、护线轮、盖板三、盖板四和定线轮,所述移动轮设于引管轴的中部位置,所述盖板一设于引管轴上,所述盖板一上设有连接块一和支架一,所述护线轮转动设于支架上,所述盖板二的一端通过螺栓设于连接块一上,所述盖板三设于引管轴上,所述盖板三上设有连接块二和支架二,所述盖板四的一端通过螺纹连接设于连接块二,所述定线轮转动设于支架二上。
其中,所述盖板一与盖板二尺寸相同,所述盖板三与盖板四尺寸相同,所述盖板一、盖板二、盖板三和盖板四均为弧形板。
优选地,所述护线轮位于盖板一与盖板二之间,所述定线轮位于盖板三和盖板四之间。
其中,所述盖板一的尺寸小于盖板三的尺寸。
其中,所述盖板三上设有通孔,用于固定钢丝绳或牵引绳便于牵引本装置。
其中,所述引管轴远离盖板一的一端具有一定的角度倾斜。
采用上述结构本实用新型取得的有益效果如下:本方案一种电缆线套管装置,通过盖板一、盖板二、护线轮、盖板三、盖板四和定线轮的配合设置,提高了将电缆卡入保护套内的效率,且降低了工作人员的劳动量。
附图说明
附图用来提供对本实用新型的进一步理解,并且构成说明书的一部分,与本实用新型的实施例一起用于解释本实用新型,并不构成对本实用新型的限制。在附图中:
图1为本实用新型提供的一种电缆线套管装置的整体结构示意图;
图2为本实用新型提供的一种电缆线套管装置的立体图一;
图3为本实用新型提供的一种电缆线套管装置的立体图二;
图4为本实用新型提供的一种电缆线套管装置的立体图三。
其中,1、引管轴,2、移动轮,3、盖板一,4、盖板二,5、护线轮,6、盖板三,7、盖板四,8、定线轮,9、连接块一,10、支架一,11、连接块二,12、支架二。
具体实施方式
下面将结合本实用新型实施例中的附图,对本实用新型实施例中的技术方案进行清楚、完整地描述,显然,所描述的实施例仅仅是本实用新型一部分实施例,而不是全部的实施例;基于本实用新型中的实施例,本领域普通技术人员在没有做出创造性劳动前提下所获得的所有其他实施例,都属于本实用新型保护的范围。
如图1至图4所示,实用新型采取的技术方案如下:一种电缆线套管装置,包括引管轴1、移动轮2、盖板一3、盖板二4、护线轮5、盖板三6、盖板四7和定线轮8,移动轮2设于引管轴1的中部位置,盖板一3设于引管轴1上,盖板一3上设有连接块一9和支架一10,护线轮5转动设于支架上,盖板二4的一端通过螺栓设于连接块一9上,盖板三6设于引管轴1上,盖板三6上设有连接块二11和支架二12,盖板四7的一端通过螺纹连接设于连接块二11,定线轮8转动设于支架二12上;盖板一3与盖板二4尺寸相同,盖板三6与盖板四7尺寸相同,盖板一3、盖板二4、盖板三6和盖板四7均为弧形板;护线轮5位于盖板一3与盖板二4之间,定线轮8位于盖板三6和盖板四7之间;盖板一3的尺寸小于盖板三6的尺寸;盖板三6上设有通孔,用于固定钢丝绳或牵引绳便于牵引本装置,引管轴1远离盖板一的一端具有一定的角度倾斜。
具体使用时,将保护套和电缆线插入闭合后的盖板一3和盖板二4之间的圆筒内,且位于护线轮5的同侧,从闭合后的盖板三6和盖板四7的之间的圆筒拉出,工人通过钢丝绳或其他牵引绳,使其前进通过盖板一3、盖板二4、盖板三6和盖板四7相互配合,使电缆卡入保护套管内,使电缆被保护套保护起来。
要说明的是,在本文中,诸如第一和第二等之类的关系术语仅仅用来将一个实体或者操作与另一个实体或操作区分开来,而不一定要求或者暗示这些实体或操作之间存在任何这种实际的关系或者顺序。而且,术语“包括”、“包含”或者其任何其他变体意在涵盖非排他性的包含,从而使得包括一系列要素的过程、方法、物料或者设备不仅包括那些要素,而且还包括没有明确列出的其他要素,或者是还包括为这种过程、方法、物料或者设备所固有的要素。尽管已经示出和描述了本实用新型的实施例,对于本领域的普通技术人员而言,可以理解在不脱离本实用新型的原理和精神的情况下可以对这些实施例进行多种变化、修改、替换和变型,本实用新型的范围由所附权利要求及其等同物限定。


