名称:一种无柄电动牙刷
专利号:201910407595.5
专利权人:王刚
技术领域
本发明领域属于牙刷领域,具体涉及一种电动牙刷。
背景技术
牙刷是一种口腔保护用品,在刷子上涂加牙膏,然后反复刷洗牙齿的各个部位。电动牙刷是通过电动机芯的快速旋转或振动,使刷头产生高频振动,瞬间将牙膏分解成细微泡沫,深入清洁牙缝,于此同时,刷毛的振动能促进口腔的血液循环,对牙龈组织有按摩效果。
目前市场上已有的电动牙刷,包括脉冲水洗、声波、超声波、电动喷雾牙刷,都是有柄牙刷。此外,目前的电动牙刷是在传统的牙刷样式内加入驱动装置,同时必须使用手持牙刷的方式对每颗牙齿进行清洁,这会产生清洁时间较长,牙齿受力不均匀,使用不方便,使用者刷牙时产生疲劳感的问题。
后来有了一种牙齿清洁器,虽然也没有刷柄,但由于清洁器做成牙齿套结构整体套在牙齿上,通过上下振动刷牙。这种方式装置体积大,且由于牙齿形状不一和只能在口腔内的牙齿上进行振动,不能通过舌头控制使其在口腔内横向移动,牙齿容易受力不均匀,清洁存在死角,且易造成牙齿伤害,刷牙体验感也较差。
发明内容
基于此,针对现有技术,本发明所要解决的技术问题就是提供一种便于使用的无手柄电动牙刷。
本发明的技术方案为:
一种无柄电动牙刷,其包括一可在口腔内被舌改变位置的刷头和驱动刷头实施刷牙运动的动力装置。
上述方案优选的,动力装置包括一驱动电机,驱动电机被密封地设置在刷头内并与刷头驱动连接。
上述方案优选的,驱动电机为振动电机或旋转电机。
上述方案优选的,动力装置还包括一电源线,该电源线一端与设置在所述刷头内的驱动电机连接,另一端与电源连接。
上述方案优选的,电源与刷头分开设置,电源线与电源可拆卸连接。
上述方案优选的,电源为一充电宝或一电池或一将交流电源转变为低压直流电的电源适配器。
上述方案优选的,电线上设置有电机开关和调速开关。
上述方案优选的,刷头包括刷体和刷毛,驱动电机设置有一密封外壳,刷体可拆卸地套设在所述驱动电机密封外壳上。
上述方案优选的,刷体侧部形成一端口,该端口设在电源输入侧,其上设有密封堵头,该密封堵头上形成一通孔。
上述方案优选的,振动电机的侧部还设有一支撑件,其一端支撑在振动电机的侧面上,另一端伸出所述通孔与电源线1连接;与通孔配合的电源线形成一密封接头,该接头内形成一插槽,支撑件伸出接口的端侧插入在该插槽中并与其形成过盈配合。
上述方案优选的,动力装置包括一振动电机和一电源线,振动电机设置在刷头内,电源线设置在刷头外。
上述方案优选的,动力装置包括与刷头设置在一起工作时位于口腔内的驱动电机以及与刷头分开设置位于口腔外的电源线及电源插头。
上述方案优选的,动力装置包括与刷头设置在一起工作时位于口腔内的驱动电机以及与刷头分开设置位于口腔外的电源以及连接在电源与电机之间的电源线。
上述方案优选的,动力装置包括与刷头设置在一起工作时位于口腔内的电极以及与刷头分开设置工作时位于口腔外的带有变压回路的低压电源适配器以及连接在低压电源适配器与电极之间的电源线。
相对于现有技术,本发明的无柄电动牙刷在清洁牙齿时,可以刷到牙齿的任何一个部位,因此能达到全面清洁牙齿的目的且本发明的无柄电动牙刷由一可在口腔内被舌改变位置的刷头和驱动刷头实施刷牙运动的动力装置,使用者便于将牙刷放入口中,刷牙时不必手持牙刷刷柄,避免因为手持牙刷力度不均匀,同时降低刷牙时的疲劳度,避免对牙齿和牙龈的伤害,另外刷头在口腔内可由舌头控制在口内移动,刷头设置双面刷毛,提高刷牙效率,也容易刷净。无柄牙刷可设置为外接一直流电源,电源可为日常使用的便携式电源,方便使用者携带,同时其也可设置为外接交流电源,方便使用者在家中使用。此外,无柄牙刷还可以设置为内置电源,为无柄牙刷的驱动装置提供电力,使用者使用时只需将带有牙膏的无柄牙刷放入口中即可,不妨碍使用者进行其他活动,给早起刷牙的使用者一个更轻松的刷牙体验感。
附图说明
为了使本发明的内容更容易被清楚的理解,下面根据本发明的具体实施例并结合附图,对本发明作进一步详细的说明,但本发明的示意性实施例及其说明用于解释本发明,并不构成对本发明的不当限定,其中:
图1为本发明无柄电动牙刷实施例1整体构成示意图;
图2为本发明实施例1刷头部分横向剖视图;
图3为本发明实施例1刷头实施例立体示意图;
图4为本发明实施例1刷头横向剖视图(取掉内部电机及相关支撑密封结构时);
图5为本发明实施例1所采用的振动电机实施例立体示意图;
图6为本发明将图5所示振动电机设置在刷头内时的内部结构示意图;
图7为本发明实施例1爆炸图;
图8为本发明以充电宝为电源的实施例2示意图;
图9为本发明带有电源适配器的实施例3示意图;
图10为本发明实施例1电源线设有卡板的实施例示意图;
图11为本发明采用的旋转电机实施例4结构示意图;
图12为本发明刷头内设置旋转电机时的内部结构示意图;
图13为本发明刷头内设置旋转电机时的横向剖视图;
图14为本发明刷头内设置旋转电机时的断剖视图;
图15为本发明取消电机改为振荡电极的实施例5;
图中附图标记表示为:
1-刷头;
11-刷毛;12-刷体;13-腔体;131-刷体端口;132-刷体端口密封堵头;1321-刷体通孔;
2-动力装置;
21驱动电机;211-振动电机;212-旋转电机;23-密封外壳;24-防水压套;251-电机上安装架;252-电机下安装架;253-支撑件;2530-走线孔;26-防水胶条;电机引线27;
221-电源线密封接头;2211-电源线密封接头的插槽;
23-密封圈;
231-第一密封圈;232-第二密封圈;
3-电源线;控制器312;31-电机开关;32-调速开关;卡板33;电源线密封接头34;电源线插头35;插头36
4-充电宝;
5-电源适配器;
51变压电路;512-初级绕组;51a初级绕组第一端子;
513-次级绕组;513a-次级绕组第一端子;513b-次级绕组第二端子;53-回授控制电路;54-输出电压控制器;213-振荡电极。
具体实施方式
需要说明的是,在不冲突的情况下,本申请中的实施例及实施例中的特征可以相互组合。下面将参考附图并结合实施例来详细说明本发明。
应该指出,以下详细说明都是例示性的,旨在对本申请提供进一步的说明。除非另有指明,本文使用的所有技术和科学术语具有与本申请所属技术领域的普通技术人员通常理解的相同含义。
下面将结合本发明实施例中的附图,对本发明实施例中的技术方案进行清楚、完整地描述,显然,所描述的实施例仅仅是本发明一部分实施例,而不是全部的实施例。以下对至少一个示例性实施例的描述实际上仅仅是说明性的,决不作为对本发明及其应用或使用的任何限制。基于本发明中的实施例,本领域普通技术人员在没有作出创造性劳动前提下所获得的所有其他实施例,都属于本发明保护的范围。
如图1、图8、图9、图11、图15所示,本发明创造的将电动牙刷的刷柄取消,形成一无柄电动牙刷,通过简单的包括一可在口腔内被舌改变位置的刷头和驱动刷头实施刷牙运动的动力装置,但却有革命性地意义。
由于本发明取消了刷柄,取消了人手持刷柄的操作,将驱动电机直接设置在刷头中,刷牙时随刷头放入口腔中对刷头实施驱动。并可在口腔内通过舌头改变刷头的位置,一方面使得牙刷继续具有清洁牙齿的功能,还可以使得使用者在刷牙时解放双手,不再使用手来持着牙刷手柄,更加方便,降低了刷牙时的疲劳强度。此外,除驱动电机提供动力外,使用者还可以利用舌头使刷头在口腔内变换位置,根据使用者的体验控制刷头的位置和刷牙时间,不但避免了刷柄需要在人口腔内来回粗暴移动的不适,也避免了因为刷牙操作不当对人体牙齿的破坏。同时由于刷头可以被舌头来控制位置,使得人的刷牙体验也变得舒适和增加了乐趣很多,尤其适合不愿意刷牙和不太会刷牙的儿童。
下面以示例性实施例阐述本发明具体实施方式。
实施例1
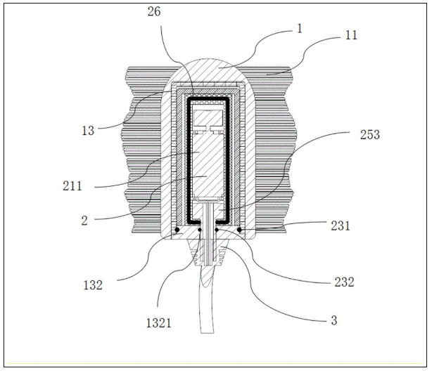
如图1-图7所示,本实施例无柄电动牙刷包括一可在口腔内被舌改变位置的刷头1和驱动刷头实施刷牙运动的动力装置2。
动力装置2包括一驱动电机21,本实施例为振动电机211,密封地设置在刷头的内腔里,为实现振动电机的供电,本动力装置为驱动电机还连接有电源线,该电源线一端与振动电机211连接,另一端与22电源(图1示例未示出)连接。具体的电源可以是干电池,可以是充电宝,还可以是家用电源。为方便控制,电源线上设置电源开关及调速按钮需要刷牙时,将电源线连接电源,控制振动电机211启动,刷头2在口腔内开始轻微振动实现刷牙,与此同时,本申请还创造性的将其设计为还可以借助舌头使刷头在口腔内可以移动位置,或者通过电源线调整刷头在口内的位置,实现牙齿全部的充分清洁。
电源线为整个无柄牙刷提供电力经过的“路径”,采用电源线1相比较于有柄牙刷的刷柄细,使用者使用时将无柄牙刷放入口中,还可以利用电源线辅助使用者控制刷头,同时能够防止使用者在刷牙时误吞误咽。
进一步的,如图1,刷头2包括刷毛11和刷体12,驱动电机11被密封地设置在刷体的腔体13内,其中:
刷头1:为刷头能更好地全方位的清洁牙齿,刷毛优选布置在刷体的整个外表面,刷毛径向设置在外周面。具体的刷毛布置方式、刷毛材质、刷毛形状、刷毛尺寸,可根据不同的使用者及实际使用需求选择既能提升口腔舒适度又有利于将牙刷净的,本发明并不对此限定,只要是本领域技术人员能够实现的即可。
刷体12:刷体形状可近似圆球胶囊状,也可以近似呈长胶囊状,以及其它任何提高体验感且又利于设置电动机的形状。刷体近似胶囊状,便于放入口腔中,便于使用者使用舌在保证口腔内部安全的情况下移动牙刷,可以避免接近牙齿一端的刷毛对牙齿、牙龈造成伤害。便于更加全面的清洁牙齿。
刷体也好,刷毛也好,由于需要放置在口腔中,优选无毒且具有一定柔性和弹性的材料,如无毒硅胶材料。这样本发明提供的无柄电动牙刷使用时需要将刷体放入口腔中,使用无毒硅胶材料可以提供更好的使用安全性并有助于牙齿和口腔免受伤害。
本实施例考虑到刷头不能多人共用但电机却可以重复利用的问题,为了能够实现电机的重复利用,节省成本,本发明巧妙的设计了刷头。如图2及图3所示,刷头与内部密封电机的外壳23形成一可拆卸结构,当需要更换拆卸原来用过的刷头时,将其从刷体上拆卸下来换一个新的刷头即可,非常简单方便。
进一步优选的,驱动电机可以直接采用防水电机,或电机与电线直接总成在一起,或者在电机尾部锡焊。
为进一步提升刷头密封效果、支撑效果,电连接效果,本实施例优化如下:
刷体一端封闭另一端形成一端口131以方便电机套入,该端口设在电源输入侧,其上密封有刷体端口密封堵头132,该密封堵头上形成一通孔1321,以用于电源线及紧固件的安装。
优选的,刷体形成内腔13,内腔电机211在刷体内腔里安装在电机安装架上,该安装架包括上安装架251和下安装件252,两者扣合在一起。此外,电机的侧部还设有一支撑件253,其一端支撑在电机的侧面上,另一端伸出通孔1321用于与电源线1连接。与通孔1321配合的电源线形成一密封接头211,该接头内优选的形成一插槽2111,以让支撑件27伸出接口的端侧插入在该插槽中并与其形成过盈配合,以避免电源线和刷体接口处产生空隙,进入唾液使电机短路。此外,为方便走线,支撑件253内还形成有一轴向贯通的走线孔2530,电源线穿过该走线孔与电机电连接。优选的,本实施例支撑件选择为一变径空腔金属柱,大直径侧与刷体内径匹配,小直径侧与电源线密封接头匹配,柱内空腔形成贯通的走线孔,电源线通过圆柱体形空腔与电机连接。
可选的,刷体端口密封堵头132与电源线密封接头211可以为分体插接配合在一起,也可以一体注塑形成。
为进一步防止刷头在口腔内刷牙时有唾液进入容纳电机的刷体空腔内,刷头本体密封堵头132外圆周面与刷体通孔1321之间设置有第一密封圈231作为第一级密封,刷体端口密封堵头132内圆周面与支撑件27外圆周面之间设置第二密封圈232,第二密封圈232与支撑件外圆周面紧密配合,形成二级密封。
如此,使用时,当将密封堵头和电源线密封接头密封连接时,电源线电接头与电机电连接。这样既可以避免刷牙时口腔中的唾液对牙刷中的驱动电机造成短路,影响整个牙刷的使用,并且保证使用者的安全。
进一步还可以优化的,固定电机的刷头本体内腔内还形成有三道密封,按照上述密封排序,由外向里设有作为第三道密封的密封外壳23,部分形成三级密封,再向里,为防水压套24形成四级密封,再靠里,固定驱动电机的上机架和下机架的配合面之间置一防水胶条26形成五级密封。这五级密封极大避免了电机在口腔内使用时口腔中唾液进入刷体内部对驱动电机或者电路造成损害,提高使用本发明刷头的安全性。电机的机架包括上下两部分,上机架251和下机架252,两者扣合在一起装在防水压套24里,然后再装在电机密封外壳23里,最后整体装在刷头内。由此实现多层的密封保护。
优选的,振动电机电源电压为1V-6V,进一步优选为2V-5V,更为优选的为3.7V。
上述方案优选的,电源线1上设置有控制器312,控制器有电机开关31和调速开关32。电源线1上设置电机开关31,可以控制电机在口腔中工作与否,便于使用者对电机的启动控制,不同人群可以根据自身情况进行驱动电机的震动频率,提供更好的刷牙体验感。优选的,如图10所示,电源上还可以设有卡板33,一方面方便手持,另一方面还可调节电源线实际工作长度,避免整个电源线跟随电机的振动或旋转。
需要刷牙时,启动驱动电机211,如图1所示,带动刷头1在口腔内轻微振动,同时还可以借助舌头来使刷头在口腔内移动位置,或者通过电源线调整刷头在口内的位置,实现各个位置牙齿的清洁。
实施例2:
如图8所示,驱动电机也是振动电机211,动力装置匹配一个充电宝4,即电源线与充电宝连接。此种情况下,特别适合在电源使用不方便的场合使用。
当然,由于人在刷牙时需要的电压、电流都较小,本实施例充电宝具有较低的电压和较小的电流值。具体的适配器为本领域的现有技术,如手机充电宝,如何获得低电压低电流都是本领域技术人员所熟知的,这里不再赘述。需要刷牙时,启动驱动电机211,如图1所示,带动刷头1在口腔内轻微振动,同时还可以借助舌头来使刷头在口腔内移动位置,或者通过电源线调整刷头在口内的位置,实现各个位置牙齿的清洁。
实施例3:
除了这些自配电源外,还可以如图9所示,通过提供一带有电源适配器5的电源插头实现即电源线通过适配器与电源连接。由于人在刷牙时需要的电压、电流都较小,本实施例采用一个适配器可将较高的电压转变成较低的电压和较小的电流值。具体的适配器为本领域的现有技术,如手机电源适配器,如何获得低电压低电流都是本领域技术人员所熟知的,这里不再赘述。需要刷牙时,启动驱动电机11,如图1所示,带动刷头2在口腔内轻微振动,同时还可以借助舌头来使刷头在口腔内移动位置,或者通过电源线调整刷头在口内的位置,实现各个位置牙齿的清洁。
其他可采用实施例1相同的结构形状设计。
这样,使用者可以简单的通过将电源插头插在适电电源插口上,由适配器将交流电转变为低压直流电,容易的实现电源供应。如此本牙刷可方便地利用电源适配器在家庭内或者酒店内使用,扩大本发明的无柄电动牙刷使用环境的范围性。综上所述,采用所述电源可以满足使用者针对不同使用环境下的使用需求。
上述这些电源的供应方式可以根据使用场合和使用者需求做出相应的组配。
实施例4:
本发明的的振动电机也可以改为旋转电机。
如图11-图14所示的旋转电机212,当将其装设在刷头本体中时,其非靠近电源输入端的一端可转动的设置在刷体12的端壁上,此时,端壁上可形成一个轴向突起并形成一个轴孔以供电机轴被支撑和转动。
其他结构可采用实施例1-5的结构。
实施例5:
当然,除直流电源外,交流电也是可以选择的,优选为脉冲低压直流电,进一步优选的,将电机取消,直接替换为一振荡电极,该振动电极与刷头固定在一起,优选的密封设置在刷头本体的腔体内,当其振动时带动刷头振动。具体的可将其封装隔绝在刷头里,通过使电极电磁振荡带动刷头振荡清洁牙齿。
如图15所示,在适配器中设置一变压电路51,该电路不但可以根据所连接的电源不但可以实现低压交流电也可以实现低压直流电。在该电路中初级绕组512与次级绕组513耦合。次级绕组513的初级绕组第一端子,通过回授控制电路53,连接到初级绕组的第一端子51a,次级绕组的第二端子513b是为了输出低压静电或低压振动。由于次级绕组将端子发生的电流变回初级绕组512,可以获得较低的电压。如若采用脉冲电压,次级绕组的输出就可以获得低压低频振动。优选的,回授控制电路53可以是可变电阻。
由此,可以取消电机,直接利用电极的振荡实现刷头的振荡,进而实现高效的牙齿清洁效果,降低了成本,使结构也变得更为简单,此时设置在刷头本体内的电极相当于一个动力装置。
实施例6:
当然,除上述电源与驱动电机分体设置的方式外,无柄电动牙刷也可以采用锂电池(适合小型化)供电,将电源与驱动电机设置在一起将整个装置设置在口腔中。此时刷头上设置有电源开关,使用时将电源开关打开,即可使用,十分便捷,不过较佳的是电源开关也被封装在刷头里通过压力将电源开关打开。还有此种方式最好能够有一个防吞咽措施,比如在刷头上有一个类似上述实施例电源线的引线,防止刷牙时一不小心吞咽下去。
无论采用哪种驱动方式,上述方案都可优选的,刷头包括刷体和刷毛,刷毛设置在刷体上,刷体是刷头中的主体部分,刷体内有内腔,刷体的腔体内直接设置动力装置,可以便捷的实现无柄刷牙。
当然本发明并不局限于上述实施方式,只要是无柄电动牙刷,且包括一可在口腔内被舌改变位置的刷头和驱动刷头实施刷牙运动的动力装置即在本专利的保护范围内。
实施例7:
本发明上述实施例1-6的的无柄电动牙刷使用方法实施例为:
(1)充电插头式:
首先将刷头取出,将充电插头和家用电源连接,然后将刷头充分湿水后挤上牙膏,将刷头直接放入口中,之后打开电源开关,并根据自身情况通过调速开关调节牙刷震动频率清洁牙齿,用舌头移动刷头清洁口腔全部牙齿,最后取出刷头,关闭电源开关或者拨出充电插头,并对刷头进行清洗。
(2)自带电源式:
首先将刷头取出,将充电线和直流电源(如干电池、充电宝等连接,然后将刷头充分湿水后挤上牙膏,将刷头直接放入口中,之后打开电源开关,并根据自身情况通过调速开关调节牙刷震动频率清洁牙齿,用舌头移动刷头清洁口腔全部牙齿,最后取出刷头,关闭电源开关,并对刷头进行清洗。
从以上的描述中,可以看出,本发明的无柄电动牙刷的电源设置上具有较好的配置性,结构简单,牙刷不再具有刷柄,使用起来更加方便,牙齿清洁时受力更均匀,更舒适,给使用者提供更好的体验感;刷头设置双面刷毛提高刷牙效率。此外,本发明的无柄牙刷降低使用疲劳感,防止对牙齿和牙龈造成伤害,还有利于培养小孩子使用无柄牙刷的习惯,刷牙时解放双手,使用者可以在刷牙的同时进行其他活动,具有较好的刷牙体验感。
除非另外具体说明,否则在这些实施例中阐述的部件和步骤的相对布置、数字表达式和数值不限制本发明的范围。同时,应当明白,为了便于描述,附图中所示出的各个部分的尺寸并不是按照实际的比例关系绘制的。对于相关领域普通技术人员已知的技术、方法和设备可能不作详细讨论,但在适当情况下,所述技术、方法和设备应当被视为授权说明书的一部分。在这里示出和讨论的所有示例中,任何具体值应被解释为仅仅是示例性的,而不是作为限制。因此,示例性实施例的其它示例可以具有不同的值。应注意到:相似的标号和字母在下面的附图中表示类似项,因此,一旦某一项在一个附图中被定义,则在随后的附图中不需要对其进行进一步讨论。
在本发明的描述中,需要理解的是,方位词如“前、后、上、下、左、右”、“横向、竖向、垂直、水平”和“顶、底”等所指示的方位或位置关系通常是基于附图所示的方位或位置关系,仅是为了便于描述本发明和简化描述,在未作相反说明的情况下,这些方位词并不指示和暗示所指的装置或元件必须具有特定的方位或者以特定的方位构造和操作,因此不能理解为对本发明保护范围的限制;方位词“内、外”是指相对于各部件本身的轮廓的内外。
为了便于描述,在这里可以使用空间相对术语,如“在……之上”、“在……上方”、“在……上表面”、“上面的”等,用来描述如在图中所示的一个器件或特征与其他器件或特征的空间位置关系。应当理解的是,空间相对术语旨在包含除了器件在图中所描述的方位之外的在使用或操作中的不同方位。例如,如果附图中的器件被倒置,则描述为“在其他器件或构造上方”或“在其他器件或构造之上”的器件之后将被定位为“在其他器件或构造下方”或“在其他器件或构造之下”。因而,示例性术语“在……上方”可以包括“在……上方”和“在……下方”两种方位。该器件也可以其他不同方式定位(旋转90度或处于其他方位),并且对这里所使用的空间相对描述作出相应解释。
需要注意的是,这里所使用的术语仅是为了描述具体实施方式,而非意图限制根据本申请的示例性实施方式。如在这里所使用的,除非上下文另外明确指出,否则单数形式也意图包括复数形式,此外,还应当理解的是,当在本说明书中使用术语“包含”和/或“包括”时,其指明存在特征、步骤、操作、器件、组件和/或它们的组合。
需要说明的是,本申请的说明书和权利要求书及上述附图中的术语“第一”、“第二”等是用于区别类似的对象,而不必用于描述特定的顺序或先后次序。应该理解这样使用的数据在适当情况下可以互换,以便这里描述的本申请的实施方式能够以除了在这里图示或描述的那些以外的顺序实施。
以上所述仅为本发明的优选实施例而已,并不用于限制本发明,对于本领域的技术人员来说,本发明可以有各种更改和变化。凡在本发明的精神和原则之内,所作的任何修改、等同替换、改进等,均应包含在本发明的保护范围之内。



