名称:新风与热交换节能系统
专利号:202310048045.5
专利权人:庞解春
技术领域
本发明涉及新风与热交换系统技术领域,具体是指新风与热交换节能系统。
背景技术
当前,随着用户生活质量的提高,用户对室内空气质量的要求也越来越高。通常情况是在室内配置空气过滤,但它仅过滤掉空气中的颗粒,无法把空气中的二氧化碳置换成新鲜氧气!
因此,针对上述描述的技术问题亟需一种新风与热交换节能系统。
发明内容
本发明要解决的技术问题是克服上述技术的缺陷,提供新风与热交换节能系统。
为解决上述技术问题,本发明提供的技术方案为新风与热交换节能系统:包括第一风管、第二风管、出风管、固定架、管式热交换器和蜂窝热交换器,所述固定架上设有第一风管,所述固定架上第一风管的一侧设有第二风管,所述第一风管的上端和第二风管的上端合并成端部管,所述端部管的一端和管式热交换器连接,所述端部管的上端设有出风管,所述出风管的一端和管式热交换器连接,所述第一风管底端内部设有蜂窝热交换器,所述第一风管下端设有第一进风口,所述第二风管的下端设有第二进风口;
所述管式热交换器包括外管壳和V型管,所述V型管设置在外管壳内,所述V型管的两端分别和外管壳的两端平齐,所述V型管的上端和外管壳管壁连接,所述外管壳内V型管的外部形成空腔,所述外管壳两端V型管的下方空腔处分别设有进口和出口,所述端部管的一端和进口连接;
所述出风管内部设有和出风管下端口管壁连接的内管,所述内管的下端和V型管紧邻进口的一端连接。
作为改进,所述出风管上端设有遮雨盖。
本发明与现有技术相比的优点在于:设有第一风管、第二风管,第一风管的上端和第二风管的上端合并成端部管并和管式热交换器连接,出风管的一端和管式热交换器连接,第一风管底端内部设有蜂窝热交换器,通过“烟囱效应”把室外新鲜空气吸入室内;同样“烟囱效应”吹入新风,经过“蜂窝热交换”器之后,加大气流上升速度!直冲而上!直到室内排出管道口之处,形成“负压”带出室内污染气体;
以上是室内外空气置换结构与原理!这是弥补家用空调重要缺陷之一!
该发明实用另外一大特征是:彻底改变一层不变的热交换(铜盘管+散热片+风扇)结构!采用“蜂窝式热交换”结构!热交换液体不需要在管道里经过反反复复,来来回回的折腾!
仅蜂窝采用不锈钢型材的质余量就无法比拟!更重要的是,蜂窝结构通风效果远比传统铜盘管效果快捷n倍!液体阻力小n倍!压缩机功率降低n倍!真正达到:材料节约;效率递增;能耗大大降低!
附图说明
图1是本发明新风与热交换节能系统的侧视图。
图2是本发明新风与热交换节能系统的正面图。
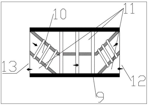
图3是本发明新风与热交换节能系统蜂窝热交换器的结构示意图。
图4是本发明新风与热交换节能系统管式热交换器的结构示意图。
图5是本发明新风与热交换节能系统管式热交换器的右端面结构示意图。
图6是本发明新风与热交换节能系统管式热交换器的左端面结构示意图。
如图所示:
1、第一风管,2、第二风管,3、出风管,4、固定架,5、蜂窝热交换器,6、端部管,7、第一进风口,8、第二进风口,9、外管壳,10、V型管,11、空腔,12、进口,13、出口,14、内管,15、遮雨盖。
具体实施方式
为使本发明实施例的目的、技术方案和优点更加清楚,下面将结合本发明实施例中的附图,对本发明实施例中的技术方案进行清楚、完整地描述,显然,所描述的实施例是本发明一部分实施例,而不是全部的实施例。通常在此处附图中描述和示出的本发明实施例的组件可以以各种不同的配置来布置和设计。
结合附图1-6,新风与热交换节能系统,包括第一风管1、第二风管2、出风管3、固定架4、管式热交换器和蜂窝热交换器5,所述固定架4上设有第一风管1,所述固定架4上第一风管1的一侧设有第二风管2,所述第一风管1的上端和第二风管2的上端合并成端部管6,所述端部管6的一端和管式热交换器连接,所述端部管6的上端设有出风管3,所述出风管3的一端和管式热交换器连接,所述第一风管1底端内部设有蜂窝热交换器5,所述第一风管1下端设有第一进风口7,所述第二风管2的下端设有第二进风口8;
所述管式热交换器包括外管壳9和V型管10,所述V型管10设置在外管壳9内,所述V型管10的两端分别和外管壳9的两端平齐,所述V型管10的上端和外管壳9管壁连接,所述外管壳9内V型管10的外部形成空腔11,所述外管壳9两端V型管10的下方空腔11处分别设有进口12和出口13,所述端部管6的一端和进口12连接;
所述出风管3内部设有和出风管3下端口管壁连接的内管14,所述内管14的下端和V型管10紧邻进口12的一端连接。
所述出风管3上端设有遮雨盖15。
本发明在具体实施时,使用时,首先把该设备安装在外墙壁上,把室内空调的管子的一端插进外管壳9上空腔11的出口13内,室外的空气就会从第一风管1下端的第一进风口7和第二风管2下端第二进风口8进入第一风管1和第二风管2,随后经过端部管6进入外管壳9内的空腔11内,然后经过空调的管子进入空调中,进而进入室内,这样就可以通过“烟囱效应”把室外新鲜空气吹入室内;利用其“效应”在出风管3出口处形成一股“负压”,室内的空气就会从V型管10经过内管14、出风管3排出室内污染气体,设计蜂窝热交换器5结构,蜂窝热交换器5能使蜂窝间隙“截面积”与铜管“截面积”热交换效率一下子提高很多,使其直接、快捷、高效、这样大大降低热交换过程中的阻力与损耗,因此也降低空调压缩机使用功率来实现节约能耗;
“管式热交换器”就是通过进入新风与排出污染空气之间存在温差通过热交换装置进行平衡!使能量损失降低到最低限度,来实现节能效果!
在本发明实施例的描述中,需要说明的是,若出现术语“中心”、“上”、“下”、“左”、“右”、“竖直”、“水平”、“内”、“外”等指示的方位或位置关系为基于附图所示的方位或位置关系,或者是该发明产品使用时惯常摆放的方位或位置关系,仅是为了便于描述本发明和简化描述,而不是指示或暗示所指的装置或元件必须具有特定的方位、以特定的方位构造和操作,因此不能理解为对本发明的限制。此外,术语“第一”、“第二”、“第三”等仅用于区分描述,而不能理解为指示或暗示相对重要性。
此外,若出现术语“水平”、“竖直”、“悬垂”等术语并不表示要求部件绝对水平或悬垂,而是可以稍微倾斜。如“水平”仅仅是指其方向相对“竖直”而言更加水平,并不是表示该结构一定要完全水平,而是可以稍微倾斜。
在本发明实施例的描述中,“多个”代表至少2个。
在本发明实施例的描述中,还需要说明的是,除非另有明确的规定和限定,若出现术语“设置”、“安装”、“相连”、“连接”应做广义理解,例如,可以是固定连接,也可以是可拆卸连接,或一体地连接;可以是机械连接,也可以是电连接;可以是直接相连,也可以通过中间媒介间接相连,可以是两个元件内部的连通。对于本领域的普通技术人员而言,可以根据具体情况理解上述术语在本发明中的具体含义。
以上对本发明及其实施方式进行了描述,这种描述没有限制性,附图中所示的也只是本发明的实施方式之一,实际的结构并不局限于此。总而言之如果本领域的普通技术人员受其启示,在不脱离本发明创造宗旨的情况下,不经创造性的设计出与该技术方案相似的结构方式及实施例,均应属于本发明的保护范围。




