名称:一种用于空调排水口的防臭防虫密封连接装置
专利号:202511433095.0
专利权人:廖奕龙
技术领域
本发明涉及器械连接工件技术领域,具体为一种用于空调排水口的防臭防虫密封连接装置。
背景技术
空调用久了,排水管和水槽就成了藏污纳垢的“重灾区”,积累大量污垢和细菌,从而产生类似臭水沟的气味。这些部位若不清洗,即便其他部分再干净,也难以避免异味的产生,接着小昆虫、老鼠等进入排水管后死亡腐烂,也会散发腥臭味。在现有技术中,有些空调在安装的过程中,将排水管一端往下倾斜,提升排水管排水效率,用于防止排水管中的进行积水从而产生很多细菌,但是这样一来就有很多蚊虫进入到空调在不使用后排水管内部,因此它们死亡后导致排水管产生特殊难闻的气味,而味道一旦产生后,不及时清除拆卸管道,空调使用时所释放的气体让人难以忍受,而为了解决这一问题,目前的解决方式是在排水管内部安装隔离网,但是隔离网无法有效隔绝全段管道,因此还会有部分的蚊虫进入,并且,隔离网安装的位置很重要,不能影响到排水管的排水效果,否则又会形成积水,因此对施工要求是比较高的,为此,我们提出一种用于空调排水口的防臭防虫密封连接装置。
发明内容
本发明的目的在于提供一种用于空调排水口的防臭防虫密封连接装置,以解决上述背景技术中提出的问题。
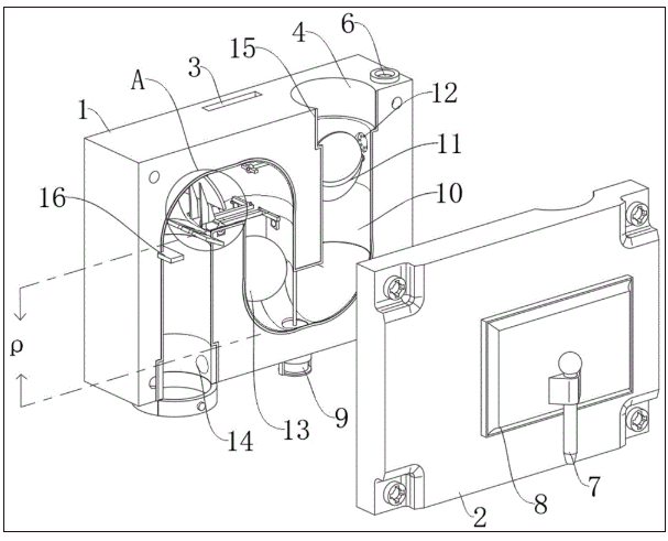
为实现上述目的,本发明提供如下技术方案:一种用于空调排水口的防臭防虫密封连接装置,包括箱体,所述箱体一侧通过螺栓连接有拼接箱,所述箱体和拼接箱相拼后形成一体式结构,所述箱体和拼接箱之间均开设有通水道,所述箱体和拼接箱共同一侧均开设有进水口,所述箱体和拼接箱共同另外一侧均开设有出水口,位于箱体的所述通水道内部滑动连接有浮球,所述箱体在靠近进水口旁开设有排气通道,所述排气通道一端延伸到箱体和通水道相通,所述排气通道一端固定安装有单向嘴,位于箱体的所述通水道内一侧转动连接有转轴,所述转轴上固定连接有一对封块,两个所述封块共同一端固定安装有截流板,所述通水道内部另外一处固定安装有挡板。
优选的,所述通水道呈S型状布置在箱体和拼接箱内部,且所述通水道具有两个分别靠近箱体顶部和底部的S1和S2,所述S1和S2将通水道形成连通器,且通水道高低两处之间的距离设为ρ。
优选的,所述S2具有竖直向上延伸形成和挡板处于同一水平高度的延伸平台I,所述S1具有竖直向下延伸的延伸平台II。
优选的,所述转轴位于延伸平台I上,所述转轴两端均固定连接有摇臂,每个所述摇臂一端均固定安装有配重块,所述通水道内部在靠近延伸平台I旁固定安装有一对限位块,所述限位块位于摇臂的圆周旋转路径上,所述延伸平台I一侧固定安装有斜板,所述斜板上开设有一对容纳封块的放置通道。
优选的,所述封块的型状为楔形,所述斜板一端向上延伸使其高度略高于另外一端,所述截流板一侧离转轴表面的距离等于斜板的长度,且所述转轴外侧和通水道内壁贴近。
优选的,所述延伸平台II内部设有内嵌通道,所述内嵌通道内底部固定安装有垫片,所述垫片上滑动连接有韧性绳,所述箱体内底部滑动连接有疏水塞,所述箱体内底部在靠近出水口旁开设有疏水道,所述疏水塞中部开设有窄区,所述韧性绳和疏水塞固定连接在一起,所述韧性绳顶部固定连接有软质绳,所述软质绳横向滑动在箱体内部,且所述软质绳一端位于摇臂的旋转路径上。
优选的,所述通水道在靠近进水口旁转动连接有连接杆,所述连接杆上固定安装有挡片,所述挡片的直径大小和通水道相等,所述连接杆一端固定连接有传动齿轮,所述韧性绳上固定连接有第一改轨块,所述韧性绳在靠近软质绳一端旁固定连接有第二改轨块。
优选的,所述拼接箱外侧固定安装有导热板,所述导热板侧面固定安装有温度传感器,所述导热板另一侧正对应通水道上的ρ区域。
优选的,所述通水道内部表面均通过电镀处理,且电镀金属为银,所述箱体和拼接箱之间固定填充有密封橡胶。
优选的,所述箱体外侧中部开设有连接开口。
与现有技术相比,本发明的有益效果是:
本发明通过管道往通水道内部内径排水,然后水通过在通水道内部进行积攒形成水封层,随着水不断的积攒,使得通水道内部的水封层厚度逐渐的增加,让浮球上升,浮球在上升的过程中,驱动封块在转轴上转动,当浮球上升到最高点位的时候,浮球不再进行上浮,此时封块带动截流板将通水道部分通道进行封堵,让通水道能够利用封块和截流板之间的缝隙进行出水,这样做,可有效的减少通水道出水较快的问题,而通水道形成水封层之后,可有效的防止蚊虫进入到通水道,进而防止蚊虫沿着通水道进入到空调排水管道,通水道的水封层也能够短期内达到防臭的目的。
附图说明
图1为本发明整体结构示意图;
图2为本发明箱体和拼接箱拆分结构示意图;
图3为本发明图2中A处的放大结构示意图;
图4为本发明箱体内部结构示意图;
图5为本发明摇臂和截流板结构示意图;
图6为本发明图4中B处的放大结构示意图;
图7为本发明韧性绳和软质绳结构示意图;
图8为本发明箱体和拼接箱拆分另外视角的示意图;
图9为本发明截流板、封块以及斜板配合示意图。
图中:1-箱体;2-拼接箱;3-连接开口;4-进水口;5-出水口;6-排气通道;7-温度传感器;8-导热板;9-疏水塞;901-窄区;10-通水道;11-挡片;12-单向嘴;13-浮球;14-疏水道;15-密封橡胶;16-挡板;17-限位块;18-摇臂;19-配重块;20-截流板;21-封块;22-转轴;23-斜板;24-内嵌通道;25-垫片;26-韧性绳;27-第一改轨块;28-连接杆;29-传动齿轮;30-第二改轨块;31-软质绳;32-延伸平台I;33-延伸平台II。
具体实施方式
下面将结合本发明实施例中的附图,对本发明实施例中的技术方案进行清楚、完整地描述,显然,所描述的实施例仅仅是本发明一部分实施例,而不是全部的实施例。基于本发明中的实施例,本领域普通技术人员在没有做出创造性劳动前提下所获得的所有其他实施例,都属于本发明保护的范围。
请参阅图1-9,本发明提供一种技术方案:一种用于空调排水口的防臭防虫密封连接装置,包括箱体1,箱体1一侧通过螺栓连接有拼接箱2,箱体1和拼接箱2相拼后形成一体式结构,箱体1和拼接箱2之间均开设有通水道10,箱体1和拼接箱2共同一侧均开设有进水口4,箱体1和拼接箱2共同另外一侧均开设有出水口5,位于箱体1的通水道10内部滑动连接有浮球13,箱体1在靠近进水口4旁开设有排气通道6,排气通道6一端延伸到箱体1和通水道10相通,排气通道6一端固定安装有单向嘴12,位于箱体1的通水道10内一侧转动连接有转轴22,转轴22上固定连接有一对封块21,两个封块21共同一端固定安装有截流板20,通水道10内部另外一处固定安装有挡板16;箱体1外侧中部开设有连接开口3;
优先的,在箱体1和拼接箱2合并之后成为一个整体,再将进水口4连接空调排水管道,再将出水口5连接外部的管道,然后再将整体放入到室外即可,排气通道6和通水道10进行相通,使得有相当一部分在通水道10内部的水可以进行蒸发,且通过排气通道6排出进行换气,当空调开始工作的时候,往管道连接的通水道10内部进行排水,然后水通过在通水道10内部进行积攒形成水封层,随着水不断的积攒,使得通水道10内部的水封层厚度逐渐的增加,让浮球13上升,浮球13在上升的过程中,驱动封块21在转轴22上转动,当浮球13上升到最高点位的时候,浮球13不再进行上浮,此时封块21带动截流板20将通水道10部分通道进行封堵,让通水道10能够利用两个封块21之间的缝隙进行出水,这样做,可有效的减少通水道10出水较快的问题,而通水道10形成水封层之后,可有效的防止蚊虫进入到通水道10,进而防止蚊虫沿着通水道10进入到空调排水管道,通水道10的水封层也能够短期内达到防臭的目的。
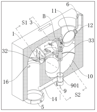
进一步的,通水道10呈S型状布置在箱体1和拼接箱2内部,且通水道10具有两个分别靠近箱体1顶部和底部的S1和S2,S1和S2将通水道10形成连通器,且通水道10高低两处之间的距离设为ρ;S2具有竖直向上延伸形成和挡板16处于同一水平高度的延伸平台I32,S1具有竖直向下延伸的延伸平台II33,其中浮球13的直径约等于通水道10直径。
在通水道10的作用下,延伸平台I32和延伸平台II33之间形成有效节点,将通水道10内部进行分隔,ρ为水封层的高度,当水位逐渐的增加的时候,水位优先进入到S2,然后漫延到S1区域,此过程中,浮球13进行上升,从而将有效将延伸平台I32和延伸平台II33之间的通水道10部分区域的内壁可能存在的脏污进行刮除,空调排水管若处于稳定排水阶段则通水道10利用连通器效果,被截流板20的一端出水量处于稳定平衡状态。
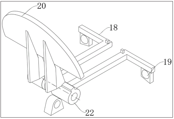
进一步的,转轴22位于延伸平台I32上,转轴22两端均固定连接有摇臂18,每个摇臂18一端均固定安装有配重块19,通水道10内部在靠近延伸平台I32旁固定安装有一对限位块17,限位块17位于摇臂18的圆周旋转路径上,延伸平台I32一侧固定安装有斜板23,斜板23上开设有一对容纳封块21的放置通道。
优先的,其中空调在制冷温度比较低和周围空气湿度比较大的时候,由于蒸发器做功比较大,其排水管出水量比较大,让通水道10内部进水量比较大,而通水道10内部一端由截流板20进行半封闭式堵住,使得通水道10由于进水口4一端流量增大时,其另一端流量会同步变化以维持整体平衡,通水道10由于空调温度的调整一端进水量突然增大,通水道10由截流板20半封闭式堵住的内部一端流速增大,因此在通水道10内部水位逐渐增长之后,浮球13上升,使得通水道10的S1区域水位进行漫延,让浮球13逐渐的进入到S1区域的顶部;
同步中,封块21的型状为楔形,斜板23一端向上延伸使其高度略高于另外一端,截流板20一侧离转轴22表面的距离等于斜板23的长度,且转轴22外侧和通水道10内壁贴近,当浮球13进行上升的过程中,会接触到摇臂18,然后将摇臂18进行逐渐的抬起,让摇臂18脱离限位块17,从而使得封块21靠近斜板23,在水面上升的过程中,让斜板23和封块21进行吻合接触,使得通水道10出水的流量逐渐变小,从而让通水道10靠近进水口4的端部水位不断增高,通水道10一端处于接近封堵的状态,这会使得浮球13进一步进行上升,提升浮球13的活动空间。
进一步的,延伸平台II33内部设有内嵌通道24,内嵌通道24内底部固定安装有垫片25,垫片25上滑动连接有韧性绳26,箱体1内底部滑动连接有疏水塞9,箱体1内底部在靠近出水口5旁开设有疏水道14,疏水塞9中部开设有窄区901,韧性绳26和疏水塞9固定连接在一起,韧性绳26顶部固定连接有软质绳31,软质绳31横向滑动在箱体1内部,且软质绳31一端位于摇臂18的旋转路径上,浮球13在上升过程中,随着水位的不断上涨,让摇臂18的活动幅度增大,让封块21和斜板23接触后,截流板20和挡板16进行接触,使得通水道10一端被封堵,让摇臂18在转动的过程中接触到软质绳31,其中,摇臂18背面和软质绳31端部均有凸状小块,当摇臂18在旋转的过程中,摇臂18上的凸状小块和软质绳31端部的凸状小块接触,使得软质绳31一端伸出,且软质绳31带动韧性绳26进行上升,使得韧性绳26拉动疏水塞9进行上升,从而将疏水塞9中部的窄区901暴露在通水道10内部,而位于通水道10内部的水会经过窄区901,流入到疏水道14内部,从而将S1和S2区域水进行排放,使得浮球13下降。
进一步的,通水道10在靠近进水口4旁转动连接有连接杆28,连接杆28上固定安装有挡片11,挡片11的直径大小和通水道10相等,连接杆28一端固定连接有传动齿轮29,韧性绳26上固定连接有第一改轨块27,韧性绳26在靠近软质绳31一端旁固定连接有第二改轨块30,当截流板20和挡板16进行接触的过程中,软质绳31带动韧性绳26进行上升进而让第一改轨块27进行上升,当第一改轨块27接触到传动齿轮29的过程中,让挡片11转动90度,从而将通水道10进水处进行封闭,使得排水管出水的过程中,挡片11将水进行承接,让水通过单向嘴12进行到排气通道6内部,从而水在排气通道6内将可能存在的蚊虫尸体进行向上排出,进而防止排气通道6和空调排水管之间互相窜味,而由于韧性绳26拉动疏水塞9进行上升后,挡片11挡住通水道10的过程并不是很长一段时间,在S1和S2区域水进行排放的过程中,使得浮球13下降,让第一改轨块27和传动齿轮29取消接触,让挡片11重新进行复位,同时摇臂18根据一端配重,也会复位,而空调温度一旦确定下来的,排水管的排水量和流速处于平衡状态,使得通水道10另外一端也处于平衡状态,使得通水道10这个连通器内部流量出入重新处于稳定状态。
进一步的,拼接箱2外侧固定安装有导热板8,导热板8侧面固定安装有温度传感器7,导热板8另一侧正对应通水道10上的ρ区域,导热板8优选的材质为玻璃,其次为铝板,提升导热板8的导热能力,当空调停机通水道10内部水封层在蒸发的时候,其液位下降,直至下降至S2最低点,浮球13接触到韧性绳26的过程中,逐渐的让韧性绳26反向拉动,软质绳31做形变进行下降,从而使得第二改轨块30接触到传动齿轮29,让挡片11反向旋转90度,从而使得通水道10被完全的封堵,同时通水道10内部呈无水状态,大量减少异味气体的存在,而封块21和斜板23处于相对静止,且两者的距离比较小,体型比较大蚊虫不会由此进入,即使它们在封块21区域死亡后,随着空调的使用封块21在往斜板23移动时也会将它们的尸体推出通水道10,而小型蚊虫尸体会随着液位上升,排出通水道10外部,从而大幅度的提升通水道10内部防臭功能;而在空调重新使用的过程中,会让水积攒在挡片11上,当水位增加之后,不仅可将排气通道6进行清理,如附图4所示,由于连接杆28圆弧型状,因此挡片11在常态下的配重朝向下,当软质绳31做形变进行下降第二改轨块30和传动齿轮29处于啮合状态,因此挡片11将通水道10封堵后,根据自重挡片11会承受不住水的重力,由于其配重处于偏心状态,让其参照附图4为基础视角,做顺时针反向旋转回到初始状态,届时,通水道10的水封层重新形成。
通水道10内部表面均通过电镀处理,且电镀金属为银,箱体1和拼接箱2之间固定填充有密封橡胶15,银离子通过破坏细菌细胞膜、干扰酶活性及DNA复制,导致微生物死亡,能一定程度上遏制细菌的生长。
需要说明的是,在本文中,诸如第一和第二等之类的关系术语仅仅用来将一个实体或者操作与另一个实体或操作区分开来,而不一定要求或者暗示这些实体或操作之间存在任何这种实际的关系或者顺序。而且,术语“包括”、“包含”或者其任何其他变体意在涵盖非排他性的包含,从而使得包括一系列要素的过程、方法、物品或者设备不仅包括那些要素,而且还包括没有明确列出的其他要素,或者是还包括为这种过程、方法、物品或者设备所固有的要素。
尽管已经示出和描述了本发明的实施例,对于本领域的普通技术人员而言,可以理解在不脱离本发明的原理和精神的情况下可以对这些实施例进行多种变化、修改、替换和变型,本发明的范围由所附权利要求及其等同物限定。




