名称:一种电动自行车安全头盔正确佩戴双警示系统
专利号:202520535146.X
专利权人:石润斌
技术领域
本实用新型涉及一种报警装置,具体涉及一种电动自行车安全头盔正确佩戴双警示系统。
背景技术
据公安部统计,摩托车、电动自行车道路交通安全事故中,因颅脑损伤导致死亡的人数占总死亡人数的80%以上。有关研究表明,正确佩戴安全头盔,能够将交通事故死亡风险降低60%~70%。然而,目前驾驶摩托车、电动自行车未正确佩戴安全头盔的现象依然普遍,一个重要的原因是现行的电动自行车安全头盔并不具备强制驾驶员正确佩戴安全头盔的功能。公告号为CN214072007U的中国实用新型专利,公开了“一种电动自行车头盔佩戴警示系统”,其通过骑手坐在电动自行车坐垫上给坐垫施加压力,而控制坐垫下方的开关闭合,使电动自行车内的蜂鸣器电路闭合而得电报警,提醒骑手佩戴安全头盔,骑手戴上安全头盔后将安全头盔系带连接则使安全头盔中的无线发射模块得电而发射信号给坐垫中的无线接收模块,无线接收模块接收到信号后将蜂鸣器电路断开,使蜂鸣器失电而停止报警。这个方案的问题是,如果骑手仅仅是将系带连接而未佩戴安全头盔,同样可以使蜂鸣器停止报警,这并不能真正有效地强制骑手正确佩戴安全头盔,而正确佩戴安全头盔应包括戴好安全头盔和系好系带两个环节。
发明内容
为了克服现有技术中未能真正有效强制驾驶员正确佩戴安全头盔的缺陷,本实用新型提供一种电动自行车安全头盔正确佩戴双警示系统,将遥控钥匙与安全头盔结合设计,使驾驶员将安全头盔系带连接,把系扣插好后,才能接通遥控钥匙电路使遥控钥匙得电可使用;将传感技术和遥控技术应用在安全头盔中,使电动自行车的启动和运行通过遥控的方式与安全头盔产生联系,同时,驾驶员如果不戴安全头盔就会被感应到,并收到报警提醒;将传感技术和汽车安全带技术应用在安全头盔中,使驾驶员戴着安全头盔时,如果未插好系扣就会被感应到,并收到报警提醒,从而真正有效地强制驾驶员正确佩戴安全头盔。
本实用新型解决其技术问题所采用的技术方案是:一种电动自行车安全头盔正确佩戴双警示系统,包括2.4G无线遥控模块、无线单路遥控开关、解佩感应开关、佩戴感应开关、系扣开关、遥控钥匙模块、解扣感应开关、卷轴器,所述2.4G无线遥控模块安装于电动自行车内,与电动自行车的蓄电池以及电源开关串联连接,构成第一回路,当驾驶员启动和驾驶电动自行车时,电动自行车电源开关处于闭合,第一回路通电,2.4G无线遥控模块得电,得电后2.4G无线遥控模块与内置于安全头盔内的无线单路遥控开关之间通过对频相互连接;得电的2.4G无线遥控模块连续发射指令信号给无线单路遥控开关,无线单路遥控开关检测到连续的指令信号后由常开转为常闭;当电动自行车熄火时,电源开关断开,2.4G无线遥控模块失电并停止发射指令信号,无线单路遥控开关检测到指令信号中断后恢复为常开。
上述电动自行车安全头盔正确佩戴双警示系统,所述无线单路遥控开关与第一蜂鸣器、解佩感应开关、电源电连接,构成第二回路,所述解佩感应开关由安全头盔壳体、弹簧、推杆、衬垫、摇杆、第一单极霍尔元件OH44E以及第一磁铁组成,当驾驶员闭合电源开关,启动和运行电动自行车时,2.4G无线遥控模块得电并控制无线单路遥控开关处于常闭,同时,驾驶员不戴安全头盔时,一端连接在安全头盔壳体顶部内侧的弹簧处于自然伸长状态,连接在弹簧另一端的推杆固定摇杆的一端,使内置于摇杆另一端中的第一磁铁正对靠近解佩感应开关中的第一单极霍尔元件OH44E,使解佩感应开关处于常闭,第二回路通电,第一蜂鸣器报警;当驾驶员闭合电源开关,启动和运行电动自行车时,2.4G无线遥控模块得电并控制无线单路遥控开关处于常闭,同时,驾驶员戴安全头盔时,其头部顶压推杆推动摇杆运动,内置于摇杆中的第一磁铁随摇杆的运动离开解佩感应开关中的第一单极霍尔元件OH44E,使解佩感应开关由常闭转为常开,第二回路断开,第一蜂鸣器不报警;当电动自行车熄火时,2.4G无线遥控模块失电并停止发射指令信号,无线单路遥控开关检测到指令信号中断后恢复为常开,第二回路断开,驾驶员戴或不戴安全头盔,第一蜂鸣器都不报警。
上述电动自行车安全头盔正确佩戴双警示系统,第二蜂鸣器与解扣感应开关、佩戴感应开关、电源电连接,构成第三回路,所述佩戴感应开关由安全头盔壳体、弹簧、推杆、衬垫、摇杆、第二单极霍尔元件OH44E以及第一磁铁组成,所述解扣感应开关由卷轴器、第一系带、系扣、第二磁铁、第三单极霍尔元件OH44E以及第二系带组成,所述第三回路的通断与电动自行车的启动或运行状态无关,当驾驶员戴安全头盔时,其头部顶压推杆推动摇杆,使内置于摇杆中的第一磁铁随摇杆运动,当推杆受到安全头盔衬垫限位时,第一磁铁正好正对靠近佩戴感应开关中的第二单极霍尔元件OH44E,使佩戴感应开关由常开转为常闭,同时,驾驶员系扣未插时,卷轴器将第一系带回收的同时将内置于系扣插销柄中的第二磁铁拉近正对解扣感应开关中的第三单极霍尔元件OH44E,使解扣感应开关处于常闭,第三回路通电,第二蜂鸣器报警;当驾驶员戴着安全头盔时,第一磁铁正对靠近第二单极霍尔元件OH44E,佩戴感应开关为常闭,同时,驾驶员插好系扣时,系扣插销插在系扣插座中,连接系扣插座的第二系带长度有限,使得系扣插销柄中的第二磁铁与解扣感应开关中的第三单极霍尔元件OH44E分离,使解扣感应开关由常闭转为常开,第三回路断开,第二蜂鸣器不报警;当驾驶员不戴安全头盔时,一端连接在安全头盔壳体顶部内侧的弹簧恢复自然伸长状态,推动连接在弹簧另一端的推杆推动摇杆运动,使内置于摇杆中的第一磁铁随摇杆运动离开佩戴感应开关中的第二单极霍尔元件OH44E,使佩戴感应开关恢复常开,第三回路断开,插或不插系扣,第二蜂鸣器都不报警。
上述电动自行车安全头盔正确佩戴双警示系统,遥控钥匙模块与系扣开关、电源串联连接,构成第四回路,所述系扣开关由系扣插销和系扣插座组成,系扣插销与系扣插销柄连接,系扣插销柄与第一系带连接,第一系带与卷轴器连接,系扣插座与第二系带连接,当驾驶员将系扣插销插入系扣插座时,系扣开关由常开转为常闭,第四回路通电,遥控钥匙模块得电可以使用。
上述电动自行车安全头盔正确佩戴双警示系统,电源、遥控钥匙模块、无线单路遥控开关、第一蜂鸣器、第二蜂鸣器、解佩感应开关、佩戴感应开关、卷轴器设置于安全头盔中;解扣感应开关设置于安全头盔及其系扣中;系扣开关设置于系扣中;遥控钥匙模块按键设置于安全头盔外侧;安全头盔中的无线单路遥控开关的对频按键设置在安全头盔内侧;电动自行车中的2.4G无线遥控模块的对频按键外置于电动自行车表盘。
上述电动自行车安全头盔正确佩戴双警示系统,所述2.4G无线遥控模块、电动自行车的蓄电池及电动自行车电源开关之间采用导线连接;所述无线单路遥控开关、第一蜂鸣器、第一单极霍尔元件OH44E及电源之间采用导线连接;所述第二蜂鸣器、第二单极霍尔元件OH44E、第三单极霍尔元件OH44E及电源之间采用导线连接;所述遥控钥匙模块、系扣插座及电源之间采用导线连接;所述导线内置于安全头盔之及其系带中。
本实用新型的有益效果是:通过将遥控钥匙与安全头盔结合设计,使驾驶员将安全头盔系扣插好后,才能接通遥控钥匙模块电路,才能使用遥控钥匙功能;将无线单路遥控开关、第一蜂鸣器、解佩感应开关及电源电连接,当电动自行车启动和运行时,2.4G无线遥控模块控制无线单路遥控开关闭合,同时,如果驾驶员不戴安全头盔,就会使解佩感应开关闭合,无线单路遥控开关和解佩感应开关同时闭合,第一蜂鸣器得电报警;将第二蜂鸣器、解扣感应开关、佩戴感应开关及电源电连接,当驾驶员戴着安全头盔时,佩戴感应开关闭合,同时,如果驾驶员未插好系扣,就会使解扣感应开关闭合,佩戴感应开关和解扣感应开关同时闭合,第二蜂鸣器得电报警,从而真正有效地强制驾驶员驾驶电动自行车时,必须携带安全头盔,并且戴好安全头盔,同时插好系扣。
附图说明
下面结合附图和实施例对本实用新型进一步说明。
图1为第一回路、第二回路、第三回路、第四回路原理图;
图2为第一回路、第二回路、第三回路、第四回路连接示意图;
图3为安全头盔侧面局剖示意图;
图4为解佩感应开关、佩戴感应开关结构示意图;
图5为安全头盔正面局剖示意图;
图6为解扣感应开关结构示意图;
图7为系扣开关结构示意图。
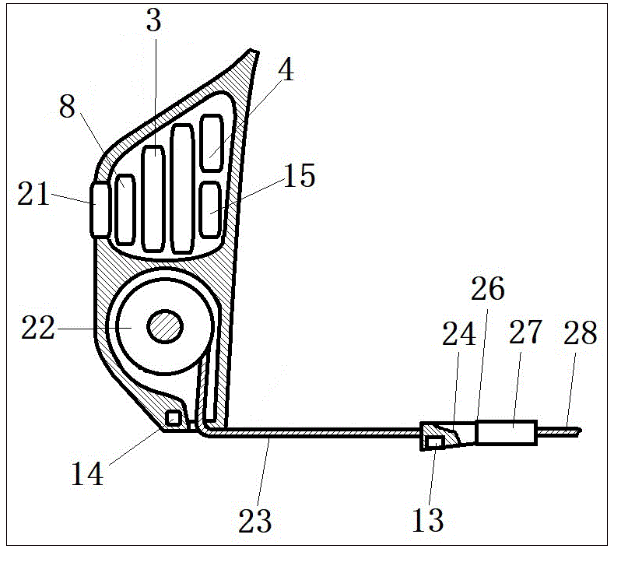
图中1.电源开关,2.2.4G无线遥控模块,3.无线单路遥控开关,4.第一蜂鸣器,5.解佩感应开关,6.佩戴感应开关,7.系扣开关,8.遥控钥匙模块,9.解扣感应开关,10.第一单极霍尔元件OH44E,11.第一磁铁,12.第二单极霍尔元件OH44E,13.第二磁铁,14.第三单极霍尔元件OH44E,15.第二蜂鸣器,16.衬垫,17.安全头盔壳体,18.弹簧,19.推杆,20.摇杆,21.按键,22.卷轴器,23.第一系带,24.系扣插销柄,25.系扣插销,26.系扣,27.系扣插座,28.第二系带。
具体实施方式
如图1-图7所示,本实用新型的一种电动自行车安全头盔正确佩戴双警示系统,包括2.4G无线遥控模块2、无线单路遥控开关3、解佩感应开关5、佩戴感应开关6、系扣开关7、遥控钥匙模块8、解扣感应开关9、卷轴器22,2.4G无线遥控模块2安装于电动自行车内,与电动自行车的蓄电池以及电源开关1串联连接,构成第一回路,当驾驶员启动和驾驶电动自行车时,电源开关1处于闭合,第一回路通电,2.4G无线遥控模块2得电,2.4G无线遥控模块2得电后与内置于安全头盔内的无线单路遥控开关3之间通过对频相互连接;得电的2.4G无线遥控模块2连续发射指令信号给无线单路遥控开关3,无线单路遥控开关3检测到连续的指令信号后由常开转为常闭;当电动自行车熄火时,电源开关1处于断开,2.4G无线遥控模块2失电并停止发射指令信号,无线单路遥控开关3检测到指令信号中断后恢复为常开。
本实例中,无线单路遥控开关3与第一蜂鸣器4、解佩感应开关5、电源电连接,构成第二回路,当无线单路遥控开关3处于常闭,同时,驾驶员不戴安全头盔时,连接在安全头盔壳体17顶部内侧的弹簧18处于自然伸长状态,连接在弹簧18另一端的推杆19固定摇杆20的一端,使内置于摇杆20另一端中的第一磁铁11正对靠近解佩感应开关5中的第一单极霍尔元件OH44E10,使解佩感应开关5处于常闭,第二回路通电,第一蜂鸣器4报警;当无线单路遥控开关3处于常闭,同时,驾驶员戴安全头盔时,其头部顶压推杆19推动摇杆20运动,使内置于与摇杆20中的第一磁铁11随摇杆20的运动离开解佩感应开关5中的第一单极霍尔元件OH44E10,使解佩感应开关5由常闭转为常开,第二回路断开,第一蜂鸣器4不报警;当驾驶员断开电源开关1,使电动自行车熄火时,2.4G无线遥控模块2失电并停止发射指令信号,无线单路遥控开关3检测到指令信号中断后恢复为常开,第二回路断开,驾驶员戴或不戴安全头盔,第一蜂鸣器4都不报警。
本实例中,第二蜂鸣器15与佩戴感应开关6、解扣感应开关9、电源电连接,构成第三回路,佩戴感应开关6由安全头盔壳体17、弹簧18、推杆19、衬垫16、摇杆20、第二单极霍尔元件OH44E12以及第一磁铁11组成,解扣感应开关9由卷轴器22、第一系带23、系扣26、第二磁铁13、第三单极霍尔元件OH44E14以及第二系带28组成,第三回路的通断与电动自行车的启动或运行状态无关,当驾驶员戴安全头盔时,其头部顶压推杆19推动摇杆20,使内置于摇杆20中的第一磁铁11随摇杆20运动,当推杆19受到安全头盔衬垫16限位时,第一磁铁11正好正对靠近佩戴感应开关6中的第二单极霍尔元件OH44E12,使佩戴感应开关6由常开转为常闭,同时,驾驶员系扣26未插时,卷轴器22将第一系带23回收的同时将内置于系扣插销柄24中第二磁铁13拉近正对解扣感应开关9中的第三单极霍尔元件OH44E14,使解扣感应开关9处于常闭,第三回路通电,第二蜂鸣器15报警;当驾驶员戴着安全头盔时,第一磁铁11正对靠近第二单极霍尔元件OH44E12,佩戴感应开关6为常闭,同时,驾驶员插好系扣26时,系扣插销25插在系扣插座27中,连接系扣插座27的第二系带28长度有限,使得系扣插销柄24中的第二磁铁13与解扣感应开关9中的第三单极霍尔元件OH44E14分离,使解扣感应开关9由常闭转为常开,第三回路断开,第二蜂鸣器15不报警;当驾驶员不戴安全头盔时,一端连接在安全头盔壳体17顶部内侧的弹簧18恢复自然伸长状态,推动连接在弹簧18另一端的推杆19推动摇杆20运动,使内置于摇杆20中的第一磁铁11随摇杆20的运动离开佩戴感应开关6中的第二单极霍尔元件OH44E12,使佩戴感应开关6恢复常开,第三回路断开,插或不插系扣26,第二蜂鸣器15都不报警。
本实例中,遥控钥匙模块8与系扣开关7、电源串联连接,构成第四回路,系扣开关7由系扣插销25和系扣插座27组成,系扣插销25与系扣插销柄24连接,系扣插销柄24与第一系带23连接,第一系带23与卷轴器22连接,系扣插座27与第二系带28连接,当驾驶员将系扣插销25插入系扣插座27时,系扣开关7由常开转为常闭,第四回路通电,遥控钥匙模块8得电可以使用。
本实例中,电源、遥控钥匙模块8、无线单路遥控开关3、第一蜂鸣器4、第二蜂鸣器15、解佩感应开关5、佩戴感应开关6、卷轴器22设置于安全头盔中;解扣感应开关9设置于安全头盔及其系扣26中;第三单极霍尔元件OH44E14内置于安全头盔中,位于第一系带23出口旁;系扣开关7设置于系扣26中;遥控钥匙模块按键21设置于安全头盔外侧;安全头盔中的无线单路遥控开关3的对频按键设置在安全头盔内侧;电动自行车中的2.4G无线遥控模块2的对频按键外置于电动自行车表盘。
本实例中,2.4G无线遥控模块2、电动自行车的蓄电池及电动自行车电源开关1之间采用导线连接;所述无线单路遥控开关3、第一蜂鸣器4、第一单极霍尔元件OH44E10及电源之间采用导线连接;所述第二蜂鸣器15、第二单极霍尔元件OH44E12、第三单极霍尔元件OH44E14及电源之间采用导线连接;所述遥控钥匙模块8、系扣插座27及电源之间采用导线连接;所述导线内置于安全头盔及其系带之中。
本实用新型工作时,当电动自行车处于停止运行状态,同时,驾驶员不戴安全头盔,也未插系扣26时,遥控钥匙模块8、第一蜂鸣器4以及第二蜂鸣器15均失电;当电动自行车处于停止运行状态,同时,驾驶员戴好安全头盔,但未插系扣26时,遥控钥匙模块8和第一蜂鸣器4均失电,第二蜂鸣器15得电报警;当电动自行车处于停止运行状态,同时,驾驶员戴好安全头盔,并插好系扣26时,遥控钥匙模块8得电可使用,第一蜂鸣器4和第二蜂鸣器15均失电;当电动自行车处于停止运行状态,同时,驾驶员不戴安全头盔,但插好系扣26时,遥控钥匙模块8得电可使用,第一蜂鸣器4和第二蜂鸣器15均失电;当电动自行车处于启动运行状态,同时,驾驶员戴好安全头盔,并插好系扣26时,遥控钥匙模块8得电可使用,第一蜂鸣器4和第二蜂鸣器15均失电;当电动自行车处于启动运行状态,同时,驾驶员戴好安全头盔,但未插系扣26时,遥控钥匙模块8和第一蜂鸣器4均失电,第二蜂鸣器15得电报警;当电动自行车处于启动运行状态,同时,驾驶员不戴安全头盔,也未插系扣26时,遥控钥匙模块8和第二蜂鸣器15均失电,第一蜂鸣器4得电报警;当电动自行车处于启动运行状态,同时,驾驶员不戴安全头盔,但插好系扣26时,遥控钥匙模块8得电可使用,第一蜂鸣器4得电报警,第二蜂鸣器15失电。只有携带安全头盔并且插好系扣26才能使遥控钥匙模块8的功能;不管电动自行车是否处于启动运行状态,只要佩戴安全头盔不插系扣26,都会发出警报;只要电动自行车处于启动运行状态,只有戴好安全头盔并且插好系扣26,才不会发出警报,从而达到了强制驾驶员正确佩戴安全头盔的目的。
以上所述,仅为本实用新型的具体实施方式,但本实用新型的保护范围并不局限于此,本实用新型除了可应用于电动自行车,还可应用于摩托车,本实用新型中采用的传感和遥控的技术路径,可被相同专业领域内其他等效或具有类似目的的替代路径加以替换,任何不经过创造性劳动想到的变化或替换,都应涵盖在本实用新型的保护范围之内因此,本实用新型的保护范围应该以权利要求书所限定的保护范围为准。





