名称:具有刹车功能的万向脚轮
专利号:202521121402.7
专利权人:曹雪均
技术领域
本实用新型属于脚轮技术领域,具体涉及一种具有刹车功能的万向脚轮。
背景技术
如人们所知,前述具有刹车功能的万向脚轮的用途十分广泛,例如可用于医用病床、手术台、医疗推车、工装车、物流行业的物品周转车、仓储笼、牛奶车、物流台车及货架、购物车、展示架、办公家具、档案柜、大型家电如洗衣机、冰箱、各类可移动性的运动器材如跑步机,等等等等,不胜枚举。前述刹车的功用可起到防止非正常的意外位移、保障安全、精确定位控制、便于对主体部分的维护与检修,等等。
已有技术中的具有刹车功能的万向脚轮虽然基本上能满足对万向脚轮(也称“轮体”)制停的要求,但是存在如下欠缺:由于刹车机构是设置在轮架上的,而轮体又是通过轮轴转动地设置在轮架上的,因而在轮体改变角度乃至改向时,轮架也随之改变相应角度乃至改向。也就是说,轮体与轮架两者呈亦步亦趋角度变化关系,于是当刹车机构(也可称“制停机构”)的结构体系的刹车板随轮体转动到了难以甚至根本无法由使用者或称操作者的脚踩及的尴尬角度即尴尬位置时,若是非要刹车不可,那么只能采用以下方式处置:一是猫腰手动操作,这种以手代脚的操作模式实质上因丧失了脚刹制停功能而使操作麻烦,并且一旦操作不慎会损及操作者的肢体如损及手指以及有失卫生;二是通过反复的进退拽引而使轮体的位置对准使用者,以利使用者通过脚踩方式制停,但是这种操作方式相对麻烦,并且在不少情况下因受空间限制而无法如愿以偿而干脆受侥幸心理思想驱使而不对轮体制停,然而在这种情形下往往伴随有安全隐患,例如稍被人为不慎碰及而会出现溜滑,又如一旦地坪带有坡度并且当操作者的手松离把手等时,则会出现溜滑引起的严重后果。前述结构形式的万向脚轮存在的不足还可由CN212637031U推荐的“带刹车的万向脚轮”印证。
鉴于上述已有技术状况,有必要进行合理改进,下面将要介绍的技术方案便是在这种背景下产生的。
实用新型内容
本实用新型的任务在于提供一种有助于避免刹车机构随用于设置轮体的轮架改变角度并且能始终使其处于由使用者随时踩踏制停的位置而得以保障操作的方便性和使用中的安全性的具有刹车功能的万向脚轮。
本实用新型的任务是这样来完成的,一种具有刹车功能的万向脚轮,包括一固定座、一轮架、一轮体和一轮架轮体刹车机构,固定座在使用状态下与静态部件固定,轮架位于固定座的下部并且该轮架的上部通过轴承与固定座转动配合,轮体通过轮体销轴转动地设置在轮架的下部,特点是:所述的轮架轮体刹车机构设置在所述固定座上并且伸展到所述轴承的下方在对应于轮架与轮体的上方之间的位置与轮架连接,由轮架轮体刹车机构同时对轮架以及轮体制动或解除制动。
在本实用新型的一个具体的实施例中,在所述轮架的上部并且在对应于所述固定座朝向下的一侧固定有一轮架齿盘,在该轮架齿盘的上表面并且围绕轮架齿盘的圆周方向构成有轮架齿盘锁定齿,在轮架的左侧以纵向状态向下延伸有一轮体左枢转支承臂,而在轮架的右侧同样以纵向状态向下延伸有一轮体右枢转支承臂,轮体左枢转支承臂和轮体右枢转支承臂彼此左右对应并且相向一侧之间的空间构成为轮体探入腔,所述轮体在对应于该轮体探入腔的状态下枢转支承在轮体左枢转支承臂和轮体右枢转支承臂之间;在由设置在所述固定座上的所述轮架轮体刹车机构对所述轮架齿盘锁定齿啮合制动或解除啮合制动的同时在所述轮体探入腔内同步地对所述轮体制动或解除制动;在所述固定座上并且在对应于所述轮架齿盘锁定齿的上方的位置开设有一锁齿板让位口。
在本实用新型的另一个具体的实施例中,在所述轮体左枢转支承臂的下端开设有一轮体左枢转支承臂销轴孔,而在所述轮体右枢转支承臂的下端开设有一轮体右枢转支承臂销轴孔,所述轮体具有一轮体轴承,轮体转动地设置在轮体轴承的转动的轴承外圈上,而该轮体轴承的轮体轴承中心孔与所述轮体左枢转支承臂销轴孔、轮体右枢转支承臂销轴孔相对应,所述轮体销轴自左向右依次穿过轮体左枢转支承臂销轴孔、轮体轴承中心孔以及轮体右枢转支承臂销轴孔并且由轮体销轴末端限定螺母旋配于轮体销轴的右端端部而将轮体销轴连同轮体轴承的不转动的轴承内圈限定。
在本实用新型的又一个具体的实施例中,所述固定座的形状呈矩形的平板状或横截面形状呈口字形的方管状。
在本实用新型的再一个具体的实施例中,所述的轮架轮体刹车机构包括锁板座、摆臂、锁齿板固定座、锁齿板、锁定解锁操作板、导柱套、轮体锁定压板和轮体锁定压板复位弹簧片,锁板座固定在所述固定座背对所述轮架齿盘的一侧,该锁板座具有一对彼此左右并行的锁板座上折边,该对锁板座上折边之间的空间构成为锁板座腔,摆臂由彼此左右并行的并且相互之间由摆臂连接板连接的一对,在该摆臂朝向锁定解锁操作板的一端开设有一摆臂第一铰接孔,而摆臂朝向锁板座的一端开设有一摆臂第二铰接孔,在摆臂第一铰接孔上配设有一摆臂第一铰接销轴,而在摆臂第二铰接孔上配设有一摆臂第二铰接销轴,摆臂第一铰接销轴在对应于开设在锁定解锁操作板前端下方的锁定解锁操作板第一铰接孔的位置与锁定解锁操作板的前端下方铰接,而摆臂第二铰接销轴在对应于开设在锁板座的所述锁板座上折边的后端的锁板座上折边铰接孔的位置与所述锁板座的后端铰接,所述锁定解锁操作板的后端构成为用于供使用者的脚操作的自由端,锁齿板固定座的后端通过锁齿板固定座铰接销轴在对应于开设在锁定解锁操作板的前端上方的锁定解锁操作板第二铰接孔的位置与锁定解锁操作板的前端上方铰接,锁齿板固定座的后端下部通过锁齿板固定座铰接轴与所述锁板座的锁板座上折边铰接,锁齿板对应所述锁齿板让位口,该锁齿板的上端与锁齿板固定座的前端固定,并且与锁齿板固定座构成垂直,而在锁齿板的下端构成有用于与轮架齿盘锁定齿锁定或解除锁定的锁定板齿,导柱套与所述轴承的中央位置固定,在该导柱套的中央位置构成有一自导柱套的上端贯通至下端的导柱孔,在该导柱孔内上下位移地设置有一导柱,在该导柱的上端端面的中央位置延伸有一导柱上顶头,而下端端面的中央位置延伸有一导柱下顶头,导柱上顶头与所述锁齿板固定座朝向下的一侧接触或解除接触,导柱下顶头与所述轮体锁定压板的后端朝向上的一侧接触或解除接触,轮体锁定压板的中部左侧和右侧并且在对应位置各固定有一轮体锁定压板铰接耳,由铰接耳销轴将轮体锁定压板铰接耳与所述轮架锁接,轮体锁定压板复位弹簧片位于轮架与轮体锁定压板之间,并且该轮体锁定压板复位弹簧片的一端支承在轮架上,而另一端固定有一弹簧片定位销,该弹簧片定位销在对应于开设在轮体锁定压板上的弹簧片定位销孔的位置伸展到轮体锁定压板的下方。
在本实用新型的还有一个具体的实施例中,在所述轮架上并且在对应于所述轮体锁定压板复位弹簧片的一端的位置构成有一弹簧片支承限定缺口,所述轮体锁定压板复位弹簧片的一端支承在该弹簧片支承限定缺口内。
在本实用新型的更而一个具体的实施例中,所述导柱孔的横截面形状呈矩形,而所述导柱的横截面形状同样呈矩形。
在本实用新型的进而一个具体的实施例中,所述导柱孔的横截面形状呈圆形,而所述导柱的横截面形状同样呈圆形。
在本实用新型的又更而一个具体的实施例中,在所述轮体锁定压板的前端朝向下的一侧设置有一个或一对轮体接触凸缘。
在本实用新型的又进而一个具体的实施例中,所述的轮体接触凸缘的形状呈球冠状,并且当轮体接触凸缘的数量有一对时,则该对轮体接触凸缘形成左右间隔分布或形成前后间隔分布。
本实用新型提供的技术方案的技术效果在于:由于在克服了已有技术中的常规设计偏见的前提下将轮架轮体刹车机构设置在了作为静态部件的固定座上,因而轮体连同轮架转动至任何位置都不会对轮架轮体刹车机构的操作产生干涉影响,保障操作的方便性和使用中的安全性。
附图说明
图1为本实用新型的实施例结构图;
图2为图1的A部放大图;
图3为图1所示的摆臂的详细结构图;
图4为图1所示的轮体锁定压板的底部观察的示意图;
图5为本实用新型处于对轮体刹车制停状态的示意图。
具体实施方式
为了能够更加清楚地理解本实用新型的技术实质和有益效果,申请人在下面以实施例的方式作详细说明,但是对实施例的描述均不是对本实用新型方案的限制,任何依据本实用新型构思所作出的仅仅为形式上的而非实质性的等效变换都应视为本实用新型的技术方案范畴。
在下面的描述中凡是涉及上、下、左、右、前和后的方向性或称方位性的概念都是依据图1当前所处的位置状态为例的,因而不能将其理解为对本实用新型提供的技术方案的特别限定。
实施例1:请参见图1,示出了一固定座1、一轮架2、一轮体3和一轮架轮体刹车机构4,固定座1在使用状态下与静态部件固定,轮架2位于固定座1的下部并且该轮架2的上部通过轴承5如压力轴承与固定座1转动配合,轮体3通过轮体销轴31转动地设置在轮架2的下部,特征在于:前述的轮架轮体刹车机构4设置在前述固定座1上并且伸展到前述轴承5的下方在对应于轮架2与轮体3的上方之间的位置与轮架2连接,由轮架轮体刹车机构4同时对轮架2以及轮体3制动或解除制动。
申请人需要说明的是:上面提到的静态部件是指在使用状态下与使用对象物固定的部件,这里所讲的使用对象物如申请人在上面的背景技术栏中提及的医用病床、手术台、医疗推车、工装车、物流行业的物品周转车、仓储笼、牛奶车、物流台车、货架、购物车、展示架、办公家具、档案柜、洗衣机、冰箱、运动器材如跑步机等等、等等设置的腿部。
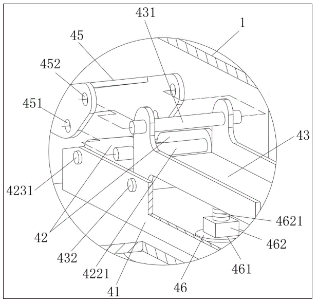
请继续见图1,在前述轮架2的上部并且在对应于前述固定座1朝向下的一侧固定有一轮架齿盘21,在该轮架齿盘21的上表面并且围绕轮架齿盘21的圆周方向构成有轮架齿盘锁定齿211,在轮架2的左侧以纵向状态向下延伸有一轮体左枢转支承臂22,而在轮架2的右侧同样以纵向状态向下延伸有一轮体右枢转支承臂23,轮体左枢转支承臂22和轮体右枢转支承臂23彼此左右对应并且相向一侧之间的空间构成为轮体探入腔24,前述轮体3在对应于该轮体探入腔24的状态下枢转支承在轮体左枢转支承臂22和轮体右枢转支承臂23之间;在由设置在前述固定座1上的前述轮架轮体刹车机构4对前述轮架齿盘锁定齿211啮合制动或解除啮合制动的同时在前述轮体探入腔24内同步地对前述轮体3制动或解除制动;在前述固定座1上并且在对应于前述轮架齿盘锁定齿211的上方的位置开设有一锁齿板让位口11。
在前述轮体左枢转支承臂22的下端开设有一轮体左枢转支承臂销轴孔221,而在前述轮体右枢转支承臂23的下端开设有一轮体右枢转支承臂销轴孔231,前述轮体3具有一轮体轴承32,轮体3转动地设置在轮体轴承32的转动的轴承外圈上,而该轮体轴承32的轮体轴承中心孔321与前述轮体左枢转支承臂销轴孔221、轮体右枢转支承臂销轴孔231相对应,前述轮体销轴31自左向右依次穿过轮体左枢转支承臂销轴孔221、轮体轴承中心孔321以及轮体右枢转支承臂销轴孔231并且由轮体销轴末端限定螺母311旋配于轮体销轴31的右端端部而将轮体销轴31连同轮体轴承32的不转动的轴承内圈限定。由前述说明并且结合图1的示意可知:轮架轮体刹车机构4同时对轮架2以及轮体3刹车即制动。
在本实施例中,前述固定座1的横截面形状呈口字形的方管状并且还示出了用于将固定座1与前述静态部件固定的固定座螺孔12,但也可以是采用形状呈矩形的平板充当固定座1。
请继续见图1并且参见图2至图3,前述的轮架轮体刹车机构4包括锁板座41、摆臂42、锁齿板固定座43、锁齿板44、锁定解锁操作板45、导柱套46、轮体锁定压板47和轮体锁定压板复位弹簧片48,锁板座41优选以焊接方式固定在前述固定座1背对前述轮架齿盘21的一侧即固定在固定座1的底壁朝向上的一侧,该锁板座41具有一对彼此左右并行的锁板座上折边,该对锁板座上折边之间的空间构成为锁板座腔411,摆臂42由彼此左右并行的并且相互之间由摆臂连接板421连接的一对,在该摆臂42朝向锁定解锁操作板45的一端开设有一摆臂第一铰接孔422,而摆臂42朝向锁板座41的一端开设有一摆臂第二铰接孔423,在摆臂第一铰接孔422上配设有一摆臂第一铰接销轴4221,而在摆臂第二铰接孔423上配设有一摆臂第二铰接销轴4231,摆臂第一铰接销轴4221对应于开设在锁定解锁操作板45前端的锁定解锁操作板第一铰接孔451的位置与锁定解锁操作板45的前端下方铰接,而摆臂第二铰接销轴4231对应于开设在锁板座41的前述锁板座上折边的后端的锁板座上折边铰接孔的位置与前述锁板座41的后端铰接,前述锁定解锁操作板45的后端构成为用于供使用者的脚操作的自由端,锁齿板固定座43的后端通过锁齿板固定座铰接销轴431在对应于开设在锁定解锁操作板45的前端上方的锁定解锁操作板第二铰接孔452的位置与锁定解锁操作板45的前端上方铰接,锁齿板固定座43的后端下部通过锁齿板固定座铰接轴432与前述锁板座41的锁板座上折边铰接,锁齿板44对应前述锁齿板让位口11,该锁齿板44的上端与锁齿板固定座43的前端固定,并且与锁齿板固定座43构成垂直,而在锁齿板44的下端构成有用于与轮架齿盘锁定齿211锁定或解除锁定的锁定板齿441,导柱套46与前述轴承5的中央位置固定,在该导柱套46的中央位置构成有一自导柱套46的上端贯通至下端的导柱孔461,在该导柱孔461内上下位移地设置有一导柱462,在该导柱462的上端端面的中央位置延伸有一导柱上顶头4621,而下端端面的中央位置延伸有一导柱下顶头4622,导柱上顶头4621与前述锁齿板固定座43朝向下的一侧接触或解除接触,导柱下顶头4622与前述轮体锁定压板47的后端朝向上的一侧接触或解除接触,轮体锁定压板47的中部左侧和右侧并且在对应位置各固定有一轮体锁定压板铰接耳471,由铰接耳销轴4711在对应于开设在轮体锁定压板铰接耳471上的铰接耳销轴孔4712的位置将轮体锁定压板铰接耳471与前述轮架2锁接,轮体锁定压板复位弹簧片48位于轮架2与轮体锁定压板47之间,并且该轮体锁定压板复位弹簧片48的一端支承在轮架2上,而另一端固定有一弹簧片定位销481,该弹簧片定位销481在对应于开设在轮体锁定压板47上的弹簧片定位销孔472的位置伸展到轮体锁定压板47的下方。
由图1所示,在前述轮架2上并且在对应于前述轮体锁定压板复位弹簧片48的一端的位置构成有一弹簧片支承限定缺口212,前述轮体锁定压板复位弹簧片48的一端支承在该弹簧片支承限定缺口212内。
由图1和图2所示,前述导柱孔461的横截面形状呈矩形,而前述导柱462的横截面形状同样呈矩形。
请参见图4,在前述轮体锁定压板47的前端朝向下的一侧设置有一个轮体接触凸缘473。
在本实施例中,前述的轮体接触凸缘473的形状呈球冠状。并且作为另一种实施方式而可将轮体接触凸缘473的数量择用一对,在该情况下,一对轮体接触凸缘473形成左右间隔分布或形成前后间隔分布。
请参见图5,申请人结合图1至图5描述本实用新型的使用,以本实用新型应用于医疗推车为例,由于固定座1是与作为静态部件的医疗推车的后支承腿的下方固定的,因而在操作者推行过程中,轮架轮体刹车机构4处于对轮架2及轮体3的非制停即非刹车状态,在该状态下,前述锁定解锁操作板45后端处于向上翘起的状态,锁齿板44的锁齿板齿441处于与轮架齿盘锁定齿211的分离状态,同时由于轮体锁定压板复位弹簧片48的作用而使轮体锁定压板47处于向上离开轮体3的状态,也就是说,图4所示的轮体接触凸缘473处于离开轮体3的状态。
当由操作者将医疗推车推行至目的地而需要可靠停车时,那么由操作者凭借脚将锁定解锁操作板45的后端向下踩,由锁定解锁操作板45带动摆臂42,当摆臂42的前端下行(即向下摆动)并越过拐点(从最高位置向下降低)时,则由摆臂42推动锁齿板固定座43并使锁齿板固定座43的前端连同锁齿板44下行,也就是说,锁齿板44在锁齿板让位口11的位置向下位移,锁齿板齿441便与轮架齿盘锁定齿211啮合,使轮架2无法转动。与此同时,在锁齿板固定座43下行的过程推动导柱上顶头4621,使导柱462下行,由导柱下顶头4622顶推轮体锁定压板47,在克服轮体锁定压板复位弹簧片48的反力下,使轮体锁定压板47对轮体3制动。具体而言,使图4所示的轮体接触凸缘473与轮体3接触并施加合理的力而使轮体3处于静止状态。当使解除锁定即取消刹车时,那么操作者只要用脚将锁定解锁操作板45的后端轻松地向上抬一下,轮架轮体刹车机构4则按前述相反过程而解除对轮架2以及轮体3的双双锁定。在解除锁定的过程中,由于轮体锁定压板复位弹簧片48将先前的储能状态变为释放能量的状态,从而能在瞬间使轮体锁定压板47回复至与轮体3非接触的分离复位状态。
实施例2:前述导柱孔461的横截面形状呈圆形,而前述导柱462的横截面形状同样呈圆形,其余均同对实施列1的描述。
综上所述,本实用新型提供的技术方案弥补了已有技术中的缺憾,顺利地完成了发明任务,如实地兑现了申请人在上面的技术效果栏中载述的技术效果。



