名称:镉镍蓄电池降温箱
专利号:202520647685.2
专利权人:柳忠男
技术领域
本实用新型涉及电池降温技术领域,具体为镉镍蓄电池降温箱。
背景技术
镉镍蓄电池是一种碱性蓄电池,镉镍蓄电池不仅具有平稳的工作电压,足够的机械强度,长期的使用寿命;放电倍率高;同时还具有低温性能好;使用温度范围宽,耐过充电、过放电等特点。
在正常的镉镍蓄电池维护保养过程中,充电、放电各循环一次,电瓶充一次电在6-8小时之间。充电过程中每30min测量一次电解液的温度其应不超过40度,并且不能将装配气塞完全取下使注液口完全敞开,以免电瓶吸入灰尘和杂质,造成碳酸盐含量增高影响蓄电池的性能。
夏天室内温度在18-25度之间,电瓶放电温度在35-40度以上,电温度过高对镉镍蓄电池的使用寿命将产生不良影响,而仅用风扇风力对镉镍蓄电池进行散热只是带走镉镍蓄电池的表面热量,降温效率较低,并且吹风会容易使镉镍蓄电池内在测量时进入灰尘和杂质,会使电瓶理面极板硫化结晶脱落而形成颗粒,降低电寿使用寿命,为此提出镉镍蓄电池降温箱。
实用新型内容
本实用新型旨在至少解决现有技术中存在的技术问题之一。
为此,本实用新型的一个目的在于提出镉镍蓄电池降温箱,该镉镍蓄电池降温箱可以提高对镉镍蓄电池的降温效率,加快降温速度,并且保持镉镍蓄电池在充放电时的充电环境洁净度。
为实现上述目的,本实用新型提供如下技术方案:镉镍蓄电池降温箱,包括:壳体,所述壳体的内部固定连接有隔板,所述隔板将所述壳体分隔为左腔室和右腔室;盖板,所述盖板固定连接于所述壳体上;两个铝板,两个所述铝板均固定连接于所述壳体左腔室内部,两个所述铝板的外部均安装有两个半导体电子制冷器;两个通风格栅,两个所述通风格栅均固定连接于所述壳体左腔室内部;两组进风风扇,两组所述进风风扇分别固定连接于所述壳体的内部两侧,所述壳体的外部开设有多个进风口和多个出风口,所述进风口和所述出风口均与所述壳体左腔室内部相连通;温度检测器,所述温度检测器安装于所述壳体右腔室内部,所述温度检测器的传感器端贯穿所述隔板且位于所述壳体左腔室内部;进电插座,所述进电插座安装于所述壳体的外部,所述隔板位于左腔室的一侧安装有充电插座,所述进电插座与所述充电插座电性连接。
优选的,所述壳体右腔室安装有供电电源,所述隔板位于右腔室的一侧安装有控制板,所述供电电源与所述控制板电性连接,所述壳体的外部安装有电源输入插头和开关按钮,所述电源输入插头和所述开关按钮与所述控制板电性连接,所述供电电源与所述半导体电子制冷器和所述进风风扇电性连接。
优选的,所述壳体右腔室安装有两个排风风扇,所述壳体的外部开设有两个排风口,两个所述排风口均与所述壳体右腔室相连通。
优选的,所述盖板的内部插接有亚克力板,所述亚克力板上固定连接有两个进电插座。
优选的,两个所述铝板靠近所述通风格栅的外部均粘接有铝箔隔温棉层。
优选的,每组所述壳体的数量为两个。
与现有技术相比,本实用新型的有益效果是:
本实用新型通过设置温度检测器检测到壳体镉镍蓄电池的温度超过限定值时,控制板启动半导体电子制冷器进行制冷,半导体电子制冷器冷端朝向通风格栅,散热片散热端朝向进风风扇和进风口,铝板、隔板、亚克力板与壳体组成密闭空间,半导体电子制冷器产生的冷风对镉镍蓄电池进行降温,进风风扇对半导体电子制冷器的散热端进行风冷降温,然后通过出风口排出,够提高对镉镍蓄电池的降温效率,加快降温速度,并且保持镉镍蓄电池在充放电时的充电环境洁净度。
附图说明
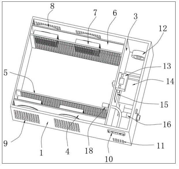
图1为本实用新型的镉镍蓄电池降温箱的结构示意图;
图2为本实用新型的镉镍蓄电池降温箱中电源输入插头的结构示意图;
图3为本实用新型的镉镍蓄电池降温箱中铝板的结构示意图。
图中:1、壳体;2、盖板;3、隔板;4、铝板;5、通风格栅;6、铝箔隔温棉层;7、半导体电子制冷器;8、进风风扇;9、进风口;10、进电插座;11、排风口;12、排风风扇;13、温度检测器;14、供电电源;15、控制板;16、电源输入插头;17、开关按钮;18、充电插座;19、亚克力板;20、出风口。
具体实施方式
下面将结合本实用新型实施例中的附图,对本实用新型实施例中的技术方案进行清楚、完整地描述,显然,所描述的实施例仅仅是本实用新型一部分实施例,而不是全部的实施例。基于本实用新型中的实施例,本领域普通技术人员在没有做出创造性劳动前提下所获得的所有其他实施例,都属于本实用新型保护的范围。
请参阅图1-图3,本实用新型的实施例提供了镉镍蓄电池降温箱,包括:壳体1,壳体1的内部固定连接有隔板3,隔板3将壳体1分隔为左腔室和右腔室;盖板2,盖板2固定连接于壳体1上;两个铝板4,两个铝板4均固定连接于壳体1左腔室内部,两个铝板4的外部均安装有两个半导体电子制冷器7;两个通风格栅5,两个通风格栅5均固定连接于壳体1左腔室内部;两组进风风扇8,两组进风风扇8分别固定连接于壳体1的内部两侧,壳体1的外部开设有多个进风口9和多个出风口20,进风口9和出风口20均与壳体1左腔室内部相连通;温度检测器13,温度检测器13安装于壳体1右腔室内部,温度检测器13的传感器端贯穿隔板3且位于壳体1左腔室内部;进电插座10,进电插座10安装于壳体1的外部,隔板3位于左腔室的一侧安装有充电插座18,进电插座10与充电插座18电性连接,盖板2的内部插接有亚克力板19,亚克力板19上固定连接有两个进电插座10。
在使用时,取下亚克力板19,将镉镍蓄电池放入壳体1左腔室内部,然后通进电插座10和充电插座18给镉镍蓄电池充电,然后盖上亚克力板19。
优选的,壳体1右腔室安装有供电电源14,隔板3位于右腔室的一侧安装有控制板15,供电电源14与控制板15电性连接,壳体1的外部安装有电源输入插头16和开关按钮17,电源输入插头16和开关按钮17与控制板15电性连接,供电电源14与半导体电子制冷器7和进风风扇8电性连接。
温度检测器13检测到壳体1镉镍蓄电池的温度超过限定值时,控制板15启动半导体电子制冷器7进行制冷,半导体电子制冷器7为带有半导体制冷片、散热片和风扇的设备,其冷端朝向通风格栅5,散热片散热端朝向进风风扇8和进风口9。铝板4、隔板3、亚克力板19与壳体1组成密闭空间,半导体电子制冷器7产生的冷风对镉镍蓄电池进行降温。
进风风扇8对半导体电子制冷器7的散热端进行风冷降温,然后通过出风口20排出。半导体电子制冷器7为现有技术,在市场中可以进行购买,在此不做阐述。
优选的,为了对供电电源14进行降温,壳体1右腔室安装有两个排风风扇12,壳体1的外部开设有两个排风口11,两个排风口11均与壳体1右腔室相连通。
优选的,为了隔绝半导体电子制冷器7的散热端的热量传导,两个铝板4靠近通风格栅5的外部均粘接有铝箔隔温棉层6。
优选的,每组壳体1的数量为两个。
根据上述技术方案对本方案工作步骤进行总结梳理:在使用时,取下亚克力板19,将镉镍蓄电池放入壳体1左腔室内部,然后通进电插座10和充电插座18给镉镍蓄电池充电,然后盖上亚克力板19,温度检测器13检测到壳体1镉镍蓄电池的温度超过限定值时,控制板15启动半导体电子制冷器7进行制冷,半导体电子制冷器7为带有半导体制冷片、散热片和风扇的设备,其冷端朝向通风格栅5,散热片散热端朝向进风风扇8和进风口9。铝板4、隔板3、亚克力板19与壳体1组成密闭空间,半导体电子制冷器7产生的冷风对镉镍蓄电池进行降温,进风风扇8对半导体电子制冷器7的散热端进行风冷降温,然后通过出风口20排出。
本实用新型中未涉及部分均与现有技术相同或可采用现有技术加以实现。尽管已经示出和描述了本实用新型的实施例,对于本领域的普通技术人员而言,可以理解在不脱离本实用新型的原理和精神的情况下可以对这些实施例进行多种变化、修改、替换和变型,本实用新型的范围由所附权利要求及其等同物限定。

