名称:一种中医内科用中药汤药水过滤装置
专利号:202122459558.4
专利权人:苟珍
技术领域
本实用新型涉及中医内科技术领域,具体为一种中医内科用中药汤药水过滤装置。
背景技术
医学科属。包括呼吸内科,消化内科,心血管内科,神经内科,肿瘤科,内分泌科,血液内科,传染病科等,呼吸内科:包括的疾病有感冒、肺炎、肺气肿、肺结核、支气管扩张、哮喘、肺癌、肺心病、呼吸衰竭、慢性支气管炎、气胸、肺脓肿、胸腔积液和间质性肺疾病,在中医中,经常会用到内科用中药汤水过滤装置。
但是目前市场上的内科用中药汤水过滤装置,在使用的过程中,不便于对中药进行过滤,从而影响了装置的正常使用,同时也降低了该装置的工作效率,为此我们提出了一种中医内科用中药汤药水过滤装置。
实用新型内容
本实用新型的目的在于提供一种中医内科用中药汤药水过滤装置,以解决上述背景技术中提出的问题。
为实现上述目的,本实用新型提供如下技术方案:一种中医内科用中药汤药水过滤装置,包括底座,所述底座的上表面固定安装有筒体,筒体上表面的两侧均固定安装有壳体,壳体内腔的底部固定安装有电动伸缩杆,两个电动伸缩杆的顶部通过横板固定连接,横板的底部固定安装有搅拌器。
所述筒体的内部设置有固定环,固定环的上表面设置有滤网,滤网的上表面插设有螺杆,螺杆的底部与固定环的上表面螺纹连接,筒体的一侧连通有横管,横管的表面连通有阀门。
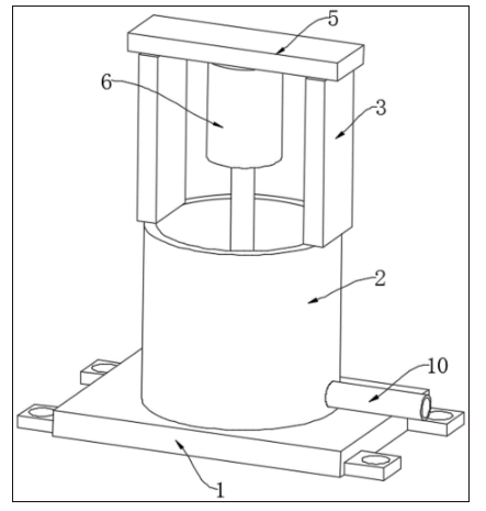
优选的,所述底座底部的四角均固定安装有固定板,固定板上开设有固定孔。
优选的,所述横板的底部与壳体的上表面接触,且壳体的上表面开设有供电动伸缩杆通过的通孔,通孔与电动伸缩杆适配。
优选的,所述螺杆的顶部固定安装有限位块,限位块的上表面固定安装有拉环,拉环的表面开设有防滑纹。
优选的,所述固定环的上表面开设有供螺杆通过的杆孔,杆孔与螺杆螺纹连接。
优选的,所述固定环的表面与筒体内壁固定连接,且筒体与固定环适配。
有益效果
本实用新型提供了一种中医内科用中药汤药水过滤装置,具备以下有益效果:
1.该中医内科用中药汤水过滤装置,通过设置固定环、滤网、螺杆、限位块和拉环配合,实现对滤网进行拆卸的目的,达到了方便对滤网进行清理更换的效果,方便了工作人员的使用,同时也提高了该装置的工作效率,保证了装置内部的清洁度。
2.该中医内科用中药汤水过滤装置,通过设置壳体、电动伸缩杆和搅拌器配合,实现对搅拌器进行调节的目的,达到了方便对中药汤水进行过滤的效果,方便了工作人员的使用,同时也提高了该装置的工作效率。
附图说明
图1为本实用新型立体结构示意图;
图2为本实用新型筒体的正剖结构示意图;
图3为本实用新型壳体的正剖结构示意图。
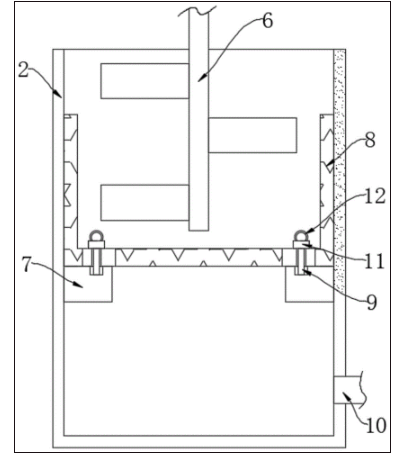
图中:1底座、2筒体、3壳体、4电动伸缩杆、5横板、6搅拌器、7固定环、8滤网、9螺杆、10横管、11限位块、12拉环。
具体实施方式
下面将结合本实用新型实施例中的附图,对本实用新型实施例中的技术方案进行清楚、完整地描述,显然,所描述的实施例仅仅是本实用新型一部分实施例,而不是全部的实施例。基于本实用新型中的实施例,本领域普通技术人员在没有做出创造性劳动前提下所获得的所有其他实施例,都属于本实用新型保护的范围。
请参阅图1-3,本实用新型提供一种技术方案:一种中医内科用中药汤药水过滤装置,包括底座1,底座1底部的四角均固定安装有固定板,固定板上开设有固定孔,底座1的上表面固定安装有筒体2,筒体2上表面的两侧均固定安装有壳体3,壳体3内腔的底部固定安装有电动伸缩杆4,两个电动伸缩杆4的顶部通过横板5固定连接,横板5的底部固定安装有搅拌器6,横板5 的底部与壳体3的上表面接触,且壳体3的上表面开设有供电动伸缩杆4通过的通孔,通孔与电动伸缩杆4适配。
设置壳体3、电动伸缩杆4和搅拌器6配合,实现对搅拌器6进行调节的目的,达到了方便对中药汤水进行过滤的效果,方便了工作人员的使用,同时也提高了该装置的工作效率。
筒体2的内部设置有固定环7,固定环7的上表面开设有供螺杆9通过的杆孔,杆孔与螺杆9螺纹连接,固定环7的表面与筒体2内壁固定连接,且筒体2与固定环7适配,固定环7的上表面设置有滤网8,滤网8的上表面插设有螺杆9,螺杆9的顶部固定安装有限位块11,限位块11的上表面固定安装有拉环12,拉环12的表面开设有防滑纹,螺杆9的底部与固定环7的上表面螺纹连接,筒体2的一侧连通有横管10,横管10的表面连通有阀门。
设置固定环7、滤网8、螺杆9、限位块11和拉环12配合,实现对滤网 8进行拆卸的目的,达到了方便对滤网8进行清理更换的效果,方便了工作人员的使用,同时也提高了该装置的工作效率,保证了装置内部的清洁度。
工作原理:当使用该装置时,通过固定板将装置固定,随后控制电动伸缩杆4上升,使搅拌器6与筒体2分离,随后将滤网8放入筒体2的内部,螺紧螺杆9将滤网8固定,随后倒入需要过滤的中药汤水,控制电动伸缩杆4 下降,随后控制搅拌器6工作,使其充分过滤,当过滤完成后,从横管10的内部放出过滤后的汤水即可。
尽管已经示出和描述了本实用新型的实施例,对于本领域的普通技术人员而言,可以理解在不脱离本实用新型的原理和精神的情况下可以对这些实施例进行多种变化、修改、替换和变型,本实用新型的范围由所附权利要求及其等同物限定。

