名称:一种中医内科用药物研磨装置
专利权人:苟珍
专利号:202321807793.9
技术领域
本实用新型涉及研磨设备技术领域,尤其涉及一种中医内科用药物研磨装置。
背景技术
中医内科药物用研磨装置主要用来研磨中医内科的各种药物,研磨充分的药物经过熬制后药效更加明显,中医内科药物用研磨装置主要分为手工研磨和机器研磨两种模式,其中手工研磨方式最为广泛。
目前,中药材多是采用人工握持电动的研磨转动头来研磨药材,研磨效率低,费时费力,同时由于人工研磨的用力不均匀导致研磨效果不同,同时缺乏前期的破碎,使得研磨需要大量的时间,十分不便。因此,本领域技术人员提供了一种中医内科用药物研磨装置,以解决上述背景技术中提出的问题。
实用新型内容
本实用新型的目的是为了解决现有技术中存在的缺点,而提出的一种中医内科用药物研磨装置,通过设置的粉碎结构进而可以达到对较大药物粉碎细化的目的,从而达到可高效研磨的目的,同时设置的研磨位置可往复移动结构进而可以达到更好的对过载药物研磨的目的,从而避免因药物过多而出现残留药物未被研磨的问题,具有更好的使用性和高效性。
为实现上述目的,本实用新型提供了如下技术方案:
一种中医内科用药物研磨装置,包括工作台,所述工作台的上端面一侧固定连接有粉碎箱,所述粉碎箱的内部靠上处固定连接有粉碎筒,所述粉碎筒的两侧内壁之间靠前后处均转动连接有转轴,两个所述转轴的外壁上均固定套设有粉碎轮,所述粉碎筒的下端面开设有多个过滤孔,所述工作台的上端面远离粉碎箱的一侧开设有研磨槽,所述研磨槽与粉碎箱之间固定连接有导料管;
所述工作台的上端面靠近研磨槽的一侧通过两个固定座固定连接有研磨驱动筒,所述研磨驱动筒的前后端内壁之间转动连接有转动杆,所述转动杆的外壁上固定套设有凸轮,所述研磨驱动筒的两侧内壁靠下处均开设有限位滑槽,两个所述限位滑槽内均滑动设置有限位滑块,两个所述限位滑块之间固定连接有滑动板,所述滑动板的下端固定连接有二号驱动电机,所述二号驱动电机的输出端固定连接有研磨轮;
通过上述技术方案,在使用时,通过将药物投放至粉碎筒内,转轴转动进而可以达到对粉碎轮转动的目的,转轴反向转动使得两个粉碎轮相反转动进而实现对药物粉碎的作用,被粉碎后的药物通过导料管进入到研磨槽内进而达到高效研磨的目的,避免因药物过大而产生的研磨效率低下以及对研磨轮损坏的问题,二号驱动电机工作带动研磨轮转动进而可以达到对放置在研磨槽内的药物快速的研磨作用,转动杆转动进而带动凸轮转动,凸轮转动与滑动板周期性抵触进而达到对二号驱动电机上下往复移动的目的,从而可以对药物在进行研磨时达到整体研磨的目的,避免因药物过多而导致研磨轮上端的药物无法被研磨的目的。
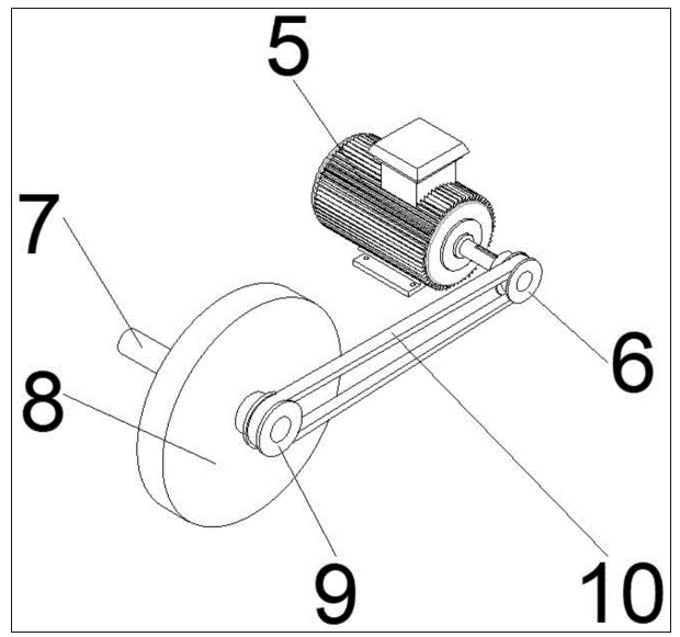
进一步地,所述工作台的上端面中部处固定连接有固定架,所述固定架的上端面固定连接有一号驱动电机,所述一号驱动电机的输出端固定连接有主动带轮,所述转动杆的外壁上固定套设有从动带轮,所述主动带轮与从动带轮的外壁上套设有传动带;
通过上述技术方案,通过一号驱动电机工作带动主动带轮转动进而通过传动带的作用带动从动带轮转动,使得转动杆转动进而带动凸轮转动,凸轮转动与滑动板周期性抵触进而达到对二号驱动电机上下往复移动的目的。
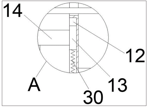
进一步地,两个所述限位滑槽的内部下端面均固定连接有复位弹簧,两个所述复位弹簧的上端均固定连接在滑动板上;
通过上述技术方案,通过复位弹簧与滑动板的固定连接进而可以达到更好的对滑动板复位移动的目的,从而达到对研磨轮往复移动的目的。
进一步地,所述工作台的一侧螺纹套设有密封套盖,所述工作台的内部开设有驱动槽,所述驱动槽与研磨槽贯通设置,所述驱动槽的一侧内壁固定设置有伸缩杆;
通过上述技术方案,通过对密封套盖的旋出,使得药物可以达到便利取出的目的,同时伸缩杆工作进而可以达到对推板移动的目的,使得推板移动带动残留药物便利出料的目的。
进一步地,所述粉碎箱的一侧外部中部靠前处固定设置有三号驱动电机,靠前端的所述转轴的一端贯穿粉碎筒和粉碎箱至外部并与三号驱动电机的输出端固定连接;
通过上述技术方案,三号驱动电机工作带动与之连接的转轴转动,进而可以达到对粉碎轮转动的目的。
进一步地,两个所述转轴的一端均贯穿粉碎筒和粉碎箱至外部并分别固定套设有主动齿轮和从动齿轮,所述主动齿轮与从动齿轮啮合设置;
通过上述技术方案,主动齿轮转动并带动与之啮合的从动齿轮转动,进而可以达到对两个转轴反向转动的目的,使得两个粉碎轮相反转动进而实现对药物粉碎的作用。
进一步地,所述粉碎筒的内部下端面固定连接有多个导向块;
通过上述技术方案,通过设置的导向块进而可以达到更好的对药物导向出料的作用。
进一步地,所述凸轮与滑动板抵触设置;
通过上述技术方案,进而可以达到更好的对滑动板往复移动的目的,具有更好的实用性。
本实用新型具有如下有益效果:
1、本实用新型提出的一种中医内科用药物研磨装置,在使用时,通过将药物投放至粉碎筒内,三号驱动电机工作带动与之连接的转轴转动,进而可以达到对粉碎轮转动的目的,同时主动齿轮转动并带动与之啮合的从动齿轮转动,进而可以达到对两个转轴反向转动的目的,使得两个粉碎轮相反转动进而实现对药物粉碎的作用,被粉碎后的药物通过导料管进入到研磨槽内进而达到高效研磨的目的,避免因药物过大而产生的研磨效率低下以及对研磨轮损坏的问题,具有更好的使用性和便利性。
2、本实用新型提出的一种中医内科用药物研磨装置,在进行研磨时,通过二号驱动电机工作带动研磨轮转动进而可以达到对放置在研磨槽内的药物快速的研磨作用,同时通过一号驱动电机工作带动主动带轮转动进而通过传动带的作用带动从动带轮转动,使得转动杆转动进而带动凸轮转动,凸轮转动与滑动板周期性抵触进而达到对二号驱动电机上下往复移动的目的,从而可以对药物在进行研磨时达到整体研磨的目的,避免因药物过多而导致研磨轮上端的药物无法被研磨的目的,具有更好的使用性和高效性。
3、本实用新型提出的一种中医内科用药物研磨装置,通过对密封套盖的旋出,使得药物可以达到便利取出的目的,同时伸缩杆工作进而可以达到对推板移动的目的,使得推板移动带动残留药物便利出料的目的,从而达到更好的使用性和便利性。
附图说明
图1为本实用新型提出的一种中医内科用药物研磨装置的正剖示意图;
图2为本实用新型提出的一种中医内科用药物研磨装置的凸轮与一号驱动电机配合连接的轴侧示意图;
图3为图1的A处结构的放大示意图;
图4为图1的B处结构的放大示意图;
图5为本实用新型提出的一种中医内科用药物研磨装置的粉碎筒的俯剖示意图。
图例说明:
1、工作台;2、固定座;3、研磨驱动筒;4、固定架;5、一号驱动电机;6、主动带轮;7、转动杆;8、凸轮;9、从动带轮;10、传动带;11、二号驱动电机;12、限位滑槽;13、限位滑块;14、滑动板;15、研磨轮;16、研磨槽;17、驱动槽;18、伸缩杆;19、密封套盖;20、粉碎箱;21、转轴;22、粉碎轮;23、粉碎筒;24、导向块;25、过滤孔;26、导料管;27、三号驱动电机;28、从动齿轮;29、主动齿轮;30、复位弹簧。
具体实施方式
下面将结合本实用新型实施例中的附图,对本实用新型实施例中的技术方案进行清楚、完整地描述,显然,所描述的实施例仅仅是本实用新型一部分实施例,而不是全部的实施例。基于本实用新型中的实施例,本领域普通技术人员在没有做出创造性劳动前提下所获得的所有其他实施例,都属于本实用新型保护的范围。
参照图1-5,本实用新型提供的一种实施例:一种中医内科用药物研磨装置,包括工作台1,工作台1的上端面一侧固定连接有粉碎箱20,粉碎箱20的内部靠上处固定连接有粉碎筒23,粉碎筒23的两侧内壁之间靠前后处均转动连接有转轴21,粉碎箱20的一侧外部中部靠前处固定设置有三号驱动电机27,靠前端的转轴21的一端贯穿粉碎筒23和粉碎箱20至外部并与三号驱动电机27的输出端固定连接,通过上述技术方案,三号驱动电机27工作带动与之连接的转轴21转动,进而可以达到对粉碎轮22转动的目的,两个转轴21的一端均贯穿粉碎筒23和粉碎箱20至外部并分别固定套设有主动齿轮29和从动齿轮28,主动齿轮29与从动齿轮28啮合设置,通过上述技术方案,主动齿轮29转动并带动与之啮合的从动齿轮28转动,进而可以达到对两个转轴21反向转动的目的,使得两个粉碎轮22相反转动进而实现对药物粉碎的作用,两个转轴21的外壁上均固定套设有粉碎轮22,粉碎筒23的下端面开设有多个过滤孔25,粉碎筒23的内部下端面固定连接有多个导向块24,通过上述技术方案,通过设置的导向块24进而可以达到更好的对药物导向出料的作用,工作台1的上端面远离粉碎箱20的一侧开设有研磨槽16,研磨槽16与粉碎箱20之间固定连接有导料管26,工作台1的一侧螺纹套设有密封套盖19,工作台1的内部开设有驱动槽17,驱动槽17与研磨槽16贯通设置,驱动槽17的一侧内壁固定设置有伸缩杆18,通过上述技术方案,通过对密封套盖19的旋出,使得药物可以达到便利取出的目的,同时伸缩杆18工作进而可以达到对推板移动的目的,使得推板移动带动残留药物便利出料的目的;
工作台1的上端面靠近研磨槽16的一侧通过两个固定座2固定连接有研磨驱动筒3,研磨驱动筒3的前后端内壁之间转动连接有转动杆7,转动杆7的外壁上固定套设有凸轮8,工作台1的上端面中部处固定连接有固定架4,固定架4的上端面固定连接有一号驱动电机5,一号驱动电机5的输出端固定连接有主动带轮6,转动杆7的外壁上固定套设有从动带轮9,主动带轮6与从动带轮9的外壁上套设有传动带10,通过上述技术方案,通过一号驱动电机5工作带动主动带轮6转动进而通过传动带10的作用带动从动带轮9转动,使得转动杆7转动进而带动凸轮8转动,凸轮8转动与滑动板14周期性抵触进而达到对二号驱动电机11上下往复移动的目的,研磨驱动筒3的两侧内壁靠下处均开设有限位滑槽12,两个限位滑槽12内均滑动设置有限位滑块13,两个限位滑块13之间固定连接有滑动板14,两个限位滑槽12的内部下端面均固定连接有复位弹簧30,两个复位弹簧30的上端均固定连接在滑动板14上,通过上述技术方案,通过复位弹簧30与滑动板14的固定连接进而可以达到更好的对滑动板14复位移动的目的,从而达到对研磨轮15往复移动的目的,凸轮8与滑动板14抵触设置,通过上述技术方案,进而可以达到更好的对滑动板14往复移动的目的,具有更好的实用性,滑动板14的下端固定连接有二号驱动电机11,二号驱动电机11的输出端固定连接有研磨轮15。
工作原理:在使用时,通过将药物投放至粉碎筒23内,三号驱动电机27工作带动与之连接的转轴21转动,进而可以达到对粉碎轮22转动的目的,同时主动齿轮29转动并带动与之啮合的从动齿轮28转动,进而可以达到对两个转轴21反向转动的目的,使得两个粉碎轮22相反转动进而实现对药物粉碎的作用,被粉碎后的药物通过导料管26进入到研磨槽16内进而达到高效研磨的目的,避免因药物过大而产生的研磨效率低下以及对研磨轮15损坏的问题,在进行研磨时,通过二号驱动电机11工作带动研磨轮15转动进而可以达到对放置在研磨槽16内的药物快速的研磨作用,同时通过一号驱动电机5工作带动主动带轮6转动进而通过传动带10的作用带动从动带轮9转动,使得转动杆7转动进而带动凸轮8转动,凸轮8转动与滑动板14周期性抵触进而达到对二号驱动电机11上下往复移动的目的,从而可以对药物在进行研磨时达到整体研磨的目的,避免因药物过多而导致研磨轮15上端的药物无法被研磨的目的,通过对密封套盖19的旋出,使得药物可以达到便利取出的目的,同时伸缩杆18工作进而可以达到对推板移动的目的,使得推板移动带动残留药物便利出料的目的。
最后应说明的是:以上所述仅为本实用新型的优选实施例而已,并不用于限制本实用新型,尽管参照前述实施例对本实用新型进行了详细的说明,对于本领域的技术人员来说,其依然可以对前述各实施例所记载的技术方案进行修改,或者对其中部分技术特征进行等同替换,凡在本实用新型的精神和原则之内,所作的任何修改、等同替换、改进等,均应包含在本实用新型的保护范围之内。



