名称:一种自动化臭豆腐点浆水质调控装置及方法
专利号:202510241333.1
专利权人:何智贵
技术领域
本发明属于食品加工技术领域,具体为一种自动化臭豆腐点浆水质调控装置及方法。
背景技术
随着食品加工技术的发展,臭豆腐的生产工艺也在不断改进。然而,现有的方法在实际生产中仍存在一些问题。例如,现有的臭豆腐生产工艺在点浆过程中通常依赖人工操作,难以实现水质的精准调控,导致产品的质量和口感不稳定。此外,传统工艺中对水质的调控多依赖经验,缺乏科学的参数和自动化手段,生产效率较低。
经检索,公开了公开号为CN114617228B的一种利用竹笋发酵酸水制作风味臭豆腐的方法,公开日期为2023-08-22。该方法通过将竹笋和水进行厌氧发酵,得到酸水,并在豆腐坯制作过程中利用酸水进行点浆。虽然这种方法简化了生产工艺,减少了传统臭豆腐制作中需要将豆腐坯单独浸泡卤水进行发酵的步骤,但其依然依赖于人工操作,且难以实现酸水水质的精准调控,导致产品质量和口感的一致性较差。
经检索,公开了公开号为CN105613784B的一种南方臭豆腐卤水发酵液的稳态快速发酵方法,公开日期为2016-11-30。该方法通过将新鲜蔬菜汁、增香汁和肉味液混合,加入白豆腐及豆腐黄浆水,并接入多种发酵菌进行控温发酵,得到卤水发酵液。虽然这种方法能够制得营养成分丰富、臭味浓郁的卤水发酵液,且质量稳定,适合规模化标准化生产,但其工艺复杂,对水质的控制依赖于经验,缺乏实时监测和自动化调控手段,导致生产效率低下且产品质量难以保证。
上述问题表明,现有的臭豆腐生产工艺在点浆水质调控方面存在明显的不足,难以满足现代食品工业对高效、精准和自动化生产的要求。因此,本发明提供一种自动化臭豆腐点浆水质调控装置及方法,以克服这些不足并提供更加智能、高效且适应多变环境的新型解决方案。本发明通过引入自动化调控系统,能够实时监测点浆水质的各项参数,并根据预设标准自动调整,从而确保产品的质量和口感的一致性,提升生产效率。
发明内容
本发明提供了一种自动化臭豆腐点浆水质调控装置及方法,解决了现有臭豆腐生产工艺中点浆水质难以精准调控、依赖人工操作、缺乏科学参数和自动化手段、生产效率低、产品质量和口感不稳定等问题。本发明旨在提供一种更加智能、高效且适应多变环境的新型解决方案,以有效提高臭豆腐生产的质量和效率。
本发明解决上述技术问题所采用的技术方案是:一种自动化臭豆腐点浆水质调控装置及方法,包括主控单元、水质监测模块、水质调控模块、配方配比模块、数据存储单元和用户接口模块,所述的主控单元与水质监测模块、水质调控模块、配方配比模块、数据存储单元和用户接口模块电连接;水质监测模块包括pH值传感器、电导率传感器、温度传感器和浊度传感器,水质调控模块包括搅拌装置、加药装置、加热装置和冷却装置,配方配比模块包括轻质碳酸钙储罐、氯化镁储罐、氯化钾储罐和氯化钙储罐,数据存储单元用于存储水质监测数据和配方参数,用户接口模块包括操作面板和显示屏幕。
所述的主控单元包括中央处理器、数据总线、信号收发器和电源管理模块,中央处理器通过数据总线与数据存储单元连接,用于存储和处理水质监测模块采集的数据,并根据预设的算法和逻辑判断水质状况并发出相应的指令;信号收发器与中央处理器连接,用于接收和发送指令信号;电源管理模块与中央处理器连接,用于管理和分配电源模块提供的电力。
所述的水质监测模块安装在点浆水存储罐的关键位置,pH值传感器用于检测水质的pH值;电导率传感器用于检测水质的电导率;温度传感器用于检测水质的温度;浊度传感器用于检测水质的浊度。上述传感器实时采集的数据通过信号收发器传输至主控单元,由中央处理器进行分析处理。
所述的水质调控模块中,搅拌装置安装在点浆水存储罐内部,用于均匀混合水质;加药装置包括轻质碳酸钙加药泵、氯化镁加药泵、氯化钾加药泵和氯化钙加药泵,分别与轻质碳酸钙储罐、氯化镁储罐、氯化钾储罐和氯化钙储罐连接,加热装置安装在点浆水存储罐外部,用于加热水质;冷却装置安装在点浆水存储罐外部,用于冷却水质。当中央处理器判断水质需要调节时,通过信号收发器发出启动水质调控模块的指令,搅拌装置启动,加药装置根据配方配比模块的指令加入相应的药剂,加热装置或冷却装置根据需要启动,调节水质的温度。
所述的配方配比模块中,轻质碳酸钙储罐、氯化镁储罐、氯化钾储罐和氯化钙储罐分别储存轻质碳酸钙、氯化镁、氯化钾和氯化钙,各储罐通过管道与加药装置连接,中央处理器根据预设的配方参数,通过信号收发器发送指令给加药装置,控制各药剂的加入量。轻质碳酸钙储罐的容量为200g,氯化镁储罐的容量为180g,氯化钾储罐的容量为180g,氯化钙储罐的容量为30g,兑水180kg。
所述的数据存储单元用于存储水质监测模块采集的数据和配方配比模块的配方参数,中央处理器通过数据总线读取和写入数据存储单元中的数据,用于历史数据分析和配方参数的调整。
所述的用户接口模块中,操作面板包括按钮和触摸屏,用于用户输入操作指令和参数设置;显示屏幕用于显示水质监测数据、配方参数和操作状态。用户通过操作面板输入点浆水的pH值、电导率、温度和浊度的目标值,中央处理器根据用户输入的目标值,通过信号收发器发送指令给水质调控模块,调节水质各项参数。
优选的,在水质调控模块中,还包括智能自适应调控系统,智能自适应调控系统包括调控算法模块和多参数联动控制单元。调控算法模块与中央处理器连接,用于根据水质监测数据生成调控指令;多参数联动控制单元与调控算法模块和水质调控模块连接,用于协调搅拌装置、加药装置、加热装置和冷却装置的联动控制,确保水质的各项参数符合预设标准。调控算法模块采用模糊逻辑控制算法,能够根据水质的实时变化动态调整调控指令,提高调控的精准性和响应速度。多参数联动控制单元通过总线与各装置连接,实现同步控制,确保各装置之间的协同工作。
优选的,在水质监测模块中,还包括智能温湿度补偿系统,智能温湿度补偿系统包括温湿度补偿传感器和数据校正模块。温湿度补偿传感器安装在点浆水存储罐的关键位置,用于实时监测环境温湿度的变化;数据校正模块与中央处理器连接,用于根据温湿度变化对水质监测数据进行校正,提高传感器数据的准确性和可靠性。温湿度补偿传感器的测量范围为0℃至40℃,0%至100%RH,精度为±0.5℃和±3%RH。数据校正模块通过算法对传感器数据进行实时修正,确保在不同环境条件下传感器的准确性。
优选的,在用户接口模块中,还包括远程监控系统,远程监控系统包括无线通信模块和远程终端。无线通信模块与中央处理器连接,用于通过无线网络与远程终端进行数据通信;远程终端用于远程监控水质状况和操作状态,用户可以通过远程终端实时查看水质监测数据、配方参数和操作状态,并远程输入操作指令和参数设置。无线通信模块支持多种通信协议,包括Wi-Fi、4G和5G,确保远程监控的稳定性和可靠性。远程终端可以是智能手机、平板电脑或计算机,用户通过专用应用程序进行远程操作。
智能自适应调控系统与水质调控模块通过多参数联动控制单元连接,与主控单元通过调控算法模块和信号收发器连接,实时接收中央处理器的指令,调整水质的pH值、电导率、温度和浊度。智能温湿度补偿系统与水质监测模块通过温湿度补偿传感器连接,与主控单元通过数据校正模块连接,实时监测和校正环境温湿度数据。远程监控系统与主控单元通过无线通信模块连接,与远程终端通过网络连接,实现水质状况和操作状态的远程监控和控制。
本发明的结构组成、实现方式和运行原理为:
智能自适应调控系统:调控算法模块根据水质监测数据生成调控指令,并通过信号收发器发送给多参数联动控制单元,多参数联动控制单元协调搅拌装置、加药装置、加热装置和冷却装置的联动控制,确保水质的各项参数符合预设标准。当水质的pH值、电导率、温度和浊度发生变化时,调控算法模块通过模糊逻辑控制算法动态调整调控指令,提高调控的精准性和响应速度。
水质调控模块:搅拌装置启动后,通过均匀混合水质,确保各药剂的充分溶解和分布;加药装置根据配方配比模块的指令,通过加药泵加入适量的轻质碳酸钙、氯化镁、氯化钾和氯化钙,调节水质的各项参数;加热装置和冷却装置根据需要启动,通过加热或冷却水质,调节水质的温度。多参数联动控制单元通过总线实现各装置之间的同步控制,确保各装置之间的协同工作。
智能温湿度补偿系统:温湿度补偿传感器实时监测环境温湿度的变化,并将数据反馈给中央处理器,数据校正模块根据环境温湿度的变化,对水质监测数据进行校正,提高传感器数据的准确性和可靠性。中央处理器根据校正后的数据,通过信号收发器发送指令给水质调控模块,调整水质的各项参数,确保在不同环境条件下都能实现最佳的水质调控效果。
远程监控系统:无线通信模块与中央处理器连接,通过无线网络与远程终端进行数据通信,用户可以通过远程终端实时查看水质监测数据、配方参数和操作状态,并远程输入操作指令和参数设置。远程终端通过专用应用程序进行远程操作,用户可以在任何时间、任何地点进行水质状况和操作状态的远程监控和控制,提高生产的灵活性和管理效率。
配方配比模块:轻质碳酸钙加药泵、氯化镁加药泵、氯化钾加药泵和氯化钙加药泵分别与轻质碳酸钙储罐、氯化镁储罐、氯化钾储罐和氯化钙储罐连接,中央处理器根据预设的配方参数,通过信号收发器发送指令给加药泵,控制各药剂的加入量,确保水质的各项参数符合预设标准。轻质碳酸钙的加入量为200g,氯化镁的加入量为180g,氯化钾的加入量为180g,氯化钙的加入量为30g,兑水180kg。
本发明的有益效果:
智能自适应调控系统能够在水质参数发生变化时,通过模糊逻辑控制算法动态调整调控指令,确保水质的pH值、电导率、温度和浊度符合预设标准,显著提高了水质调控的精准性和响应速度。
水质调控模块通过多参数联动控制单元协调搅拌装置、加药装置、加热装置和冷却装置的联动控制,确保各装置之间的协同工作,提高了水质调控的稳定性和可靠性。
远程监控系统通过无线通信模块与远程终端进行数据通信,用户可以通过远程终端实时查看水质状况和操作状态,远程输入操作指令和参数设置,提高了生产的灵活性和管理效率。
附图说明
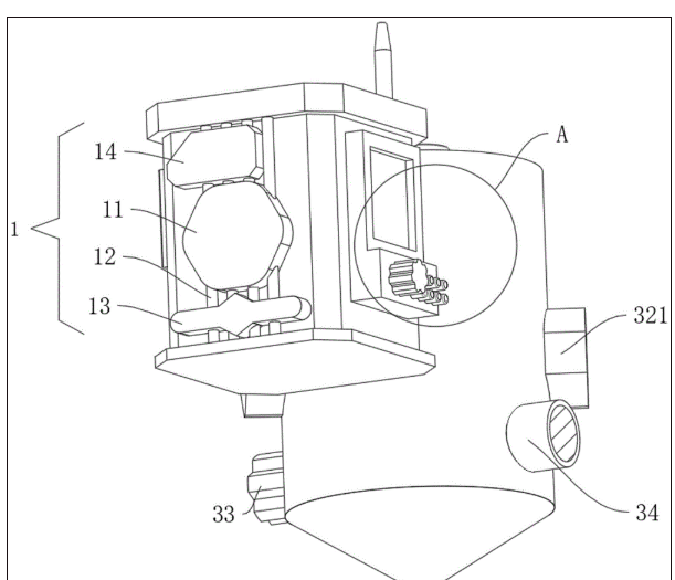
图1是本发明自动化臭豆腐点浆水质调控装置的整体结构示意图一;
图2是本发明图1中A处细节放大结构示意图;
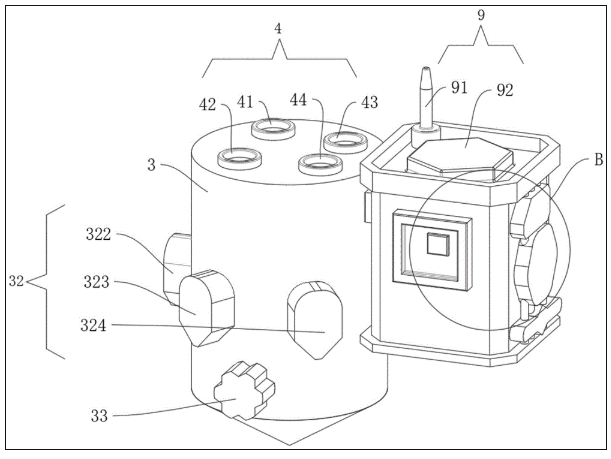
图3是本发明的整体结构示意图二;
图4是本发明图3中B处细节放大结构示意图;
图5是本发明的整体结构示意图三;
图6是本发明图5中C处细节放大结构示意图;
图7是本发明的整体结构示意图四;
图8是本发明图7中D处细节放大结构示意图。
图中:1、主控单元;11、中央处理器;12、数据总线;13、信号收发器;14、电源管理模块;2、水质监测模块;21、pH值传感器;22、电导率传感器;23、温度传感器;24、浊度传感器;3、水质调控模块;31、搅拌装置;32、加药装置;321、轻质碳酸钙加药泵;322、氯化镁加药泵;323、氯化钾加药泵;324、氯化钙加药泵;33、加热装置;34、冷却装置;4、配方配比模块;41、轻质碳酸钙储罐;42、氯化镁储罐;43、氯化钾储罐;44、氯化钙储罐;5、数据存储单元;6、用户接口模块;61、操作面板;62、显示屏幕;7、智能自适应调控系统;71、调控算法模块;72、多参数联动控制单元;8、智能温湿度补偿系统;81、温湿度补偿传感器;82、数据校正模块;9、远程监控系统;91、无线通信模块;92、远程终端。
具体实施方式
为了使本发明实现的技术手段、创作特征、达成目的与功效易于明白了解,下面结合具体实施方式,进一步阐述本发明。
参阅图1至图8,一种自动化臭豆腐点浆水质调控装置及方法,包括主控单元1、水质监测模块2、水质调控模块3、配方配比模块4、数据存储单元5和用户接口模块6,所述的主控单元1与水质监测模块2、水质调控模块3、配方配比模块4、数据存储单元5和用户接口模块6电连接。主控单元1包括中央处理器11、数据总线12、信号收发器13和电源管理模块14,中央处理器11通过数据总线12与数据存储单元5连接,用于存储和处理水质监测模块2采集的数据,并根据预设的算法和逻辑判断水质状况并发出相应的指令;信号收发器13与中央处理器11连接,用于接收和发送指令信号;电源管理模块14与中央处理器11连接,用于管理和分配电源模块提供的电力。
水质监测模块2安装在点浆水存储罐的关键位置,包括pH值传感器21、电导率传感器22、温度传感器23和浊度传感器24。pH值传感器21用于检测水质的pH值;电导率传感器22用于检测水质的电导率;温度传感器23用于检测水质的温度;浊度传感器24用于检测水质的浊度。上述传感器实时采集的数据通过信号收发器13传输至主控单元1,由中央处理器11进行分析处理。
水质调控模块3包括搅拌装置31、加药装置32、加热装置33和冷却装置34。搅拌装置31安装在点浆水存储罐内部,用于均匀混合水质;加药装置32包括轻质碳酸钙加药泵321、氯化镁加药泵322、氯化钾加药泵323和氯化钙加药泵324,分别与轻质碳酸钙储罐41、氯化镁储罐42、氯化钾储罐43和氯化钙储罐44连接。加热装置33安装在点浆水存储罐外部,用于加热水质;冷却装置34安装在点浆水存储罐外部,用于冷却水质。当中央处理器11判断水质需要调节时,通过信号收发器13发出启动水质调控模块3的指令,搅拌装置31启动,加药装置32根据配方配比模块4的指令加入相应的药剂,加热装置33或冷却装置34根据需要启动,调节水质的温度。
配方配比模块4包括轻质碳酸钙储罐41、氯化镁储罐42、氯化钾储罐43和氯化钙储罐44,分别储存轻质碳酸钙、氯化镁、氯化钾和氯化钙。各储罐通过管道与加药装置32连接,中央处理器11根据预设的配方参数,通过信号收发器13发送指令给加药装置32,控制各药剂的加入量。轻质碳酸钙储罐41的容量为200g,氯化镁储罐42的容量为180g,氯化钾储罐43的容量为180g,氯化钙储罐44的容量为30g,兑水180kg。
数据存储单元5用于存储水质监测模块2采集的数据和配方配比模块4的配方参数,中央处理器11通过数据总线12读取和写入数据存储单元5中的数据,用于历史数据分析和配方参数的调整。
用户接口模块6包括操作面板61和显示屏幕62。操作面板61包括按钮和触摸屏,用于用户输入操作指令和参数设置;显示屏幕62用于显示水质监测数据、配方参数和操作状态。用户通过操作面板61输入点浆水的pH值、电导率、温度和浊度的目标值,中央处理器11根据用户输入的目标值,通过信号收发器13发送指令给水质调控模块3,调节水质各项参数。
优选的,在水质调控模块3中,还包括智能自适应调控系统7,智能自适应调控系统7包括调控算法模块71和多参数联动控制单元72。调控算法模块71与中央处理器11连接,用于根据水质监测数据生成调控指令;多参数联动控制单元72与调控算法模块71和水质调控模块3连接,用于协调搅拌装置31、加药装置32、加热装置33和冷却装置34的联动控制,确保水质的各项参数符合预设标准。调控算法模块71采用模糊逻辑控制算法,能够根据水质的实时变化动态调整调控指令,提高调控的精准性和响应速度。多参数联动控制单元72通过总线与各装置连接,实现同步控制,确保各装置之间的协同工作。
优选的,在水质监测模块2中,还包括智能温湿度补偿系统8,智能温湿度补偿系统8包括温湿度补偿传感器81和数据校正模块82。温湿度补偿传感器81安装在点浆水存储罐的关键位置,用于实时监测环境温湿度的变化;数据校正模块82与中央处理器11连接,用于根据温湿度变化对水质监测数据进行校正,提高传感器数据的准确性和可靠性。温湿度补偿传感器81的测量范围为0℃至40℃,0%至100%RH,精度为±0.5℃和±3%RH。数据校正模块82通过算法对传感器数据进行实时修正,确保在不同环境条件下传感器的准确性。
优选的,在用户接口模块6中,还包括远程监控系统9,远程监控系统9包括无线通信模块91和远程终端92。无线通信模块91与中央处理器11连接,用于通过无线网络与远程终端92进行数据通信;远程终端92用于远程监控水质状况和操作状态,用户可以通过远程终端92实时查看水质监测数据、配方参数和操作状态,并远程输入操作指令和参数设置。无线通信模块91支持多种通信协议,包括Wi-Fi、4G和5G,确保远程监控的稳定性和可靠性。远程终端92可以是智能手机、平板电脑或计算机,用户通过专用应用程序进行远程操作。
智能自适应调控系统7与水质调控模块3通过多参数联动控制单元72连接,与主控单元1通过调控算法模块71和信号收发器13连接,实时接收中央处理器11的指令,调整水质的pH值、电导率、温度和浊度。智能温湿度补偿系统8与水质监测模块2通过温湿度补偿传感器81连接,与主控单元1通过数据校正模块82连接,实时监测和校正环境温湿度数据。远程监控系统9与主控单元1通过无线通信模块91连接,与远程终端92通过网络连接,实现水质状况和操作状态的远程监控和控制。
本发明的结构组成、实现方式和运行原理为:
智能自适应调控系统:调控算法模块71根据水质监测数据生成调控指令,并通过信号收发器13发送给多参数联动控制单元72,多参数联动控制单元72协调搅拌装置31、加药装置32、加热装置33和冷却装置34的联动控制,确保水质的各项参数符合预设标准。当水质的pH值、电导率、温度和浊度发生变化时,调控算法模块71通过模糊逻辑控制算法动态调整调控指令,提高调控的精准性和响应速度。
水质调控模块:搅拌装置31启动后,通过均匀混合水质,确保各药剂的充分溶解和分布;加药装置32根据配方配比模块4的指令,通过加药泵加入适量的轻质碳酸钙、氯化镁、氯化钾和氯化钙,调节水质的各项参数;加热装置33和冷却装置34根据需要启动,通过加热或冷却水质,调节水质的温度。多参数联动控制单元72通过总线实现各装置之间的同步控制,确保各装置之间的协同工作。
智能温湿度补偿系统:温湿度补偿传感器81实时监测环境温湿度的变化,并将数据反馈给中央处理器11,数据校正模块82根据环境温湿度的变化,对水质监测数据进行校正,提高传感器数据的准确性和可靠性。中央处理器11根据校正后的数据,通过信号收发器13发送指令给水质调控模块3,调整水质的各项参数,确保在不同环境条件下都能实现最佳的水质调控效果。
远程监控系统:无线通信模块91与中央处理器11连接,通过无线网络与远程终端92进行数据通信,用户可以通过远程终端92实时查看水质监测数据、配方参数和操作状态,并远程输入操作指令和参数设置。远程终端92通过专用应用程序进行远程操作,用户可以在任何时间、任何地点进行水质状况和操作状态的远程监控和控制,提高生产的灵活性和管理效率。
配方配比模块:轻质碳酸钙加药泵321、氯化镁加药泵322、氯化钾加药泵323和氯化钙加药泵324分别与轻质碳酸钙储罐41、氯化镁储罐42、氯化钾储罐43和氯化钙储罐44连接。中央处理器11根据预设的配方参数,通过信号收发器13发送指令给加药泵,控制各药剂的加入量,确保水质的各项参数符合预设标准。轻质碳酸钙的加入量为200g,氯化镁的加入量为180g,氯化钾的加入量为180g,氯化钙的加入量为30g,兑水180kg。
本发明的有益效果:
智能自适应调控系统能够在水质参数发生变化时,通过模糊逻辑控制算法动态调整调控指令,确保水质的pH值、电导率、温度和浊度符合预设标准,显著提高了水质调控的精准性和响应速度。
水质调控模块通过多参数联动控制单元协调搅拌装置、加药装置、加热装置和冷却装置的联动控制,确保各装置之间的协同工作,提高了水质调控的稳定性和可靠性。
远程监控系统通过无线通信模块与远程终端进行数据通信,用户可以通过远程终端实时查看水质状况和操作状态,远程输入操作指令和参数设置,提高了生产的灵活性和管理效率。
以上显示和描述了本发明的基本原理、主要特征和优点。本行业的技术人员应该了解,本发明不受上述实施例的限制,上述实施方式和说明书中的描述的只是说明本发明的原理,在不脱离本发明精神和范围的前提下,本发明还会有各种变化和改进,这些变化和改进都落入本发明要求保护的范围内。本发明要求保护范围由所附的权利要求书及其等效物界定。



