名称:消音井盖
专利号:202420376323.X
专利权人:李宁
技术领域
本实用新型涉及一种消音井盖,属于井盖安装技术领域。
背景技术
井盖是用于遮盖道路上深井的设施,其主要功能是防止人或者物体坠落。在城市工程建设中,井盖扮演着重要的角色,它通常采用圆形设计,因为圆形井盖在承受压力时能够更好地分散负载,不易变形或破裂。
目前市场上的复合井盖确实存在一些问题,如井盖与底座的贴合不紧,导致车辆经过时产生噪音。为了解决这些问题,目前市面上通过增加防滑、防震设计,从而消除井盖和底座产生的碰撞,具体是在井盖的底座和井盖之间增加一层防滑材料,如橡胶或高分子材料,以增加摩擦力,防止井盖滑动。同时,也可以在井盖和底座之间加入减震材料,以减少车辆压过时产生的噪音。现有公开号为CN218861610U中国实用新型专利,包括盖座,盖座上设置相适配盖板,盖座上端设置罩板,盖板与盖座之间设置L形的消音圈,消音圈外圈直径与盖板外圈直径相同设置,盖板设置在消音圈上端,盖座内圈设置向上突起的定位环,定位环与盖座和盖板的安装面之间形成环形容纳腔,L形设置的消音圈反扣在环形容纳腔中,消音圈一面与定位环上端面贴合。
发明人在实现本申请技术方案的过程中,发现现有技术中至少存在如下技术问题:
在长时间使用后,盖板的外圆面容易与盖座之间产生摩擦碰撞,采用全部隔开的垫片(如公开号为CN1364963中国发明专利),如果要使垫片和井盖或底座贴合紧密,从而达到消除井盖和底座产生的碰撞,需要垫片略大一点,会导致垫片不容易安装和定位。
实用新型内容
本实用新型要解决的技术问题是:克服现有技术的不足,提供一种消音井盖,完全阻隔盖板与盖座,同时方便安装。
本实用新型所述的消音井盖,包括盖座上安装有相适配盖板,盖板与盖座之间加装有阻隔盖板与盖座直接接触的消音垫,消音垫包括至少一个用于安装的锥面,消音垫还包括至少一个用于自身安装定位的环形安装部。
进一步地,锥面设置为内锥面,盖板的外圆面开设有与内锥面相适配的外锥面。
进一步地,环形安装部为设置在消音垫下端的环形凸台,环形凸台可安装到盖座上开设的环形槽中。
进一步地,还包括设置于盖座外圈的调平机构,调平机构用于调整盖座的水平高度。
进一步地,调平机构包括用于支撑盖座且使盖座能保持水平的调整螺钉,盖座外圈设有用于容纳螺钉的容纳孔。
进一步地,还包括盖座下端安装有定位座,定位座下端设有定位筒。
进一步地,定位筒的外圆表面设有锥形安装面。
与现有技术相比,本实用新型的有益效果是:
本实用新型消音垫完全阻隔盖板与盖座,消音垫的锥面与盖板的外圆面配合,方便盖板的安装,消音垫的环形安装部与盖座配合,方便消音垫的定位安装,利用消音垫使盖座以及盖板完全阻隔,减少了井盖与底座的碰撞和摩擦,大大减少了噪音的产生。
调平机构包括用于支撑盖座且使盖座能保持水平的调整螺钉,盖座外圈设有用于容纳螺钉的容纳孔,通过调整螺钉的高度,可以调整盖座的水平高度,使盖板能够更好的适应路面的高度变化,从而减少车轮在碾压时,造成的冲击。
定位座下端设有定位筒,定位筒的外圆表面设有锥形安装面,使得定位座能够更好的安装在井口,定位筒能够避免井口的施工材料进入井中,同时避免井边缘在施工过程中的损伤。
附图说明
图1是本实用新型实施例1的结构示意图;
图2是图1中A-A处全剖视图;
图3是图1中B-B处全剖视图;
图4是图3中C处局部放大图;
图中:
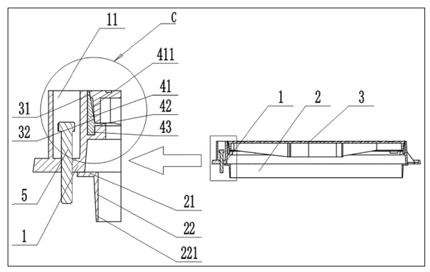
1、盖座;11、容纳孔;
2、定位座;21、圆环板;22、定位筒;221、锥形安装面;
3、盖板;31、外锥面;
4、消音垫;41、内锥面;42、垫片;43、环形安装部;
5、调平机构。
具体实施方式
实施例1
如图1~图4所示,本实用新型所述的消音井盖,包括盖座1上安装有相适配盖板3,盖板3与盖座1之间加装有阻隔盖板3与盖座1直接接触的消音垫4,消音垫4包括至少一个用于安装的锥面,消音垫4还包括至少一个用于自身安装定位的环形安装部43;消音垫一侧设有用于阻隔盖板3与盖座1上下端面接触的垫片42。
锥面41设置为内锥面41,盖板3的外圆面开设有与内锥面41相适配的外锥面31,将消音垫4安装到盖座1上后,可将盖板3直接放入到消音垫4中,通过内锥面41避免了盖板3下端与消音垫上端产生干预,从而方便了盖板3的安装。
环形安装部43为设置在消音垫4下端的环形凸台,环形凸台可安装到盖座1上开设的环形槽中,增加了消音垫4在盖座1内的稳定性。
还包括设置于盖座1外圈的调平机构5,调平机构5用于调整盖座1的水平高度,使盖板3能够更好的适应路面的高度变化。
调平机构5包括用于支撑盖座1且使盖座1能保持水平的调整螺钉,盖座1外圈设有用于容纳螺钉的容纳孔11,调整螺钉在盖座1四周均匀安装至少三个,通过从容纳孔11中对调整螺钉进行调整,从而对应调整盖座1的水平高度,使消音井盖整体能够更好的适应路面的高度变化,防止因为路面和消音井盖不在一个平面上而发出的噪音。
还包括盖座1下端安装有定位座2,定位座2下端设有定位筒22,定位筒22能够避免井口的施工材料进入井中,同时避免井边缘在施工过程中的损伤;定位座2上包括用于安装的圆环板21,用于通过连接件往盖座1下端连接。
定位筒22的外圆表面设有锥形安装面221,方便往井口内安装。
工作过程或工作原理:
消音垫4完全阻隔盖板3与盖座1,消音垫4的锥面31与盖板的外圆面配合,方便盖板的安装,消音垫4的环形安装部43与盖座1配合,方便消音垫4的定位安装,利用消音垫4使盖座1以及盖板3完全阻隔,减少了井盖与底座的碰撞和摩擦,大大减少了噪音的产生。
本实用新型中对结构的方向以及相对位置关系的描述,如前后左右上下的描述,不构成对本实用新型的限制,仅为描述方便。


