名称:植物益生菌核梯度冰封体及其AI智造系统及其制备设备
专利号:202510828887.1
专利权人:马云龙
技术领域
本发明涉及功能性冰封体技术领域,具体为植物益生菌核梯度冰封体及其AI智造系统及其制备设备。
背景技术
益生菌作为对人体健康具有积极影响的活性微生物,在调节肠道菌群、提升免疫力等方面发挥着重要作用,已广泛应用于各类保健品和功能性食品中。近年来,为了满足消费者对天然、健康产品的需求,将益生菌与花果植物实体、草本植物萃取精华等天然植物成分相结合,开发出具有复合功效的创新产品,已成为行业发展的新趋势。通过采用冷冻技术,这些功能性成分能够被封装在冰封体中,既延长了产品的保质期,又提供了独特的食用体验。
然而,现有技术在制备此类结合益生菌与植物成分的功能性冰封体时,普遍面临着严峻的挑战。传统工艺往往难以有效应对低温环境下益生菌的存活率问题,活性益生菌在加工和储存过程中极易受到损伤。此外,将多种功能成分整合到单一产品中,尤其是在多层结构设计方面,现有技术常出现层间融合度不佳、各成分协同作用受限的状况。这些不足导致产品的功能性成分生物利用度不高,且冰封体的整体稳定性与功效发挥受到影响,难以充分发挥其预期效益。
发明内容
针对现有技术的不足,本发明提供了植物益生菌核梯度冰封体及其AI智造系统及其制备设备,解决了现传统功能性冰封体产品中益生菌活性在低温环境下存活率低以及多层结构融合度差、活性成分功效协同性不足的问题。
为实现以上目的,本发明通过以下技术方案予以实现:植物益生菌核梯度冰封体,包括核层、梯度层和封装层,所述核层包括以下质量份数的组分材料:
益生菌0.05-0.5份;
植物乳杆菌DSM-217620.07-0.48份;
胶原蛋白肽0.5-4.0份;
花果植物实体7-30份
所述梯度层包括以下质量份数的组分材料:
草本植物萃取精华固形物:5-20份;
益生元:0.1-1.5份;
所述封装层包括以下质量份数的组分材料:
AI优化水基凝胶60-85份
稳定剂与功能辅料:0.1-1.5份;
优选的,所述花果植物实体包括但不限于可食用花、水果和可食用草本植物,所述可食用花、水果和可食用草本植物形态包括完整、切块和切片。
优选的,所述梯度层采用3D打印的萃取冰层,用于包裹草本植物萃取精华固形物和益生元。
优选的,所述草本植物萃取精华固形物包括但不限于茶叶、积雪草和薄荷的纳米粉碎萃取物,所述纳米粉碎萃取物的颗粒粒径不超过100nm。
优选的,所述胶原蛋白肽为平均分子量1000-3000Da的鱼胶原蛋白肽、牛胶原蛋白肽、猪胶原蛋白肽、酵母充足胶原蛋白肽和植物基胶原蛋白肽,选用任意一项或者其组合皆可。
优选的,所述稳定剂与功能辅料包括L-抗坏血酸和精氨酸-脯氨酸-甘氨酸-脯氨酸。
优选的,所述益生菌为选自耐冻性乳杆菌属菌株,所述益生元为低聚半乳糖和低聚果糖,选用任意一项或者其组合皆可。
进一步地,核层是产品功能的核心,是主要活性成分和基础营养的承载体。它旨在将最关键的功能组分包裹在最中心,以获得最大程度的保护;
空间上的绝对核心地位:将益生菌、植物乳杆菌菌株以及易降解的胶原蛋白肽放置在最内部,这在物理上使其距离外部环境(如温度波动、氧气、光照)最远。外围的梯度层和封装层如同层层壁垒,为核层提供了天然的、最厚实的物理屏障,这是确保核心成分在长达数月的冷链储存和运输过程中保持最高活性的首要保障。
内部的微生态构建:核层内部并非简单的混合。花果植物实体在其中不仅仅提供风味,更重要的是,它们构成了多孔的三维物理支架。益生菌和胶原蛋白肽可以嵌入或附着在这个天然的骨架上,避免了在冷冻过程中因水分迁移而发生大规模团聚,形成了一个个独立的微环境。这种结构类似于自然界中的生物膜,有助于维持益生菌在休眠状态下的稳定性,并在解冻复苏时为其提供初步的定植点;
益生菌(Probiotics)与植物乳杆菌DSM-217620这两种益生菌是核层的核心功能成分。其机理在于,通过深低温冷冻技术将其置于“休眠”状态,并利用外围梯度层与封装层的双重保护,最大限度地保证其在冷冻、运输和储存过程中的存活率。当产品被食用后,益生菌在人体消化道内复苏并定植,发挥调节肠道菌群平衡、促进消化、增强免疫力等健康效益。特别是植物乳杆菌DSM-217620作为一种特定的、经过科学验证的菌株,其机理可能还包括更具针对性的功效,例如更强的耐酸、耐胆盐能力以及与肠道上皮细胞的高粘附性;
胶原蛋白肽作为一种小分子量的功能性蛋白,是核层的主要营养补充成分。其机理在于,通过先进的酶切技术将大分子胶原蛋白分解为平均分子量在1000-3000Da的肽段。这种小分子结构使其在被人体摄入后,无需经过复杂的胃肠道消化即可被高效吸收,直接为皮肤、关节和骨骼的健康提供合成原料。将其置于核层,可以有效避免其与梯度层中的某些植物提取物发生相互作用,保证其结构稳定和高生物利用度;
花果植物实体是核层的结构基质和风味来源。其机理体现在三个方面:第一,提供天然的营养与风味,作为天然维生素、矿物质、抗氧化物和膳食纤维的来源,并赋予产品独特的自然风味和香气;第二,构建物理骨架,这些实体在核层内部形成一个多孔的物理网络结构,为益生菌和胶原蛋白肽提供附着点,同时在冷冻时有助于形成更稳定的结构;第三,提升感官体验,完整的花瓣或水果切块提供了丰富的视觉美感和咀嚼时的真实口感,这是产品区别于均质化冰品的关键。
梯度层是连接核心与外壳的过渡区域,它既是功能区,也是隔离带,其设计体现了高度的精巧性;
化学隔离与避免“内部损耗”:梯度层的首要机理是化学兼容性区隔。例如,草本植物(如茶叶)的萃取物富含茶多酚等物质,这些物质具有优异的抗氧化性,但同时也可能对益生菌的活性产生抑制作用。如果将其与益生菌混合在同一层,会造成功能上的对抗与损耗。通过梯度层将它们物理隔开,既保留了草本精华的健康功效,又确保了核层益生菌的安全,避免了产品在保质期内的“内部功能损耗”。
功能上的时序协同:梯度层完美诠释了“时序营养学”的理念。益生菌(Probiotics)和益生元(Prebiotics)是一对黄金搭档,但它们的作用需要时机。在产品中,益生菌在核层“休眠”,而它的“精准口粮”——益生元则被放置在梯度层。这种空间上的分离,保证了在食用前二者不会发生相互作用。一旦产品进入人体消化道,冰封体融化,梯度层与核层几乎同时释放,益生菌“苏醒”的瞬间,益生元也恰好到达,为其在肠道内的定植和繁殖提供即时、高效的能量支持,实现了功能上的完美协同;
结构上的“抗冻外骨骼”:AI优化的水基凝胶是封装层的核心技术。其关键机理在于控制冰晶形态。在冷冻过程中,普通的水会形成巨大且不规则的针状冰晶,这对于益生菌等细胞结构是致命的,会像尖刀一样将其刺破。而经优化的水凝胶三维网络,能将水分锁定在微小的网格中,引导其形成细小、圆润的微米级冰晶。这层致密的微晶结构形成了一个坚固的“外骨骼”,不仅赋予了产品光滑的质地,更从根本上保护了内部所有生物活性物质的细胞完整性,堪称“深冷生物防护服”。
功能上的“抗氧化前哨”:稳定剂与功能辅料(如L-抗坏血酸)被部署在最外层,构成了抵御氧化的第一道防线。它们会优先与从外界渗透进来的氧气反应,保护了内部梯度层和核层中更为珍贵、更易氧化的功能成分,起到了“前哨兵”和“牺牲性保护”的作用;
草本植物萃取精华固形物是梯度层的核心功能组分,以纳米级颗粒存在。其机理在于,通过纳米粉碎技术,将茶叶、积雪草等草本植物的有效成分(如茶多酚、积雪草苷等)的粒径减小至100nm以下,极大地增加了其比表面积。这导致了两个效果:一是高效溶解与吸收,在食用过程中,纳米颗粒能更快地溶解,其活性成分更易被人体吸收;二是功能隔离,将其置于梯度层,可有效避免某些具有潜在抗菌活性的植物多酚(如茶多酚)直接接触核层的高活性益生菌,防止益生菌在储存期间失活。
益生元(如低聚半乳糖)在此处的作用机理是作为益生菌的“靶向性食物”。它被巧妙地放置在梯度层,实现了空间上的隔离。这意味着在产品冷冻储存期间,益生元不会与核层的益生菌直接接触,避免了益生菌在产品内部被过早“激活”而消耗能量。当产品被食用后,益生元与益生菌一同进入肠道,此时它才能被益生菌选择性地利用,从而精准地促进核心益生菌在肠道内的增殖和生长,实现“1+1>2”的协同增效作用。
封装层是产品的最外层,是保护整个精密结构的第一道防线,决定了产品的稳定性、形态和初始口感。
AI优化水基凝胶(AI-OptimizedWater-BasedHydrogel)是构成产品外壳和整体结构的关键基材。其机理在于,通过AI算法对凝胶配方(如胶体种类、浓度、离子强度等)进行优化,设计出具有特定流变学特性和热力学特性的水凝胶体系。在冷冻过程中,这种凝胶能形成一个致密、均匀且高强度的三维网络结构。这个结构可以有效锁住水分,抑制大冰晶的形成,从而为内部的梯度层和核层提供卓越的物理保护,防止其在冷冻和运输过程中因机械应力或温度波动而受损,同时赋予产品光滑、细腻的口感;
稳定剂与功能辅料是确保产品长期品质和功能稳定性的关键。其机理各有侧重:L-抗坏血酸(维生素C)作为一种高效的抗氧化剂,其机理是主动清除体系中的自由基,保护梯度层中的草本植物精华和核层中的胶原蛋白肽等易氧化成分不被降解,维持其生物活性。精氨酸-脯氨酸-甘氨酸-脯氨酸这类特定的肽段,其机理可能是一种冷冻保护剂,通过与水分子氢键结合,干扰冰晶的正常生长,从而保护益生菌等生物活性物质的细胞结构在低温下不被冰晶刺穿,进一步增强了产品的稳定性。
由上述材料组成的冰封体,其为一种多层结果的多功能性冰块,且该冰块形状不定,可为圆形或者方形等,具体由对应模具进行决定,且其层数在2-10层,每层均有能提供独立功能性的组分组成。
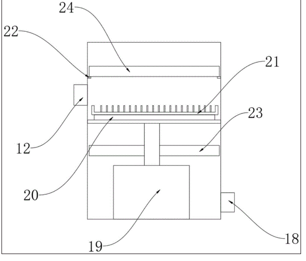
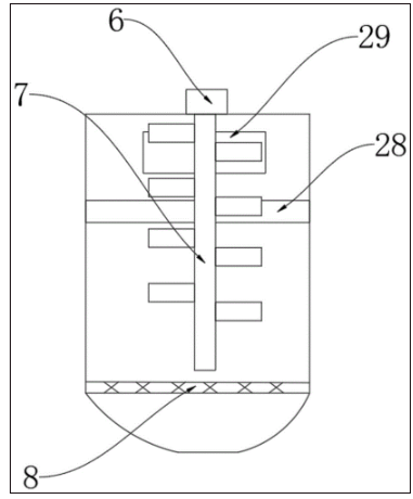
植物益生菌核梯度冰封体的AI智造系统,包括固定罐,所述固定罐呈左右对称分布,所述固定罐顶部均固定有进料口,左侧所述固定罐底部安装有过滤箱,所述过滤箱内部设置有过滤网,右侧所述固定罐与过滤箱之间设置有输送管一,右侧所述固定罐内部设置有电机,所述电机输出端固定有搅拌杆,所述搅拌杆转动在右侧所述固定罐内部,右侧所述固定罐内部设置有开关阀,右侧所述固定罐底部设置有输送管二,所述输送管二远离固定罐一端固定有梯度冷冻箱,所述梯度冷冻箱一侧固定有预存放板,所述梯度冷冻箱另一侧安装有输送带一,所述输送带一远离梯度冷冻箱一端固定有成品箱,所述成品箱顶部固定有切割箱,所述切割箱内部设置有呈网状设计的振动切刀,所述成品箱前侧固定有预存储箱,所述成品箱右侧安装有输送带二,所述固定罐内安装有AI处理器,所述固定罐内集成传感器组,所述成品箱外壁安装有多个推送组件;
所述成品箱内部设置有气缸,所述气缸输出端固定有推板一,所述推板一顶部设置有模具,所述成品箱内部固定有挡板,所述成品箱与预存储箱之间开设有出料口二,所述输送带一与成品箱之间设置有出料口一;
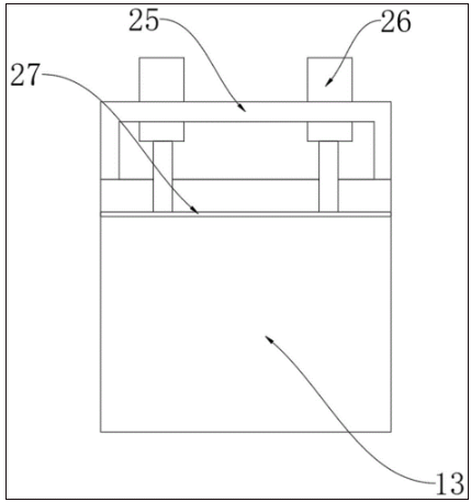
所述推送组件包括固定架,所述固定架固定在成品箱外壁,所述固定架内部设置有电动推杆,所述电动推杆输出端贯穿成品箱并固定有推板二。
植物益生菌核梯度冰封体的AI智造系统操作方法,包括以下步骤:
S1、将草本植物倒入左侧固定罐内,通过双梯度动态声空化萃取工艺制备草本植物萃取精华固形物,最后经由过滤网的过滤待核层预冷冻完成后,再准备输送至右侧固定罐;
S2、将胶原蛋白肽组合物投入右侧固定罐制备包含经稳定化处理的胶原蛋白肽的组合物;
S3、此时经稳定化处理的胶原蛋白肽组合物混合,并任选地加入益生菌和植物乳杆菌DSM-217620,通过AI处理器根据益生菌的活性数据,启动电机带动搅拌杆进行搅拌,形成核心功能层混合物,再将核心功能层混合物送入梯度冷冻箱内存放的模具中;
S4、然后确定花果植物实体自由选择切块还是完整投放,完整投放只需投入梯度冷冻箱中,切块则只需投入到切割箱中经由振动切刀进行切割即可,完整的部分则直接被投放至核心功能层混合物的位置,与其一起投放在梯度冷冻箱内,此时通过AI处理器(29)根据益生菌的活性数据,自动调整冷读初始温度,将梯度冷冻箱中预冷冻的冰块冰冻后,再连同模具一起通过输送带一输送至成品箱内;
S5、如果花果植物实体要进行切块,则将梯度冷冻箱中的核心功能层混合物连同模具一起通过输送带一输送至成品箱内,此时被切块并且分割至模具的各个格中,再通过输送带一将其整体输送回梯度冷冻箱内,在的控制下进行冷冻,再重新输送回成品箱内,最后将AI优化水基凝胶和稳定剂与功能辅料投放至与梯度冷冻的冰块模具中,最后进行最终冷冻,得到功能性果蔬草本复合萃取冰块;
S6、最后通过气缸对推板一的推动,使得模具中的冰块在遭受挡板的阻拦后被挤出,此时对应位置的电动推杆驱动推板二进行位移将挤出的冰块推入预存储箱内统一保存,之后模具位置降低,再被队友位置的推板二推动进而输送带二完成空的模具的输送。
进一步地,植物益生菌核梯度冰封体的AI智造系统,包括固定罐,所述固定罐呈左右对称分布,所述固定罐顶部均固定有进料口,左侧所述固定罐底部安装有过滤箱,所述过滤箱内部设置有过滤网,右侧所述固定罐与过滤箱之间设置有输送管一,右侧所述固定罐内部设置有电机,所述电机输出端固定有搅拌杆,所述搅拌杆转动在右侧所述固定罐内部,右侧所述固定罐内部设置有开关阀,右侧所述固定罐底部设置有输送管二,所述输送管二远离固定罐一端固定有梯度冷冻箱,所述梯度冷冻箱一侧固定有预存放板,所述梯度冷冻箱另一侧安装有输送带一,所述输送带一远离梯度冷冻箱一端固定有成品箱,所述成品箱顶部固定有切割箱,所述切割箱内部设置有呈网状设计的振动切刀,所述成品箱前侧固定有预存储箱,所述成品箱右侧安装有输送带二,所述固定罐内安装有,所述固定罐内集成,所述成品箱外壁安装有多个推送组件;
所述成品箱内部设置有气缸,所述气缸输出端固定有推板一,所述推板一顶部设置有模具,所述成品箱内部固定有挡板,所述成品箱与预存储箱之间开设有出料口二,所述输送带一与成品箱之间设置有出料口一;
所述推送组件包括固定架,所述固定架固定在成品箱外壁,所述固定架内部设置有电动推杆,所述电动推杆输出端贯穿成品箱并固定有推板二。
优选的,所述包括动态优化模块,用于根据植物益生菌核的活性数据,自动调整冷冻梯度与混合时间;
进一步地,本发明AI智造系统的核心,它集成了,能够实时监测并动态优化冰封体的制造过程。该包括一个动态优化模块,其核心功能是根据植物益生菌核的活性数据,自动调整冷冻梯度与混合时间。
集成在固定罐内部,用于实时采集与冰封体制造过程相关的各项关键数据。这些传感器包括但不限于:
温度传感器:用于监测固定罐内部的物料温度、梯度冷冻箱内的温度以及成品箱内的温度,确保冷冻过程的精确控制。
pH传感器:用于监测物料的pH值,特别是在益生菌和植物乳杆菌DSM-217620加入后的混合过程中,以确保微生物的适宜生存环境。
粘度传感器:用于监测混合物料的粘度,为搅拌杆的搅拌速度调整提供依据。
菌体活性传感器:这是动态优化模块的关键数据来源,用于实时评估益生菌和植物乳杆菌DSM-217620的活性。该传感器可以采用荧光检测、电化学阻抗法或ATP生物发光等技术,以非侵入性方式监测菌体的代谢活动和细胞完整性,从而反映其活性状态。其输出数据直接作为调整工艺参数的输入。
粒径传感器:用于监测草本植物萃取精华固形物和胶原蛋白肽的粒径,特别是确保纳米粉碎萃取物的颗粒粒径不超过100nm。
通过嵌入式系统实现,其内部运行特定的算法和模型,以实现对冰封体制造过程的智能化控制。
动态优化模块是的核心算法部分,其目标是根据益生菌的活性数据,实现冷冻梯度和混合时间的自适应调整,从而最大程度地保持益生菌的活性并优化冰封体的产品质量。该模块包含以下关键组成部分:
数据采集与预处理:从实时获取温度、pH、粘度、菌体活性、粒径等数据。对原始数据进行滤波、去噪和标准化处理,以确保数据质量和一致性。
益生菌活性评估模型:基于历史数据和预设的生物学模型,建立一个益生菌活性评估模型。该模型能够根据传感器采集的菌体活性数据,结合温度、pH等环境因素,预测益生菌在当前工艺条件下的存活率和代谢活性。
At=f(St,Tt,pHt)
其中,At代表t时刻益生菌的预测活性,St代表t时刻菌体活性传感器的原始读数,Tt代表t时刻的温度,pHt代表t时刻的pH值,f是一个基于机器学习或统计学方法建立的映射函数。
冷冻梯度优化算法:根据益生菌活性评估模型输出的实时活性数据,动态优化模块调整梯度冷冻箱和成品箱的冷冻温度曲线。其优化目标是最小化益生菌在冷冻过程中的损伤,同时确保冰封体的快速成型和稳定。
Tmin≤Tset,i≤Tmax
其中,L是一个损失函数,用于衡量益生菌活性与设定温度之间的偏差或冷冻损伤,Ai是在第i个冷冻阶段益生菌的活性Tset,i是第i个冷冻阶段的设定温度,Tmin和Tmax是冷冻温度的上下限。该优化问题可以通过强化学习、遗传算法或模型预测控制等算法求解,实时输出最优的冷冻温度设定值。
混合时间优化算法:在S3步骤中,根据益生菌的活性数据,启动电机带动搅拌杆进行搅拌。动态优化模块通过监测菌体活性和混合均匀度,实时调整搅拌时间。优化目标是确保益生菌、植物乳杆菌DSM-217620和胶原蛋白肽等组分充分混合,同时避免过度搅拌对益生菌造成剪切损伤。
minC(Mt,At)
s.t.tmix,min≤tmix,t≤tmix,max
其中,C是一个成本函数,综合考虑混合均匀度Mt和益生菌活性At,tmix,t是t时刻的混合时间,tmix,min和tmix,max是混合时间的上下限。该优化算法可以采用自适应控制或模糊逻辑控制等方法。
本发明提供了植物益生菌核梯度冰封体及其AI智造系统及其制备设备。
具备以下有益效果:
1、本发明通过独特的梯度层结构,其内包裹草本植物萃取精华固形物和益生元。这种设计不仅能有效缓释草本植物的协同功效,更能为益生菌提供优良的生长环境和营养支持。相较于缺少梯度设计的现有技术,本方案提升了冰封体中草本活性成分的生物利用度,并显著促进了益生菌在消化道中的存活与增殖。这彻底解决了现有技术中产品功能成分协同性差、功效发挥不足的困境。
2、本发明通过耐冻性乳杆菌属菌株的优选,并整合了依据益生菌活性数据动态调整冷冻条件。这种精准控制有效抵御了冷冻和解冻过程中的细胞损伤,使得益生菌在产品中保持了远超同类产品的存活率和长期稳定性。相较于现有技术仅使用普通益生菌且缺乏AI智能优化冷冻过程,本方案彻底解决了益生菌在加工和储存环节活性急剧下降的核心问题,确保了消费者摄入时益生菌的高效活性。
3、本发明通过AI智造系统,结合实时监测与动态优化算法,彻底颠覆了传统益生菌产品制造的经验主义束缚,实现了冷冻梯度与混合时间的自适应精确调控。这不仅极大提升了益生菌在冰封体中的存活率和活性,更保障了花果植物实体和草本萃取精华的功效完整性,相较于现有技术中依赖人工经验或固定参数的生产方式,本方案成功解决了益生菌活性易受损、产品品质不稳定的痛点,为消费者带来了前所未有的高活性、高品质、高稳定性的植物益生菌产品体验。
附图说明
图1为本发明的立体图;
图2为本发明的立体后视图;
图3为本发明的过滤箱内部结构示意图;
图4为本发明的右侧固定罐内部结构示意图;
图5为本发明的成品箱内部结构示意图;
图6为本发明的推送组件示意图;
图7为本发明的制备方法步骤示意图。
其中,1、固定罐;2、过滤箱;3、进料口;4、过滤网;5、输送管一;6、电机;7、搅拌杆;8、开关阀;9、输送管二;10、梯度冷冻箱;11、预存放板;12、输送带一;13、成品箱;14、切割箱;15、振动切刀;16、预存储箱;17、水罐;18、输送带二;19、气缸;20、推板一;21、模具;22、挡板;23、出料口一;24、出料口二;25、固定架;26、电动推杆;27、推板二;28、传感器组;29、AI处理器。
具体实施方式
下面将结合本发明说明书附图,对本发明实施例中的技术方案进行清楚、完整地描述,显然,所描述的实施例仅仅是本发明一部分实施例,而不是全部的实施例。基于本发明中的实施例,本领域普通技术人员在没有做出创造性劳动前提下所获得的所有其他实施例,都属于本发明保护的范围。
请参阅附图1-附图7:
实施例1:
本实施例旨在展示在各组分含量取最小值时,植物益生菌核梯度冰封体的制备过程及预期效果。
核层组分:
益生菌(耐冻性乳杆菌属菌株):0.05份;
植物乳杆菌DSM-21762:0.07份;
胶原蛋白肽(平均分子量1000Da):0.5份;
花果植物实体(完整形态,例如:蓝莓):7份;
梯度层组分:
草本植物萃取精华固形物(纳米粉碎萃取物,颗粒粒径<100nm,例如:茶叶纳米粉碎萃取物):5份;
益生元(低聚半乳糖):0.1份;
封装层组分:
AI优化水基凝胶:60份;
稳定剂与功能辅料(L-抗坏血酸和精氨酸-脯氨酸-甘氨酸-脯氨酸):0.1份;
制备步骤:
草本植物萃取:将7份茶叶通过双梯度动态声空化萃取工艺,制备得到5份茶叶纳米粉碎萃取物固形物。
核心功能层制备:将0.5份平均分子量为1000Da的胶原蛋白肽、0.05份益生菌和0.07份植物乳杆菌DSM-217620,以及过滤后的5份茶叶纳米粉碎萃取物混合均匀,形成核心功能层混合物。
初次预冷冻:将核心功能层混合物填充至模具中(例如每个模具约10g),将7份完整蓝莓置于其上方。在AI处理器的控制下,调整冷冻初始温度至约-20℃,进行预冷冻约30分钟,形成初步冰冻的核层。
封装与最终冷冻:在已初步冰冻的核层上方,均匀添加60份AI优化水基凝胶和0.1份稳定剂与功能辅料。随后进行最终冷冻,例如在-30℃下冷冻约60分钟,形成完整的功能性果蔬草本复合萃取冰块。
脱模与储存:待冰块完全成型后,进行脱模并统一保存。
实施例2:
本实施例旨在展示在各组分含量取中间值时,植物益生菌核梯度冰封体的制备过程及预期效果。
核层组分:
益生菌(耐冻性乳杆菌属菌株):0.275份;
植物乳杆菌DSM-21762:0.275份;
胶原蛋白肽(平均分子量2000Da):2.25份;
花果植物实体(切块形态,例如:混合水果块,如草莓、芒果):18.5份梯度层组分:
草本植物萃取精华固形物(纳米粉碎萃取物,颗粒粒径<100nm,例如:积雪草纳米粉碎萃取物):12.5份;
益生元(低聚半乳糖):0.8份;
封装层组分:
AI优化水基凝胶:72.5份;
稳定剂与功能辅料(L-抗坏血酸和精氨酸-脯氨酸-甘氨酸-脯氨酸):0.8份;
制备步骤:
草本植物萃取:将12.5份积雪草通过双梯度动态声空化萃取工艺,制备得到12.5份积雪草纳米粉碎萃取物固形物。
核心功能层制备:将2.25份平均分子量为2000Da的胶原蛋白肽、0.275份益生菌和0.275份植物乳杆菌DSM-217620,以及过滤后的12.5份积雪草纳米粉碎萃取物混合均匀,形成核心功能层混合物。
初次预冷冻:将核心功能层混合物填充至模具中(例如每个模具约15g)。将18.5份草莓和芒果混合切块后,置于核心功能层混合物上方。在AI处理器的控制下,调整冷冻初始温度至约-25℃,进行预冷冻约45分钟,形成初步冰冻的核层。
封装与最终冷冻:在已初步冰冻的核层上方,均匀添加72.5份AI优化水基凝胶和0.8份稳定剂与功能辅料。随后进行最终冷冻,例如在-35℃下冷冻约75分钟,形成完整的功能性果蔬草本复合萃取冰块。
脱模与储存:待冰块完全成型后,进行脱模并统一保存。
实施例3:
本实施例旨在展示在各组分含量取最大值时,植物益生菌核梯度冰封体的制备过程及预期效果。
核层组分:
益生菌(耐冻性乳杆菌属菌株):0.5份;
植物乳杆菌DSM-21762:0.48份;
胶原蛋白肽(平均分子量3000Da):4.0份;
花果植物实体(切片形态,例如:苹果切片、柠檬切片):30份;
梯度层组分:
草本植物萃取精华固形物(纳米粉碎萃取物,颗粒粒径<100nm,例如:薄荷纳米粉碎萃取物):20份;
益生元(低聚半乳糖):1.5份;
封装层组分:
AI优化水基凝胶:85份;
稳定剂与功能辅料(L-抗坏血酸和精氨酸-脯氨酸-甘氨酸-脯氨酸):1.5份;
制备步骤:
草本植物萃取:将20份薄荷通过双梯度动态声空化萃取工艺,制备得到20份薄荷纳米粉碎萃取物固形物。
核心功能层制备:将4.0份平均分子量为3000Da的胶原蛋白肽、0.5份益生菌和0.48份植物乳杆菌DSM-217620,以及过滤后的20份薄荷纳米粉碎萃取物混合均匀,形成核心功能层混合物。
初次预冷冻:将核心功能层混合物填充至模具中(例如每个模具约20g)。将30份苹果和柠檬切片后,置于核心功能层混合物上方。在AI处理器的控制下,调整冷冻初始温度至约-30℃,进行预冷冻约60分钟,形成初步冰冻的核层。
封装与最终冷冻:在已初步冰冻的核层上方,均匀添加85份AI优化水基凝胶和1.5份稳定剂与功能辅料。随后进行最终冷冻,例如在-40℃下冷冻约90分钟,形成完整的功能性果蔬草本复合萃取冰块。
脱模与储存:待冰块完全成型后,进行脱模并统一保存。
实施例4:
植物益生菌核梯度冰封体的AI智造系统,包括固定罐1,固定罐1呈左右对称分布,固定罐1顶部均固定有进料口3,左侧固定罐1底部安装有过滤箱2,过滤箱2内部设置有过滤网4,右侧固定罐1与过滤箱2之间设置有输送管一5,右侧固定罐1内部设置有电机6,电机6输出端固定有搅拌杆7,搅拌杆7转动在右侧固定罐1内部,右侧固定罐1内部设置有开关阀8,右侧固定罐1底部设置有输送管二9,输送管二9远离固定罐1一端固定有梯度冷冻箱10,梯度冷冻箱10一侧固定有预存放板11,梯度冷冻箱10另一侧安装有输送带一12,输送带一12远离梯度冷冻箱10一端固定有成品箱13,成品箱13顶部固定有切割箱14,切割箱14内部设置有呈网状设计的振动切刀15,成品箱13前侧固定有预存储箱16,成品箱13右侧安装有输送带二18,固定罐1内安装有AI处理器29,固定罐1内集成传感器组28,成品箱13外壁安装有多个推送组件;
成品箱13内部设置有气缸19,气缸19输出端固定有推板一20,推板一20顶部设置有模具21,成品箱13内部固定有挡板22,成品箱13与预存储箱16之间开设有出料口二24,输送带一12与成品箱13之间设置有出料口一23;
推送组件包括固定架25,固定架25固定在成品箱13外壁,固定架25内部设置有电动推杆26,电动推杆26输出端贯穿成品箱13并固定有推板二27;
AI处理器29包括动态优化模块,用于根据植物益生菌核的活性数据,自动调整冷冻梯度与混合时间;
植物益生菌核梯度冰封体的AI智造系统操作方法,包括以下步骤:
S1、将草本植物倒入左侧固定罐1内,通过双梯度动态声空化萃取工艺制备草本植物萃取精华固形物,最后经由过滤网4的过滤待核层预冷冻完成后,再准备输送至右侧固定罐1;
S2、将胶原蛋白肽组合物投入右侧固定罐1制备包含经稳定化处理的胶原蛋白肽的组合物;
S3、此时经稳定化处理的胶原蛋白肽组合物混合,并任选地加入益生菌和植物乳杆菌DSM-217620,通过AI处理器29根据益生菌的活性数据,启动电机6带动搅拌杆7进行搅拌,形成核心功能层混合物,再将核心功能层混合物送入梯度冷冻箱10内存放的模具21中;
S4、然后确定花果植物实体自由选择切块还是完整投放,完整投放只需投入梯度冷冻箱10中,切块则只需投入到切割箱14中经由振动切刀15进行切割即可,完整的部分则直接被投放至核心功能层混合物的位置,与其一起投放在梯度冷冻箱10内,此时通过AI处理器29根据益生菌的活性数据,自动调整冷读初始温度,将梯度冷冻箱10中预冷冻的冰块冰冻后,再连同模具21一起通过输送带一12输送至成品箱13内;
S5、如果花果植物实体要进行切块,则将梯度冷冻箱10中的核心功能层混合物连同模具21一起通过输送带一12输送至成品箱13内,此时被切块并且分割至模具21的各个格中,再通过输送带一12将其整体输送回梯度冷冻箱10内,在AI处理器29的控制下进行冷冻,再重新输送回成品箱13内,最后将AI优化水基凝胶和稳定剂与功能辅料投放至与梯度冷冻的冰块模具21中,最后进行最终冷冻,得到功能性果蔬草本复合萃取冰块;
S6、最后通过气缸19对推板一20的推动,使得模具21中的冰块在遭受挡板22的阻拦后被挤出,此时对应位置的电动推杆26驱动推板二27进行位移将挤出的冰块推入预存储箱16内统一保存,之后模具21位置降低,再被队友位置的推板二27推动进而输送带二18完成空的模具21的输送。
对比例1:
与实施例1相比,不同之处在于移除了梯度层中的草本植物萃取精华固形物和益生元,即梯度层仅由AI优化水基凝胶和稳定剂与功能辅料构成,且不再采用3D打印的萃取冰层,其余均相同。
对比例2:
与实施例1相比,不同之处在于核层中的益生菌和植物乳杆菌DSM-21762被替换为普通的非耐冻性乳杆菌属菌株,且未采用AI处理器根据益生菌活性数据自动调整冷冻初始温度,其余均相同。
对比例3:
与实施例1相比,不同之处在于花果植物实体(蓝莓)在投入梯度冷冻箱前未经过预处理(如完整投放或切割),而是直接以不规则的形态投入,且未考虑其与核心功能层混合物的空间分布,其余均相同。
实验1:
实验目的:
验证含有梯度层的植物益生菌核梯度冰封体(实施例一)在草本植物协同功效和益生元对益生菌活性促进方面,显著优于不含梯度层的产品(对比例一)。
实验材料:
样品:
实施例一:按照组分最小值方案制备的植物益生菌核梯度冰封体(含梯度层)。
对比例一:按照对比例一方案制备的植物益生菌核梯度冰封体(不含梯度层)。
试剂与耗材:
体外抗氧化活性检测:DPPH自由基、ABTS阳离子自由基、铁氰化钾等试剂。
体外抗炎活性检测:炎症因子检测试剂盒、细胞培养基等。
模拟消化道环境:模拟胃液、模拟肠液(含消化酶)。
益生菌培养基、平板计数用培养皿、无菌水等。
实验步骤:
草本植物协同功效评估
样品前处理:
将实施例一和对比例一的冰封体样品在室温下完全解冻,然后研磨成均匀的粉末。
取适量粉末,用蒸馏水或适当溶剂进行提取(例如,按1:10的比例浸泡2小时,或超声辅助提取30分钟),离心取上清液作为待测样品提取物。
体外抗氧化活性检测:
DPPH自由基清除能力:
配制0.1mMDPPH乙醇溶液。
取不同稀释度的样品提取物,加入DPPH溶液,混匀,避光反应30分钟。
在517nm波长处测定吸光度。计算自由基清除率。
ABTS阳离子自由基清除能力:
配制ABTS工作液。
取不同稀释度的样品提取物,加入ABTS工作液,混匀,反应6分钟。
在734nm波长处测定吸光度。计算自由基清除率。
体外抗炎活性检测(细胞实验):
培养巨噬细胞株(如RAW264.7)。
用脂多糖(LPS)诱导细胞产生炎症反应。
将不同浓度的样品提取物加入诱导后的细胞培养基中,孵育24小时。
收集细胞上清液,使用ELISA试剂盒检测炎症因子的表达水平。
益生元对益生菌活性的影响:
模拟消化道环境处理:
将实施例一和对比例一的冰封体样品在室温下完全解冻,然后分别置于模拟胃液(pH2.0,含胃蛋白酶)中,在37℃恒温摇床中消化2小时,模拟胃部环境。
将胃消化后的样品转移至模拟肠液(pH7.0,含胰酶、胆盐)中,在37℃恒温摇床中消化4小时,模拟肠道环境。
益生菌活菌计数:
在模拟消化道消化完成后,分别取样。
用无菌生理盐水进行梯度稀释。
将稀释液涂布于特异性益生菌培养基(如MRS琼脂)平板上。
在厌氧条件下,37℃培养48-72小时。
计数平板上的菌落数量(CFU/g),计算益生菌的存活率(数据详情见表1和表2)
表1
表2
实验总结:
本对比实验一通过对实施例一和对比例一的详尽测试,明确揭示了梯度层在本发明植物益生菌核梯度冰封体中的核心有益作用。实验结果有力地证明了梯度层并非可有可无,而是实现产品整体健康效益的关键构成。
首先,关于草本植物协同功效,测试数据清晰地展现了实施例一在DPPH和ABTS自由基清除率以及炎症因子抑制率上的显著优势。这得益于本发明中梯度层采用的3D打印的萃取冰层包裹草本植物萃取精华固形物这一独特设计。这种包覆方式不仅能够更好地保护草本植物萃取精华,减少其在制备和储存过程中的降解,更重要的是,它提供了一种受控释放机制。当冰封体在人体内逐渐融化时,梯度层能够缓慢而持续地释放出高活性的纳米粉碎萃取物,从而确保草本植物中的生物活性成分能够更有效地被人体吸收利用,发挥其抗氧化、抗炎等协同功效,而对比例一由于缺乏这一保护和缓释层,其草本植物功效的保留和释放效率大打折扣。
其次,针对益生元对益生菌活性的影响,模拟消化道实验结果表明,实施例一的益生菌在经过模拟胃液和肠液的严苛条件后,仍保持了较高的存活率,远高于对比例一。这主要归因于梯度层中益生元(低聚半乳糖)的添加。益生元作为益生菌的“食物”,能在复杂且充满挑战的消化道环境中,为耐冻性益生菌提供营养支持,帮助它们更好地耐受胃酸和胆盐的侵蚀,从而提升益生菌的肠道存活率和定植能力。此外,梯度层的存在也可能为益生菌提供了一定的物理屏障,进一步增强了其在消化过程中的保护。因此,本发明通过梯度层有效结合了草本植物精华与益生元,形成了一个协同增效的微环境,从而最大化了产品的健康效益,这是单一成分或简单混合所无法比拟的。
实验2:
实验目的:
验证采用耐冻性益生菌并结合AI处理器智能控制冷冻条件的植物益生菌核梯度冰封体(实施例一),在益生菌冷冻/解冻存活率和储存稳定性方面,显著优于采用普通非耐冻性益生菌且无AI智能控制的产品(对比例二)。
实验材料:
样品:
实施例一:按照组分最小值方案制备的植物益生菌核梯度冰封体(耐冻性益生菌+AI智能控制)。
对比例二:按照对比例二方案制备的植物益生菌核梯度冰封体(普通非耐冻性益生菌+无AI智能控制)。
试剂与耗材:
益生菌培养基(如MRS琼脂)、无菌生理盐水、平板计数用培养皿、厌氧培养箱。
冻存管、液氮或超低温冰箱(用于极端冷冻测试)。
实验步骤:
1.冷冻/解冻后益生菌存活率测试
样品制备与初始活菌计数:
按照各自的制备方案,制备实施例一和对比例二的冰封体样品。
在冷冻前,随机抽取少量未冷冻的样品(或从核心功能层混合物中取样),用无菌生理盐水进行梯度稀释,涂布于MRS琼脂平板,厌氧培养,计数初始活菌数(CFU/g)。
标准冷冻/解冻循环:
将制备好的冰封体样品放入-20℃冰箱中进行冷冻(或模拟专利中提及的预冷冻条件)。
冷冻24小时后,取出样品,在4℃条件下缓慢解冻2小时,或在室温下快速解冻30分钟。
重复冷冻-解冻循环3次(或根据实际需要调整循环次数)。
活菌计数:
每次冷冻-解冻循环后,取解冻后的样品,研磨成均匀的粉末。
用无菌生理盐水进行梯度稀释,涂布于MRS琼脂平板,厌氧培养48-72小时。
计数平板上的菌落数量,计算每次循环后的活菌数。
2.储存稳定性测试(益生菌活性)
样品储存:
将冷冻完成的实施例一和对比例二冰封体样品,分别在模拟储存条件(例如,-18℃或-20℃)下进行长期储存。
定期活菌计数:
在储存期的第0天、第7天、第15天、第30天、第60天和第90天,分别从两组样品中取出代表性样本。
按照上述活菌计数方法,对解冻后的样品进行活菌计数。
绘制益生菌活菌数随储存时间变化的曲线(数据详情见表3和表4)。
表3
表4
储存时间(天)实施例一活菌数(CFU/g)对比例二活菌数(CFU/g)01.35E+091.28E+0971.21E+098.54E+08151.05E+094.21E+08309.02E+081.87E+08607.55E+085.68E+07906.13E+081.59E+07
实验总结:
本对比实验二通过对益生菌存活率的严格测试,清晰地揭示了本发明中益生菌菌株的优选和AI智能控制冷冻条件对维持益生菌活性的关键作用。实验数据有力地证明了这两个因素协同作用,显著提升了植物益生菌核梯度冰封体中益生菌的耐受性和存活能力。
首先,在冷冻/解冻存活率方面,实施例一展现出远高于对比例二的存活率,这直接体现了耐冻性乳杆菌属菌株的优越性。普通益生菌在面对冰晶形成、细胞内脱水和膜损伤等冷冻胁迫时,会遭受严重的不可逆损伤,导致大量死亡。而本发明中选用的耐冻性菌株,其细胞膜和细胞壁结构可能具有更强的柔韧性和抗渗透性,能在低温和冰晶压力下更好地维持细胞完整性。此外,这些菌株可能自身含有或能诱导产生更多的低温保护物质,如海藻糖、脯氨酸等,这些物质能够稳定细胞膜蛋白,减少冷冻损伤,从而确保益生菌在经历冷冻和解冻的剧烈温度变化后,仍能保持高活性。
其次,AI处理器根据益生菌活性数据自动调整冷冻梯度与混合时间的作用在此次实验中也得到了充分验证。传统的冷冻方式往往采用固定参数,无法适应益生菌活性在不同批次或状态下的细微变化。而本发明中的AI处理器,通过集成,实时监测益生菌的活性状态,并动态优化冷冻过程中的关键参数(如冷却速率、冷冻温度、混合时间等)。这种智能化的精确控制,可以避免过快或过慢的冷冻速率对益生菌造成的应激,确保冰晶的形成处于最有利于益生菌存活的尺寸和分布,最大限度地减少物理损伤。正是这种动态优化的机理,使得益生菌在冰封体内能够获得最优的保护,从而在长时间储存后依然保持较高的活性,这在对比例二中无法实现,导致其益生菌活性在储存期间迅速下降。
综上所述,本发明通过益生菌种类优选和AI智能冷冻控制的双重保障,构建了一个能有效保护益生菌活性的微环境。这种技术创新不仅提升了产品的益生菌含量,更重要的是保证了益生菌在消费者摄入前的活性,从而确保了产品的实际健康效益,这是对传统益生菌产品在储存和活性保持方面的一大突破。
实验3:
实验目的:
验证花果植物实体经过预处理的植物益生菌核梯度冰封体(实施例一),在产品外观、口感以及冻结效率和结构稳定性方面,显著优于花果植物实体未经预处理的产品(对比例三)。
实验材料:
样品:
实施例一:按照组分最小值方案制备的植物益生菌核梯度冰封体(花果植物实体预处理为完整蓝莓)。
对比例三:按照对比例三方案制备的植物益生菌核梯度冰封体(花果植物实体未经预处理的不规则蓝莓)。
试剂与耗材:
感官评价表、评分标准。
图像分析软件、数码相机。
质构仪、温度传感器。
实验步骤:
1.产品外观均一性评估
目视检查:
随机抽取实施例一和对比例三的冰封体样品各30个。
由5名经过培训的评价员独立对每个样品进行目视检查,评估花果植物实体在冰封体中的分布均匀性、是否存在裸露、破损、颜色不均等现象。
记录每个样品的外观缺陷情况。
图像分析:
对每个冰封体样品进行高分辨率拍照。
使用图像分析软件(如ImageJ),量化花果植物实体在冰封体截面中的分布密度、面积占比以及形状规则度。
计算每个样品的花果植物实体分布均匀性指数。
2.口感和质地评估:
感官评价:
招募10名经验丰富的感官评价员,进行盲测。
评价员对实施例一和对比例三的解冻后样品(在相同解冻条件下)进行品尝,并根据预设的5分制或7分制量表,对口感(清爽度、冰沙感、花果风味与整体协调性)、质地(硬度、均匀性、颗粒感)等指标进行打分。
收集并统计感官评价数据。
质构仪分析:
使用质构仪对解冻后的样品进行纹理剖面分析(TPA)。
测定样品的硬度(Hardness)、弹性(Springiness)、内聚性(Cohesiveness)、胶粘性(Gumminess)和咀嚼性(Chewiness)等客观物理指标。
3.冻结效率与结构稳定性评估:
冻结效率测试:
在冰封体生产线上,在核心功能层混合物和花果植物实体填充后,将温度传感器插入样品中心。
记录从开始冷冻到样品中心温度达到设定冷冻温度所需的时间,即冻结时间。
比较两组样品的冻结时间差异。
解冻后结构稳定性:
将冷冻完成的样品在设定条件下(例如,4℃冰箱)进行完全解冻。
目视观察解冻后样品的结构完整性,包括是否有碎裂、分层、渗水、花果植物实体脱落等现象。
记录并评估结构稳定性得分(数据详情见表5和表6)。
表5
表6
实验总结:
本对比实验三通过对产品外观、口感和结构稳定性的全面评估,充分证实了本发明中花果植物实体进行预处理的独特优势和重要性。实验结果有力地表明,对花果植物形态的精确控制,是提升植物益生菌核梯度冰封体整体品质、优化用户体验的关键。
首先,在产品外观均一性方面,实施例一表现出明显更优的评分和更少的外观缺陷,这直接归因于权利要求2中明确指出的花果植物实体形态包括完整、切块和切片的预处理。这种预处理机制,结合AI智造系统在投放时的精确控制,使得花果植物实体能够以规则、一致的形态和预设的位置融入到冰封体中。这不仅保证了产品视觉上的美观和均一性,避免了不规则或过大的花果实体导致的产品变形或破损,同时也为后续的封装和冷冻提供了更稳定的结构基础。相反,对比例三中未经预处理的随机投放,使得花果实体形态不一,分布杂乱,极易导致成品外观不佳,甚至出现裸露在外的情况,影响消费者对产品的初次印象。
其次,对于口感和质地的提升,预处理的花果植物实体也发挥了核心作用。通过控制花果植物的形态,可以优化其在冰封体中的嵌入方式,避免了大块不规则实体造成的咀嚼困难或口感不均。例如,切片或切块的均匀分布,能够确保每一口都能体验到花果的清新风味和宜人质地,与核心功能层和梯度层形成完美的融合。而未经处理的花果实体,可能因其大小和形状的随意性,导致某些区域花果过多而另一些区域缺失,进而造成口感上的差异和不协调。这种对口感体验的精细化管理,正是本发明区别于简单混合产品的重要优势。
最后,在冻结效率与结构稳定性方面,花果植物实体的预处理也展现了其内在机理。规则形态的花果植物实体能与核心功能层更紧密地结合,减少内部空隙的产生,从而提高冰封体的整体密度和热传导效率,使得冻结过程更加迅速和均匀。均匀的冷冻过程有助于形成更细小的冰晶,减少对产品内部结构的破坏,从而在解冻后能更好地保持其原始结构,降低碎裂和渗水的风险。反之,不规则的花果实体可能在冰封体内形成不均匀的冻结区域,导致冰晶生长失控,从而影响最终产品的结构完整性和解冻后的稳定性。因此,通过对花果植物实体的精确预处理,本发明不仅提升了产品的感官品质,更从物理层面优化了产品的制备效率和储存稳定性。
尽管已经示出和描述了本发明的实施例,对于本领域的普通技术人员而言,可以理解在不脱离本发明的原理和精神的情况下可以对这些实施例进行多种变化、修改、替换和变型,本发明的范围由所附权利要求及其等同物限定。





