名称:一种用于冷推成形带直管弯头的组合式模芯结构
专利号:202510374157.9
专利权人:江苏华阳管业股份有限公司
技术领域
本发明涉及金属成型加工技术领域,具体为一种用于冷推成形带直管弯头的组合式模芯结构。
背景技术
冷推成形是一种在常温下将金属材料通过模具进行弯曲或挤压的工艺方法,具体来说,冷推成形是在不加热的情况下,将金属材料压入带有特定形状腔体的模具中,并通过弯曲装置进行弯曲,从而得到所需的形状,主要用于制造弯头等管道连接件。
冷推成形带直管弯头的模芯多为整体式结构,存在制造复杂、不易更换等问题,尤其在加工不同规格的弯头时,需要更换整个模芯,效率低且成本高,对此提出一种用于冷推成形带直管弯头的组合式模芯结构,来解决模芯成本高、更换不便的问题。
发明内容
本发明的目的在于提供一种用于冷推成形带直管弯头的组合式模芯结构,以解决上述背景技术中提出的问题。
为实现上述目的,本发明提供如下技术方案:一种用于冷推成形带直管弯头的组合式模芯结构,包括组合式模芯主体,所述组合式模芯主体由弯头、导向直管段一和导向直管段二组成,所述弯头、导向直管段一和导向直管段二一端均固定连接有连接环,所述弯头、导向直管段一和导向直管段二另一端均固定连接有连接座。
所述连接环内侧的圆周方向上等距设置有卡块,所述卡块另一侧均固定连接有锁紧块,所述连接座外侧的圆周方向上等距开设有L型锁紧槽,所述锁紧块和L型锁紧槽设置数量相同,所述L型锁紧槽外侧均开设有限位槽,所述锁紧块与L型锁紧槽卡接。
上述技术方案中,在弯头、导向直管段一和导向直管段二两端卡接连接环和连接座,从而能够将弯头两端分别与导向直管段一、导向直管段二连接,使其模块化可拆卸式设计,方便更换,提高生产效率和灵活性。
作为本技术方案的进一步优选的,所述弯头一端的连接座与相邻导向直管段一、导向直管段二一端的连接环卡接。
作为本技术方案的进一步优选的,所述连接环外侧的圆周方向上排列开设有卡槽一,所述卡槽一内侧均开设有锁紧孔一。
作为本技术方案的进一步优选的,所述连接座外侧的圆周方向上排列开设有卡槽二,所述卡槽二内侧均开设有锁紧孔二。
作为本技术方案的进一步优选的,所述卡槽一与卡槽二设置数量相同,所述锁紧块卡接在L型锁紧槽里侧时卡槽一就与卡槽二对齐设置。
上述技术方案中,卡块和锁紧块通过转动卡接在L型锁紧槽里侧,使得相邻的连接环和连接座紧密连接,避免脱落。
作为本技术方案的进一步优选的,所述卡槽二内均活动连接有卡接板,所述卡接板内侧均设置有胶垫,所述卡接板外侧的上下端均螺纹连接有锁紧铆钉,上方所述锁紧铆钉穿过卡接板并螺纹连接在锁紧孔一内,下方所述锁紧铆钉穿过卡接板并螺纹连接在锁紧孔二内。
上述技术方案中,转动卡接板使其卡接在卡槽一内,设置的锁紧铆钉使得连接环和连接座进一步连接,提高弯头与导向直管段一、导向直管段二连接的稳固性,且拆装方便,易于操作。
作为本技术方案的进一步优选的,所述组合式模芯主体下方设置有模板,所述模板上开设有模具槽,所述组合式模芯主体设置在模具槽内。
本发明提供了一种用于冷推成形带直管弯头的组合式模芯结构,具备以下有益效果:
(1)本发明通过在弯头、导向直管段一和导向直管段二两端设置连接环和连接座,使得相邻两个连接环和连接座能够卡接,从而能够将弯头两端分别与导向直管段一、导向直管段二连接,使其模块化可拆卸式设计,方便更换,提高生产效率和灵活性。
(2)本发明设置的卡块和锁紧块通过转动卡接在L型锁紧槽里侧,使得相邻的连接环和连接座紧密连接,避免脱落,另外当卡块和锁紧块卡接在L型锁紧槽里侧时,上下方的卡槽一和卡槽二对齐设置,并通过转动卡接板使其卡接在卡槽一内,设置的锁紧铆钉使得连接环和连接座进一步连接,提高弯头与导向直管段一、导向直管段二连接的稳固性,且拆装方便,易于操作。
附图说明
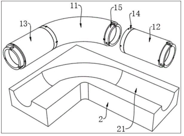
图1为本发明组合式模芯整体的结构示意图;
图2为本发明连接环和连接座的结构示意图;
图3为本发明连接环和连接座连接的结构示意图;
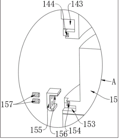
图4为本发明A图的放大图;
图中:1、组合式模芯主体;11、弯头;12、导向直管段一;13、导向直管段二;14、连接环;15、连接座;141、卡块;142、锁紧块;143、卡槽一;144、锁紧孔一;151、L型锁紧槽;152、限位槽;153、卡槽二;154、锁紧孔二;155、卡接板;156、胶垫;157、锁紧铆钉;2、模板;21、模具槽。
具体实施方式
下面将结合本发明实施例中的附图,对本发明实施例中的技术方案进行清楚、完整地描述。
本发明提供技术方案:如图1和图2所示,本实施例中,一种用于冷推成形带直管弯头的组合式模芯结构,包括组合式模芯主体1,组合式模芯主体1由弯头11、导向直管段一12和导向直管段二13组成,弯头11、导向直管段一12和导向直管段二13一端均固定连接有连接环14,弯头11、导向直管段一12和导向直管段二13另一端均固定连接有连接座,弯头11一端的连接座15与相邻导向直管段一12、导向直管段二13一端的连接环14卡接,组合式模芯主体1下方设置有模板2,模板2上开设有模具槽21,组合式模芯主体1设置在模具槽21内,使用时将管材从导向直管段一12推入,通过弯头11进行弯曲。
如图2和图3所示,连接环14内侧的圆周方向上等距设置有卡块141,卡块141另一侧均固定连接有锁紧块142,连接座15外侧的圆周方向上等距开设有L型锁紧槽151,锁紧块142和L型锁紧槽151设置数量相同,L型锁紧槽151外侧均开设有限位槽152,锁紧块142与L型锁紧槽151卡接,通过在弯头11、导向直管段一12和导向直管段二13两端设置连接环14和连接座15,使得相邻两个连接环14和连接座15能够卡接,从而能够将弯头11两端分别与导向直管段一12、导向直管段二13连接,使其模块化可拆卸式设计,方便更换,提高生产效率和灵活性。
如图3和图4所示,连接环14外侧的圆周方向上排列开设有卡槽一143,卡槽一143内侧均开设有锁紧孔一144,连接座15外侧的圆周方向上排列开设有卡槽二153,卡槽二153内侧均开设有锁紧孔二154,卡槽一143与卡槽二153设置数量相同,锁紧块142卡接在L型锁紧槽151里侧时卡槽一143就与卡槽二153对齐设置,卡槽二153内均活动连接有卡接板155,卡接板155内侧均设置有胶垫156,卡接板155外侧的上下端均螺纹连接有锁紧铆钉157,上方锁紧铆钉157穿过卡接板155并螺纹连接在锁紧孔一144内,下方锁紧铆钉157穿过卡接板155并螺纹连接在锁紧孔二154内,设置的卡块141和锁紧块142通过转动卡接在L型锁紧槽151里侧,使得相邻的连接环14和连接座15紧密连接,避免脱落,另外当卡块141和锁紧块142卡接在L型锁紧槽151里侧时,上下方的卡槽一143和卡槽二153对齐设置,并通过转动卡接板155使其卡接在卡槽一143内,设置的锁紧铆钉157使得连接环14和连接座15进一步连接,提高弯头11与导向直管段一12、导向直管段二13连接的稳固性,且拆装方便,易于操作。
本发明提供一种用于冷推成形带直管弯头的组合式模芯结构,具体工作原理如下:当需要对弯头11进行更换时,先旋拧四周的锁紧铆钉157将其取下,然后转动四周的卡接板155,接着转动连接座15带动卡块141和锁紧块142转动,从而使得卡块141和锁紧块142失去限位,可通过滑动将连接座15连同导向直管段一12或导向直管段二13拆卸下来,即可进行更换。
尽管已经示出和描述了本发明的实施例,对于本领域的普通技术人员而言,可以理解在不脱离本发明的原理和精神的情况下可以对这些实施例进行多种变化、修改、替换和变型,本发明的范围由所附权利要求及其等同物限定。


