名称:一种木纹编码固定机
专利号:202411497176.2
专利权人:次平
技术领域
本申请涉及林业资源监测的技术领域,尤其涉及一种木纹编码固定机。
背景技术
在林草综合监测的广阔领域中,调查人员不仅要应对自然界的复杂多变,还时常受限于装备的重量与操作的繁琐。当前,他们通常需要背负沉重的工具箱,其中包含了钉锤、钉子、刻字装置、铝片以及喷漆等物品。整套装备的总重量常常超过数公斤,对于长时间跋涉在崎岖山路上的调查人员而言,这无疑构成了巨大的身体负担。
设计这些工具的初衷,旨在高效地完成树木的编号与标记工作。钉锤与钉子的组合负责稳固地将铝片固定在树木上,刻字装置能够在铝片上精确刻制0-9的数字,作为树木的唯一编号,再由喷漆装置在树上进行标记。
然而,尽管这些工具各自承担着重要职责,但它们在实际应用中的分散性和功能单一性却成为了制约效率的关键因素。调查人员在进行标记作业时,往往需要频繁更换工具,甚至需要多人协作以完成一系列操作。这种对人力资源的高度依赖不仅增加了作业成本,还限制了监测工作的灵活性和响应速度,进而影响了监测数据的时效性和准确性。
发明内容
本申请旨在至少在一定程度上解决相关技术中的技术问题之一。
为此,本申请的一个目的在于提供一种木纹编码固定机,设计了一款集喷漆、弹簧钉入、旋转刻字于一体的便携式装置,功能全面且空间利用高效,喷漆精准快速,弹簧钉入稳固,旋转刻字快速准确,提升标记效率与专业性,此改进减轻了调查人员装备负担,一人一机即可完成多项监测任务,效率大增,弹簧设计简化操作,确保标记准确稳固,监测过程更流畅。
为达到上述目的,本申请第一方面实施例提出了一种木纹编码固定机,包括安装板、把手、喷漆装置、启动装置、安装块和刻字装置,其中,所述把手设置在所述安装板底部一侧;所述喷漆装置包括喷漆组件,其中,所述喷漆组件设置在所述安装板顶部一侧;所述启动装置包括壳体、启动组件和复位组件,其中,所述壳体设置在所述安装板底部另一侧,且所述壳体与所述把手固定相连;所述启动组件可活动地设置在所述壳体内;所述复位组件设置在所述壳体上,且所述复位组件与所述启动组件相连;所述安装块设置在所述壳体下端,所述壳体可转动地设置在所述安装块顶部;所述刻字装置包括放置块和刻字组件,其中,所述放置块与所述安装块一端固定相连;所述刻字组件可转动地设置在所述放置块上。
本申请实施例的一种木纹编码固定机,设计了一款集喷漆、弹簧钉入、旋转刻字于一体的便携式装置,功能全面且空间利用高效,喷漆精准快速,弹簧钉入稳固,旋转刻字快速准确,提升标记效率与专业性,此改进减轻了调查人员装备负担,一人一机即可完成多项监测任务,效率大增,弹簧设计简化操作,确保标记准确稳固,监测过程更流畅。
另外,根据本申请上述提出的一种木纹编码固定机还可以具有如下附加的技术特征:
在本申请的一个实施例中,所述喷漆组件包括油漆罐、喷头和按压头,其中,所述油漆罐螺纹连接于所述安装板顶部一侧;所述喷头设置在所述安装板靠近所述油漆罐的一侧,且所述喷头与所述油漆罐活动相连;所述按压头设置在所述安装板靠近所述油漆罐顶部一侧,且所述按压头分别与所述油漆罐和所述喷头相连。
在本申请的一个实施例中,所述启动组件包括滑动槽、滑动块、弹簧、连接杆、铁块、转动槽和活动板,其中,所述滑动槽设置在所述壳体内;所述滑动块可滑动地设置在所述滑动槽内;所述弹簧一端与所述滑动块顶部相连,另一端与所述滑动槽内顶壁相连;所述连接杆设置在所述滑动块底部;所述铁块与所述连接杆底部相连,且所述铁块贯穿过所述壳体底部;所述转动槽设置在所述滑动块上;所述活动板一端与所述壳体侧壁活动相连,另一端可滑动地设置在所述转动槽内。
在本申请的一个实施例中,所述复位组件包括操作板、滑槽和拨动块,其中,所述操作板设置在所述壳体的侧壁上;所述滑槽设置在所述操作板上;所述拨动块可滑动地设置在所述滑槽内,且所述拨动块与所述滑动块相连。
在本申请的一个实施例中,所述刻字组件包括放置槽、转盘和多个数字盘,其中,所述放置槽设置在所述放置块上;所述转盘可转动地设置在所述放置块上一侧;多个所述数字盘分别可活动地设置在所述转盘上,且多个所述数字盘一端分别与所述铁块活动相连,另一端分别与所述放置槽活动相连。
在本申请的一个实施例中,所述安装块的一侧设置有放钉槽,所述安装块顶部设置有锤钉口,所述铁块可活动地设置在所述锤钉口内部。
在本申请的一个实施例中,所述把手内设置有启动键,所述启动键与所述活动板相连。
本申请与现有的技术相比的优点在于:
(1)设计了一种高度集成的便携式装置,融合了喷漆处理、弹簧驱动钉入功能以及旋转刻字装置于一体,实现了功能的全面覆盖与空间的极致利用。喷漆装置能够轻松实现精准的喷漆处理,迅速在树木上留下标记。而装置内设置的弹簧驱动结构,其力量强劲且稳定,能够轻松地将钉子钉入树木中,确保标记的稳固性。更为创新的是,该装置还配备了旋转刻字功能,当需要进行编号刻字时,用户只需简单转动装置,通过弹簧的弹力驱动数字转盘进行弹击,从而在树木或铝片上清晰刻制0-9的数字,实现快速而准确的编号。这一设计不仅提升了标记工作的专业性和效率,还使得操作更加简便快捷。
(2)这一改进极大地简化了调查人员的装备负担,他们现在只需携带一个轻便的设备即可完成原本需要多种工具才能完成的监测工作。单人即可轻松应对,工作效率显著提高。调查人员可以更加专注于监测任务本身,无需频繁更换工具或担心工具的丢失与损坏。弹簧驱动的设计不仅保证了操作的简便性,还确保了标记的准确性和稳固性,使得整个监测过程更加流畅和高效。
本申请附加的方面和优点将在下面的描述中部分给出,部分将从下面的描述中变得明显,或通过本申请的实践了解到。
附图说明
本申请上述的和/或附加的方面和优点从下面结合附图对实施例的描述中将变得明显和容易理解,其中:
图1为根据本申请一个实施例的一种木纹编码固定机的立体图;
图2为根据本申请一个实施例的一种木纹编码固定机的结构示意图;
图3为根据本申请另一个实施例的一种木纹编码固定机的结构示意图。
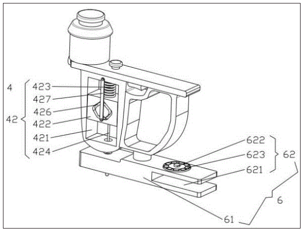
如图所示:1、安装板;2、把手;3、喷漆装置;4、启动装置;5、安装块;6、刻字装置;31、喷漆组件;41、壳体;42、启动组件;43、复位组件;61、放置块;62、刻字组件;311、油漆罐;312、喷头;313、按压头;421、滑动槽;422、滑动块;423、弹簧;424、连接杆;425、铁块;426、转动槽;427、活动板;431、操作板;432、滑槽;433、拨动块;621、放置槽;622、转盘;623、数字盘;51、放钉槽;52、锤钉口;21、启动键。
具体实施方式
下面详细描述本申请的实施例,所述实施例的示例在附图中示出,其中自始至终相同或类似的标号表示相同或类似的元件或具有相同或类似功能的元件。下面通过参考附图描述的实施例是示例性的,旨在用于解释本申请,而不能理解为对本申请的限制。相反,本申请的实施例包括落入所附加权利要求书的精神和内涵范围内的所有变化、修改和等同物。
下面结合附图来描述本申请实施例的一种木纹编码固定机。
如图1-图3所示,本申请实施例的一种木纹编码固定机,可包括安装板1、把手2、喷漆装置3、启动装置4、安装块5和刻字装置6,其中,把手2设置在安装板1底部一侧,喷漆装置3包括喷漆组件31,其中,喷漆组件31设置在安装板1顶部一侧。
可以理解的是,通过喷漆组件31实现精准的喷漆处理,迅速在树木上留下标记。
启动装置4包括壳体41、启动组件42和复位组件43,其中,壳体41设置在安装板1底部另一侧,且壳体41与把手2固定相连,启动组件42可活动地设置在壳体41内,复位组件43设置在壳体41上,且复位组件43与启动组件42相连。
可以理解的是,通过按动启动组件42使得启动组件42向下通过弹簧423的弹力按压,实现对锤钉和刻字的需求,通过向上拉动复位组件43,实现对启动组件42的复位,能够实现再次向下按压。
安装块5设置在壳体41下端,壳体41可转动地设置在安装块5顶部。
可以理解的是,壳体41在安装块5上能够进行旋转,能够实现启动组件42对锤钉和刻字的快速转换。
刻字装置6包括放置块61和刻字组件62,其中,放置块61与安装块5一端固定相连,刻字组件62可转动地设置在放置块61上。
可以理解的是,按动启动组件42使得启动组件42向下通过弹簧423的弹力按压,带动刻字组件62进行同步下压,同时刻字组件62能够进行旋转,且上面分别刻有0-9的数字,实现快速而准确的编号。
具体地,当需要操作时,手持把手2,将铝牌放置在放置块61上,旋转壳体41,按动启动组件42使得启动组件42向下通过弹簧423的弹力按压,带动刻字组件62进行同步下压,实现对铝牌进行刻字处理,接着再次转动壳体41,将钉放置进安装块5,通过向上拉动复位组件43,复位完成后,按动启动组件42,使得启动组件42向下通过弹簧423的弹力按压,将安装块5内的钉打在树里,实现对铝牌的固定,最后通过喷漆组件31实现精准的喷漆处理,迅速在树木上留下标记,同时刻字组件62能够进行旋转,且上面分别刻有0-9的数字,实现快速而准确的编号,极大地简化了调查人员的装备负担,他们现在只需携带一个轻便的设备即可完成原本需要多种工具才能完成的监测工作。单人即可轻松应对,工作效率显著提高。
在本申请的一个实施例中,如图1所示,喷漆组件31包括油漆罐311、喷头312和按压头313,其中,油漆罐311螺纹连接于安装板1顶部一侧,喷头312设置在安装板1靠近油漆罐311的一侧,且喷头312与油漆罐311活动相连,按压头313设置在安装板1靠近油漆罐311顶部一侧,且按压头313分别与油漆罐311和喷头312相连。
可以理解的是,通过按动按压头313将油漆罐311内的油漆通过喷头312进行喷出。
需要说明的是,该实施例中所描述的喷漆组件31为现有技术,因此不再此处详细介绍喷漆组件31的内部结构。
在本申请的一个实施例中,如图2-图3所示,启动组件42包括滑动槽421、滑动块422、弹簧423、连接杆424、铁块425、转动槽426和活动板427,其中,滑动槽421设置在壳体41内,滑动块422可滑动地设置在滑动槽421内,弹簧423一端与滑动块422顶部相连,另一端与滑动槽421内顶壁相连,连接杆424设置在滑动块422底部,铁块425与连接杆424底部相连,且铁块425贯穿过壳体41底部,转动槽426设置在滑动块422上,活动板427一端与壳体41侧壁活动相连,另一端可滑动地设置在转动槽426内。
可以理解的是,通过拨动活动板427,使得活动板427的底部脱离转动槽426的底部,当活动板427在转动槽426内进行滑动至转动槽426的顶部时,弹簧423会带动滑动块422在滑动槽421内进行迅速向下滑动,同时带动连接杆424和铁块425进行快速的向下滑动,实现向下的锤击。
在本申请的一个实施例中,如图1所示,复位组件43包括操作板431、滑槽432和拨动块433,其中,操作板431设置在壳体41的侧壁上,滑槽432设置在操作板431上,拨动块433可滑动地设置在滑槽432内,且拨动块433与滑动块422相连。
可以理解的是,当铁块425向下锤击完成后,拉动拨动块433在滑槽432内向上滑动,同时带动滑动块422在滑动槽421内进行向上滑动,使得活动板427的底部在转动槽426内进行滑动,当活动板427的底部与转动槽426的底部卡接后,即可完成复位,实现了对滑动块422的固定。
在本申请的一个实施例中,如图2所示,刻字组件62包括放置槽621、转盘622和多个数字盘623,其中,放置槽621设置在放置块61上,转盘622可转动地设置在放置块61上一侧,多个数字盘623分别可活动地设置在转盘622上,且多个数字盘623一端分别与铁块425活动相连,另一端分别与放置槽621活动相连。
可以理解的是,当需要对铝牌进行刻字时,将铝牌放置在放置槽621内,接着转动转盘622,将所需刻字的数字盘623转动至指定位置,接着转动壳体41,将铁块425转动至指定数字盘623上端时,按动启动组件42,铁块425的快速向下的弹力带动数字盘623进行同步下降对铝牌进行刻字处理。
在本申请的一个实施例中,如图3所示,安装块5的一侧设置有放钉槽51,安装块5顶部设置有锤钉口52,铁块425可活动地设置在锤钉口52内部。
可以理解的是,将钉子放入放钉槽51内,同时将钉子滑动至锤钉口52上方时,转动壳体41,将铁块425转动至锤钉口52正上方后,按动启动组件42,铁块425的快速向下的弹力能够将钉子弹入树中,确保标记的稳固性。
在本申请的一个实施例中,如图3所示,把手2内设置有启动键21,启动键21与活动板427相连。
可以理解的是,启动键21与活动板427连接,因此当按动启动键21时,同步带动活动板427进行移动,使得活动板427的底部脱离转动槽426的底部,因此实现了对铁块425的快速向下的弹力。
具体而言,在实际执行过程中,当工作人员需要操作时,将铝牌放置在放置槽621内,接着转动转盘622,将所需刻字的数字盘623转动至指定位置,接着转动壳体41,将铁块425转动至指定数字盘623上端,按动启动键21,启动键21能够带动活动板427进行移动,使得活动板427的底部脱离转动槽426的底部,当活动板427在转动槽426内进行滑动至转动槽426的顶部时,弹簧423会带动滑动块422在滑动槽421内进行迅速向下滑动,同时带动连接杆424和铁块425进行快速的向下滑动,铁块425的快速向下的弹力带动数字盘623进行同步下降对铝牌进行刻字处理,多个数字盘623上分别刻制0-9的数字,实现快速而准确的编号刻字。
当需要将铝牌钉在树上时,转动壳体41,将铁块425转动至锤钉口52正上方后,将钉子放入放钉槽51内,同时将钉子滑动至锤钉口52上方,拉动拨动块433在滑槽432内向上滑动,同时带动滑动块422在滑动槽421内进行向上滑动,使得活动板427的底部在转动槽426内进行滑动,当活动板427的底部与转动槽426的底部卡接后,即可完成复位,实现了对滑动块422的固定,接着再次按动启动键21,铁块425的快速向下的弹力能够将钉子弹入树中。
最后通过按动按压头313将油漆罐311内的油漆通过喷头312进行喷出,迅速在树木上留下标记。
综上,本申请实施例的一种木纹编码固定机,设计了一款集喷漆、弹簧钉入、旋转刻字于一体的便携式装置,功能全面且空间利用高效,喷漆精准快速,弹簧钉入稳固,旋转刻字快速准确,提升标记效率与专业性,此改进减轻了调查人员装备负担,一人一机即可完成多项监测任务,效率大增,弹簧设计简化操作,确保标记准确稳固,监测过程更流畅。
在本说明书的描述中,术语“第一”、“第二”仅用于描述目的,而不能理解为指示或暗示相对重要性或者隐含指明所指示的技术特征的数量。由此,限定有“第一”、“第二”的特征可以明示或者隐含地包括至少一个该特征。在本申请的描述中,“多个”的含义是至少两个,例如两个,三个等,除非另有明确具体的限定。
在本说明书的描述中,参考术语“一个实施例”、“一些实施例”、“示例”、“具体示例”、或“一些示例”等的描述意指结合该实施例或示例描述的具体特征、结构、材料或者特点包含于本申请的至少一个实施例或示例中。在本说明书中,对上述术语的示意性表述不必须针对的是相同的实施例或示例。而且,描述的具体特征、结构、材料或者特点可以在任一个或多个实施例或示例中以合适的方式结合。此外,在不相互矛盾的情况下,本领域的技术人员可以将本说明书中描述的不同实施例或示例以及不同实施例或示例的特征进行结合和组合。
尽管上面已经示出和描述了本申请的实施例,可以理解的是,上述实施例是示例性的,不能理解为对本申请的限制,本领域的普通技术人员在本申请的范围内可以对上述实施例进行变化、修改、替换和变形。

