名称:车辆遮阳结构
专利号:202322270066.X
专利权人:林涛伟
技术领域
本实用新型涉及遮阳结构技术领域,尤其是车辆遮阳结构。
背景技术
对于露天停放的车辆,在阳光直射下车辆内部温度较高,用户进入车辆内后饱受高温困扰,同时还存在车辆内物件自燃、车辆自燃的安全隐患,尤其是现今夏季。
为解决上述问题,现有技术中常采用以下方式:
1、固定式车棚,其采用固定安装方式,将钢架结构固定安装于地面上,在其上方布置遮阳布,如公开专利文献CN211173296U,该种方式占用面积大,成本较高,不可转移,常见于公司内部车位、园区定点车位等;
2、可收纳式遮阳棚,包括手动式和电动式,其原理与雨伞相似,具有骨架以及安装于骨架上的遮阳布,通过骨架的展开和收拢带动遮阳布的展开和收拢,其中间支柱通常安装于车辆顶部,如公开专利文献CN108360914A、CN205239105U,该种方式安装拆卸不便,安装后稳固性不足,易被吹倒,通常还需要在遮阳布四周配置多个绑带,将绑带绑于车辆门把手等处。
因此,对于露天车位的遮阳产品还需进一步的改进设计,为此,申请人提出本申请。
实用新型内容
本实用新型针对现有技术中的不足,提供了车辆遮阳结构,其采用盒装结构,可置于车位后方地面上,采用电动方式,依靠相关伸缩杆以展开遮阳布用以车辆遮阳,依靠卷轴单元自动收拢遮阳布。
为解决上述技术问题,本实用新型通过下述技术方案得以解决:
车辆遮阳结构,包括
主壳体,所述主壳体上配置有卷轴单元和第一驱动单元,所述卷轴单元上卷绕有遮阳布,所述遮阳布可沿所述卷轴单元展开或收拢,所述遮阳布外端配置有连接轴;
若干第一单元,所述第一单元一端与所述连接轴铰接,另一端配置于过渡单元上;以及
若干第一伸缩单元,其配置于所述主壳体上并与所述第一驱动单元传动连接,由其带动伸长或缩短,所述第一伸缩单元外端与所述过渡单元相连;
当所述第一伸缩单元伸长时,通过所述第一单元拉动所述遮阳布展开以用于车辆遮阳。
上述方案中,优选的,所述主壳体上包括有容置腔,所述卷轴单元以及所述第一伸缩单元的至少部分部位布置于所述容置腔内;
所述主壳体上包括有供所述遮阳布外端穿过的槽口以及供所述第一伸缩单元外端穿过的通孔。
上述方案中,优选的,所述第一单元及所述第一伸缩单元至少具有两个,分别对应布置于所述遮阳布的左右两侧。
上述方案中,优选的,所述卷轴单元为管状电机,所述遮阳布绕设于管状电机的旋转件上且其内端与所述管状电机的旋转件固定连接。
上述方案中,优选的,所述遮阳布至少一个侧边包括侧帘,所述侧帘上配置有用于提供收拢力的松紧带。
上述方案中,优选的,所述第一伸缩单元包括第一杆及若干节依次配合的第二杆,所述第一杆与所述第一驱动单元传动连接,首节所述第二杆与所述第一杆传动配合,所述第二杆随所述第一杆的转动动作而依次做直线运动。
上述方案中,优选的,所述第一杆为空心杆,首节所述第二杆与所述第一杆螺纹连接;
所述第二杆为空心杆,相邻的所述第二杆依次螺纹套接;
所述第一杆上端内壁上具有第一限位台,所述第一限位台内壁上具有第一螺纹;
所述第二杆下端具有第二限位台;
所述第二杆外壁上具有第二螺纹;
所述第二杆上端具有第三限位台,所述第三限位台内壁上具有第三螺纹;
还包括有第三杆,所述第三杆与末节所述第二杆配合连接;
所述第三杆螺纹套接于相应的所述第二杆上。
上述方案中,优选的,所述过渡单元包括副壳体以及转动配置于所述副壳体上的轴,所述轴上固定有第一锥齿轮,所述第一伸缩单元外端穿入至所述副壳体内且在该端具有与所述第一锥齿轮传动连接的第二锥齿轮;
所述第一单元一端配置于所述轴上;
所述轴与所述第一单元之间配置有单向轴承,当所述轴正向转动时,所述第一单元随轴的转动而翻转动作;
所述副壳体底部配置有滑轮。
上述方案中,优选的,所述第一单元为伸缩杆,所述第一驱动单元为电机;
所述卷轴单元和所述第一驱动单元电连接有控制单元和电池单元,所述控制单元包括有信号接收单元,所述信号接收单元与控制器电连接或无线连接;
所述电池单元为太阳能电池。
上述方案中,优选的,所述第一驱动单元包括固定于所述主壳体内的电机、与所述电机转动连接的传动轴以及固定于所述传动轴上的第三锥齿轮,所述第一伸缩单元的内端具有与所述第三锥齿轮传动配合的第四锥齿轮。
本实用新型的有益效果是:
本实用新型采用电动方式,可自动展开、收拢遮阳布,操作方便;使用时放置于车辆后方地面上即可,遮阳时结构更为稳固,不易被吹倒,不使用时便于转移,灵活性高;
侧帘的设计提升了车辆侧面的遮阳效果,松紧带能够使侧帘更贴合于车辆,同时又便于侧帘的收拢。
附图说明
图1为本实用新型遮阳布收拢状态示意图。
图2为本实用新型另一视角示意图。
图3为本实用新型第一单元、过渡单元及第一伸缩单元的配合示意图。
图4为本实用新型副壳体与滑轮配合示意图。
图5为本实用新型第一伸缩单元示意图。
图6为本实用新型第一伸缩单元分解示意图。
图7为本实用新型第一伸缩单元剖面示意图。
图8为图7中D处的放大示意图。
图9为图7中E处的放大示意图。
图10为图7中F处的放大示意图。
图11为本发明伸缩杆动作状态示意图。
图12为本发明遮阳布展开状态示意图。
具体实施方式
下面结合附图与具体实施方式对本实用新型作进一步详细描述:
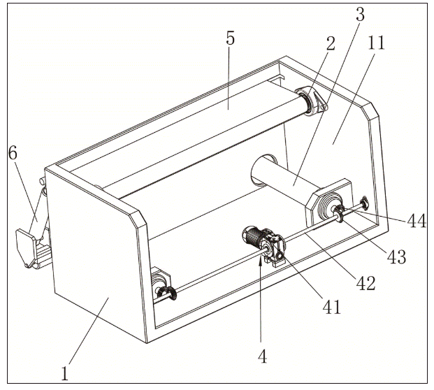
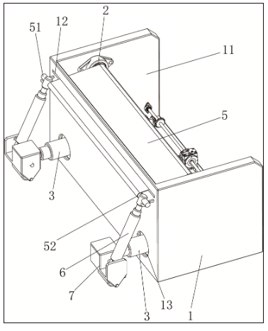
参见图1-图12,一种车辆遮阳结构,包括主壳体1,主壳体1内包括有用于安装相应部件的容置腔11,以使大部分部件被隐藏在主壳体1内,包括卷轴单元2、第一伸缩单元3的至少部分部位、第一驱动单元4、收拢状态的遮阳布5大部分部位等。
主壳体1的一个侧壁上开设有槽口12和若干通孔13,其中槽口12用于遮阳布5的穿过,以使遮阳布5能够从主壳体1内延伸至主壳体1外;通孔13用于第一伸缩单元3的穿过,以使第一伸缩单元3能够从主壳体1内延伸至主壳体1外。
对于卷轴单元2,作为其中一种选择,卷轴单元2为管状电机,遮阳布5绕设于管状电机的旋转件上且其内端与旋转件固定连接,在遮阳布5展开时,无需利用到管状电机,在遮阳布5收拢时,依靠管状电机拉动遮阳布收回。
作为其中一种选择,卷轴单元2为转轴结构,该转轴通过对应的电机带动转动。
遮阳布5外端通过槽口12后布置于主壳体1外,该外端配置有连接轴51,作为其中一种选择,遮阳布5外端形成有供连接轴51穿过的穿孔52,连接轴51穿设于穿孔52处以使其与遮阳布5相连接而不会掉落,连接轴51两端分别位于穿孔52外,如图1所示,连接轴51的两端分别连接有对应的第一单元6,每一第一单元6下端分别配置于过渡单元7上,而每一过渡单元7又分别连接有第一伸缩单元3,第一伸缩单元3穿设于主壳体1的通孔13处,其部分位于主壳体1外,可认为是第一伸缩单元3外端,部分位于主壳体1内,可认为是第一伸缩单元3内端。
对于第一伸缩单元3,其依靠第一驱动单元4带动其内端转动动作而实现相应部件的直线伸长或缩回。
如图5-图10所示,第一伸缩单元3包括第一杆31及若干节依次配合的第二杆32,第一杆31与第一驱动单元4传动连接后由其带动做旋转运动,本实施例中,第一杆31为空心杆,其内部空心、上端开口,在其上端内壁上具有第一限位台311,第一限位台311内壁上具有第一螺纹。
多个第二杆32之间依次配合,第二杆32随第一杆31的转动动作而依次做直线运动,具体为依靠于螺纹配合,边旋转边直线延伸或缩回,配合状态如图5、图7所示,本实施例中,第二杆32为空心杆,其内部空心、上端开口,首节第二杆32与第一杆31螺纹套接,其余第二杆32之间依次螺纹套接, 具体的,第二杆32下端具有第二限位台321,第二杆32外壁上具有第二螺纹322,上端具有第三限位台323,第三限位台323内壁上具有第三螺纹。
如图8所示,与第一杆31相配合的第二杆32上的第二限位台321用于与第一杆31上的第一限位台311相配合,以防止该第二杆32从第一杆31处脱离;当该第二杆32伸出至最大行程范围时,第二杆32上的第二螺纹用尽,此时,该第二杆32无法继续随着第一杆31的转动而直线运动,其与第一杆31形成一体构件,其随第一杆31的转动而转动,在该第一根第二杆32做旋转运动时,与其套接的另一根第二杆32随之做直线运动,运动原理与上述内容相一致,即依靠第二根第二杆32的第二螺纹322与第一根第二杆32的第三限位台323上的第三螺纹相互螺纹配合,将旋转运动转换为直线运动,在螺纹用尽后其与下方的第二杆32、第一杆31形成一体构件,从而带动下一根第二杆32做直线运动,如此循环,根据实际需要设计多个数量的第二杆32,以提供足够行程。
为便于第一伸缩单元3与过渡单元7的配合,本实施例中,第一伸缩单元3还包括有第三杆33,其与末节第二杆32配合连接,如图5、图7所示,第三杆33与相应的第二杆32之间可为螺纹套接,具体的,第三杆33可为螺杆,其外壁上的螺纹与末节第二杆32的第三限位台323上的第三螺纹相互螺纹配合,当然第三杆33下端亦可设置一个凸台331,以防止其脱落,凸台331与第二限位台321的作用相同。
作为其中一种选择,第一杆31、第二杆32及第三杆33均可为一体成型,没有多余的部件,结构更为稳定不易损坏。
本实施例中,为防止第一杆31与相应的第二杆32之间、相邻的两个第二杆32之间、第三杆33与相应的第二杆32之间在螺纹配合时的卡死,将第二杆32和/或第三杆33下端端部设计为非螺纹端,即其外壁上的螺纹并非设计到底,底部留有光杆部位。
对于第一驱动单元4,作为其中一种实施方式,其为输出轴与第一杆31固连的电机;作为其中一种实施方式,如图2所示,第一驱动单元4包括固定于主壳体内的电机41、与电机41转动连接的传动轴42以及固定于传动轴42上的第三锥齿轮43,第一杆31具有与第三锥齿轮43传动配合的第四锥齿轮44,传动轴两端转动布置于主壳体1内壁上。
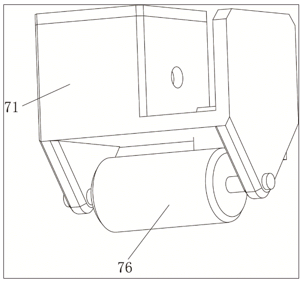
对于过渡单元7,如图3所示,其包括副壳体71以及转动配置于副壳体71上的轴72,副壳体具有内腔体73,轴72的部分位于内腔体73内,部分位于内腔体73外,位于内腔体73内的部位上固定有第一锥齿轮74,第一伸缩单元3外端穿入至副壳体71的内腔体73内并在该端具有与第一锥齿轮74传动连接的第二锥齿轮75,此处第一伸缩单元3外端可理解为末节第二杆32(该种方式下不设置第三杆)或第三杆33。
如图1、图3、图11、图12所示,在第一伸缩单元3伸长过程中,过渡单元7被其逐步的往外推,为使过渡单元7在该过程中移动的更为顺畅,本实施例中,在副壳体71底部配置有滑轮76,如图4所示。
如图1、图3所示,位于内腔体73外的轴72部位与第一单元6的一端相连,第一单元6的另一端与连接轴51外端铰接,从而在第一伸缩单元3伸长的过程中,能够将遮阳布5拉出展开。
本实施例中,第一单元6设计为伸缩杆结构,且在第一单元6与轴72之间配置有单向轴承,单向轴承的作用在于在一个旋转方向上,第一单元6与轴同步转动,在反向旋转方向上,两者不同步转动。
在第一伸缩单元3开始伸长时,带动过渡单元7移动,第一单元6随之伸长,而在第一单元6被带动翻转后,将遮阳布5拉出并遮盖于车辆上方,进一步的,该种方式拉动遮阳布还能够使遮阳布整体包裹车身,提供防尘效果。
结合上文说明,第一伸缩单元3在延伸至一定程度时(如延伸至车辆中部位置处,此为其中一种设定方式),其最外端做旋转运动(如第三杆33边旋转边直线伸出;如第三杆33在伸至最大行程时持续旋转),依靠于第一锥齿轮74、第二锥齿轮75,使得轴72转动,配合单向轴承,带动第一单元6翻转动作,从而将遮阳布5外端往下方翻折,以适配车辆车头位置,提升遮阳效果。
而在遮阳布5收拢时,通过卷轴单元2将其收回,该过程中,第一单元6随之反向翻转,而在反向翻转时,依靠于单向轴承,轴72不会随之转动,以使第一单元6能够复位。
为进一步提升遮阳效果,本实施例中,遮阳布一个侧边或两个侧边处包括有侧帘53,侧帘53上配置有松紧带,在无外力拉动侧帘53时,通过松紧带使侧帘53贴合于遮阳布5底面,而在遮阳布5展开后,通过手动拉动的方式将侧帘53外翻并包裹于车辆侧窗玻璃处。
本实施例中,卷轴单元2和第一驱动单元4电连接有控制单元和电池单元,控制单元包括有信号接收单元,信号接收单元与控制器电连接或无线连接,通过控制器控制卷轴单元和第一驱动单元的启动和关闭,控制器可为设置于主壳体外的按钮,该种方式下其与信号接收单元电连接;控制器又可为无线遥控器,该种方式下其与信号接收单元无线连接。
因本申请用于户外,可进一步的将电池单元设计为太阳能电池,太阳能面板可布置于主壳体顶面上。
以上实施例仅用以说明本发明的技术方案,而非对其限制;尽管参照前述实施例对本发明进行了详细的说明,本领域的普通技术人员应当理解:其依然可以对前述各实施例所记载的技术方案进行修改,或者对其中部分技术特征进行等同替换;而这些修改或者替换,并不使相应技术方案的本质脱离本发明各实施例技术方案的精神和范围。




