名称:一种握笔高度指引的铅芯卷笔刀
专利号:202422633952.9
专利权人:杨艳秋
技术领域
本实用新型属于卷笔刀技术领域,特别是涉及一种握笔高度指引的铅芯卷笔刀。
背景技术
铅芯卷笔刀又称削笔刀,是学生必备的文具。卷笔刀有单孔和双孔两款的简易样式,也有火车头样式,火车头样式具有自动推送、碎屑自动收集、使用省力等优点;
为了提升学生握笔标准度,需要在握笔位置形成标记,从而对握笔位置形成一定约束,而现有的削笔刀只能起到削笔作用,由于每次削笔后铅笔的整体长度会随之缩短,随着长度变化,握笔位置也发生了改变,显然固定式的握笔高度指引结构无法满足需求;
为解决上述问题,本申请中提出一种握笔高度指引的铅芯卷笔刀。
实用新型内容
本实用新型的目的在于提供一种握笔高度指引的铅芯卷笔刀,解决了上述背景技术中提出的问题。
为解决上述技术问题,本实用新型是通过以下技术方案实现的:
本实用新型为一种握笔高度指引的铅芯卷笔刀,包括卷笔刀本体,所述卷笔刀本体前端设有夹持部件,所述夹持部件前端设有安装盒,所述安装盒靠近夹持部件一侧设有隔板,所述安装盒内部设有圆周分布的两组开槽部件,所述开槽部件对铅笔外部开设环形槽,所述安装盒侧面对称设有与两组开槽部件配合的按压部件,所述开槽部件通过按压部件的按压与铅笔接触,所述安装盒与两组开槽部件之间还设有可调节开槽高度的调节部件;所述开槽部件中设有V形刀,所述V形刀前端成型有刀刃,两侧成型有将环形槽两端倒角的圆角,所述V形刀内侧设有便于排屑的排屑槽。
进一步地,所述调节部件包括转动设置在安装盒前端的调节轮和转动设置在安装盒和隔板之间的丝杠,以及螺纹套合在丝杠外部的调节座,两组所述开槽部件呈圆周分布安装在调节座上。
进一步地,所述调节轮和安装盒中均贯穿开设有用于铅笔插入的通孔,且所述调节轮在安装盒内部和前端,所述丝杠沿调节轮为圆周分布的多根,多根丝杠同时与调节座螺纹配合。
进一步地,所述调节轮内侧外部设置有齿圈,所述丝杠一端设有与齿圈啮合的齿轮。
进一步地,所述开槽部件还包括固定在V形刀上且贯穿滑动在调节座中的连接板和固定在连接板另一端的压板,以及设置在压板与调节座之间的第一弹簧。
进一步地,所述按压部件包括固定在安装盒内侧和隔板上的滑座和滑动在滑座中的压座,以及固定在压座一端且贯穿安装盒侧面的第二弹簧和支撑在安装盒内侧与压座之间且套合在导向杆外部的第二弹簧。
进一步地,所述导向杆远离压座一端固定有按动块,所述按动块位于安装盒侧面,所述压座将调节部件带动开槽部件的调节范围覆盖。
本实用新型具有以下有益效果:
本实用新型通过在夹持部件前端设置安装盒,然后在安装盒内部设置开槽部件和按压部件,铅笔削好不拔出并逆向旋转,同时按压按压部件并带动开槽部件在铅笔上形成环形槽,通过该环形槽对握笔位置形成指引和约束,进而起到握笔高度校正目的;
本实用新型通过在安装盒与开槽部件之间设置调节部件,调节部件可在不影响开槽部件与按压部件配合的同时对开槽部件进行位置调节,进而能在学生成长阶段适应不同大小的手掌,也能适应更多年龄段人群,适应性和实用性都得到了提升。
当然,实施本实用新型的任一产品并不一定需要同时达到以上所述的所有优点。
附图说明
为了更清楚地说明本实用新型实施例的技术方案,下面将对实施例描述所需要使用的附图作简单的介绍,显而易见地,下面描述中的附图仅仅是本实用新型的一些实施例,对于本领域普通技术人员来讲,在不付出创造性劳动的前提下,还可以根据这些附图获得其他的附图。
图1为本实用新型的整体外观结构示意图;
图2为图1后视的结构示意图;
图3为图1中夹持部件伸出时的结构示意图;
图4为本实用新型中安装盒内部的结构示意图;
图5为本实用新型中安装盒后视半剖的结构示意图;
图6为本实用新型中安装盒与夹持部件侧视半剖的结构示意图;
图7为本实用新型中开槽部件局部放大的结构示意图;
图8为图4中A部分放大的结构示意图;
图9为图4中B部分放大的结构示意图;
附图中,各标号所代表的部件列表如下:
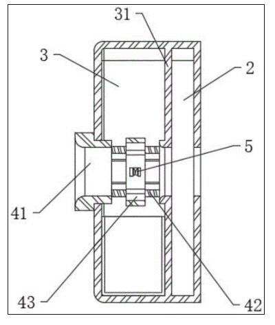
图中:1、卷笔刀本体;2、夹持部件;3、安装盒;31、隔板;4、调节部件;41、调节轮;411、齿圈;42、丝杠;421、齿轮;43、调节座;5、开槽部件;51、V形刀;511、刀刃;512、圆角;513、排屑槽;52、连接板;53、压板;54、第一弹簧;6、按压部件;61、滑座;62、压座;63、导向杆;64、第二弹簧;65、按动块。
具体实施方式
下面将结合本实用新型实施例中的附图,对本实用新型实施例中的技术方案进行清楚、完整的描述,显然,所描述的实施例仅仅是本实用新型一部分实施例,而不是全部的实施例。基于本实用新型中的实施例,本领域普通技术人员在没有做出创造性劳动前提下所获得的所有其它实施例,都属于本实用新型保护的范围。
在本实用新型的描述中,需要理解的是,术语“开孔”、“上”、“下”、“厚度”、“顶”、“中”、“长度”、“内”、“四周”等指示方位或位置关系,仅是为了便于描述本实用新型和简化描述,而不是指示或暗示所指的组件或元件必须具有特定的方位,以特定的方位构造和操作,因此不能理解为对本实用新型的限制。
请参阅图1-9所示,本实用新型为一种握笔高度指引的铅芯卷笔刀,包括卷笔刀本体1,卷笔刀本体1前端设有夹持部件2,夹持部件2前端设有安装盒3,安装盒3靠近夹持部件2一侧设有隔板31,安装盒3内部设有圆周分布的两组开槽部件5,开槽部件5对铅笔外部开设环形槽,安装盒3侧面对称设有与两组开槽部件5配合的按压部件6,开槽部件5通过按压部件6的按压与铅笔接触,安装盒3与两组开槽部件5之间还设有可调节开槽高度的调节部件4;开槽部件5中设有V形刀51,V形刀51前端成型有刀刃511,两侧成型有将环形槽两端倒角的圆角512,V形刀51内侧设有便于排屑的排屑槽513。
其中,调节部件4包括转动设置在安装盒3前端的调节轮41和转动设置在安装盒3和隔板31之间的丝杠42,以及螺纹套合在丝杠42外部的调节座43,两组开槽部件5呈圆周分布安装在调节座43上,本实施例中将调节轮41前端置于安装盒3外部便于开槽部件5的调节,调节轮41与安装盒3之间可采用阻尼旋转连接,可更好地保证调节后稳定性。
其中,调节轮41和安装盒3中均贯穿开设有用于铅笔插入的通孔,且调节轮41在安装盒3内部和前端,丝杠42沿调节轮41为圆周分布的多根,多根丝杠42同时与调节座43螺纹配合,调节轮41内侧外部设置有齿圈411,丝杠42一端设有与齿圈411啮合的齿轮421,本实施例中通过一个齿圈411带动多个齿轮421并带动多根丝杠42同时旋转并与调节座43同步配合,多根丝杠42在可调节的同时还起到支撑作用。
其中,开槽部件5还包括固定在V形刀51上且贯穿滑动在调节座43中的连接板52和固定在连接板52另一端的压板53,以及设置在压板53与调节座43之间的第一弹簧54,本实施例中V形刀51在第一弹簧54作用下与铅笔自动脱离。
其中,按压部件6包括固定在安装盒3内侧和隔板31上的滑座61和滑动在滑座61中的压座62,以及固定在压座62一端且贯穿安装盒3侧面的第二弹簧64和支撑在安装盒3内侧与压座62之间且套合在导向杆63外部的第二弹簧64,本实施例中第二弹簧64复位时压座62不与开槽部件5接触。
其中,导向杆63远离压座62一端固定有按动块65,按动块65位于安装盒3侧面,压座62将调节部件4带动开槽部件5的调节范围覆盖,本实施例中按动块65为两块对称分布在安装盒3侧面,本实用新型适应夹持部件2的夹持按压块位于侧面的卷笔刀,实际使用时需要同时按压两侧的按动块65和夹持部件2侧面侧按钮,通过将压座62覆盖开槽部件5的调节范围,无论开槽部件5在该范围内调整至任何位置,按动按压部件6后都能推动开槽部件5与铅笔接触并开设环形槽。
可以理解的是,通过设置的开槽部件和按压部件配合能在铅笔削好后的外部形成环形标记,进而对握笔高度起到指引和约束作用,利于校正握笔姿势,其次设置的安装盒可在不影响开槽部件和按压部件配合的前提下对开槽部件进行调节,进而适应不同成长阶段和不同年龄段学生的使用。
本实施例的一个具体应用为:复位状态下按压部件6不与开槽部件5接触,开槽部件5不与铅笔接触,卷笔刀本体1使用时,夹持部件2从卷笔刀本体1前端拉出并将铅笔夹持,通过卷笔刀本体1将铅笔削好,此时铅笔不取出,按压按压部件6并推动开槽部件5与铅笔接触,此时逆向旋转铅笔,从而在铅笔上开设环形槽,松开按压部件6后开槽部件5自动与铅笔脱离,然后将铅笔取出即可,为了便于铅笔的逆向旋转,如图1和图3所示夹持部件2的按钮位于侧面,按动按压部件6的同时将其按钮同时按压,进而将夹持部件2脱离对铅笔的夹持;
开槽部件5和按压部件6的配合:同时按压两侧的按动块65,通过导向杆63带动压座62在滑座61中滑动,导向杆63被拉伸,压座62前端推动压板53,连接板52在调节座43中滑动并将V形刀51推动至与铅笔接触,随着铅笔的转动,刀刃511进行开槽,圆角512对槽的两端进行圆边,开槽后的碎屑通过排屑槽513排出并落入安装盒3中的碎屑槽内,使用一段时间后将碎屑槽从安装盒3侧面取出倾倒即可;
调节部件4的调节,从安装盒3前端转动调节轮41,齿圈411转动后通过与齿轮421的啮合带动丝杠42在安装盒3中转动,丝杠42与调节座43啮合后产生的移动力带动调节座43和开槽部件5移动调整位置。
在本说明书的描述中,参考术语“一个实施例”、“示例”、“具体示例”等的描述意指结合该实施例或示例描述的具体特征、结构、材料或者特点包含于本实用新型的至少一个实施例或示例中。在本说明书中,对上述术语的示意性表述不一定指的是相同的实施例或示例。而且,描述的具体特征、结构、材料或者特点可以在任何的一个或多个实施例或示例中以合适的方式结合。
以上公开的本实用新型优选实施例只是用于帮助阐述本实用新型。优选实施例并没有详尽叙述所有的细节,也不限制该实用新型仅为所述的具体实施方式。显然,根据本说明书的内容,可作很多的修改和变化。本说明书选取并具体描述这些实施例,是为了更好地解释本实用新型的原理和实际应用,从而使所属技术领域技术人员能很好地理解和利用本实用新型。本实用新型仅受权利要求书及其全部范围和等效物的限制。




