名称:电力塔的攀爬防护装置
专利号:202311419837.5
专利权人:阚海力
技术领域
本申请涉及电力设备的领域,具体涉及一种电力塔的攀爬防护装置。
背景技术
电力塔是现代电力系统中不可或缺的基础设施,主要用于架设输电和配电线路,确保电力的稳定传输。电力塔用于承受各种环境条件下的电线、绝缘子和其他附属设备的重量,同时保持带电体与接地部分的有效安全距离。
为了确保电力塔的结构完整性和电力传输的稳定性,电力塔需要定期进行检修。检修的目的主要是发现并修复任何可能的损坏、腐蚀或其他缺陷。常见的检修方式是人工攀爬,专业的电力塔工人会沿着塔体进行全面检查,确保每一个部件都在良好的工作状态。
在人工攀爬过程中,为了确保工人的安全,必须穿戴专业的防坠安全设备。现有技术公开一种电力铁塔安全攀登装置(授权公告号:CN219492185U),工人首先穿戴安全带,然后将安全带的挂钩挂在电力塔的固定箱的安全环上,电力塔上通常还有交错布置的手脚杆,它们被称为爬杆,工人通过这些爬杆安全地攀爬至塔顶进行检修。然而,每次攀爬一小段距离后,工人都需要重新调整一次限位杆和限位管,再继续攀爬,这不仅操作繁琐,而且非常费力,尤其当电力塔高度达到近百米时,如此的反复锁定和解锁会大大增加工作难度,延长工作时间,并增加工人的体力消耗和潜在的安全风险。
发明内容
为此,本申请提供一种电力塔的攀爬防护装置,以解决现有技术中工人攀爬电力塔过程中,需要反复锁定、解锁连接安全带的锁定结构,而浪费人力的问题。
为了实现上述目的,本申请提供如下技术方案:
一种电力塔的攀爬防护装置,所述电力塔包括塔体和连接于所述塔体的爬杆,所述爬杆包括支撑杆和多个连接于所述支撑杆且便于工人攀爬的手脚杆,多个所述手脚杆沿所述支撑杆的长度方向的两侧交错布置,所述支撑杆通过多个连接件连接于所述塔体,以使所述支撑杆与塔体之间具有间隙,且所述支撑杆的长度方向沿所述塔体的高度方向延伸;
所述攀爬防护装置包括连接于所述塔体的固定仓和连接于固定仓且用于连接安全带的定位件,所述固定仓包括上行仓和连接于所述上行仓的下行仓,所述上行仓远离所述塔体的一侧沿所述塔体的高度方向开设有第一滑槽,所述定位件的一端嵌设于所述第一滑槽内,另一端伸出所述第一滑槽,所述定位件远离所述第一滑槽的一端连接有用于连接安全带的挂环,所述第一滑槽靠近槽口处连接有用于限制所述定位件滑出所述第一滑槽的限位板,所述第一滑槽的槽壁连接有多个第一限位组件,多个所述第一限位组件沿所述第一滑槽的长度延伸方向间隔布置,所述第一限位组件具有用于限制所述定位件沿所述第一滑槽的长度延伸方向向下滑动的限位面,且所述第一限位组件还具有便于所述定位件沿所述第一滑槽的长度延伸方向向上移动的第一引导面;
所述下行仓远离所述塔体的一侧沿所述塔体的高度方向开设有第二滑槽,所述第一滑槽和所述第二滑槽首尾连通形成便于所述定位件滑动的循环通道,所述第二滑槽靠近槽口处连接有用于限制所述定位件滑出所述第二滑槽的限位板,所述第二滑槽的槽壁连接有用于限制所述定位件沿所述第二滑槽的长度延伸方向自由下落的第二限位组件。
可选地,所述第一限位组件包括导向板和连接于所述导向板的一端的限位块,所述导向板远离所述限位块的一端转动连接于所述第一滑槽远离所述限位板的槽壁,所述限位块与所述第一滑槽远离所述限位板的槽壁之间连接有弹性件,所述弹性件的弹性力用于使所述导向板靠近所述限位块的一端抵靠于所述限位板,所述导向板远离所述限位块的一侧形成所述第一引导面,所述限位块的顶部形成所述限位面;所述定位件包括嵌入所述第一滑槽的导向件和连接于所述导向件且伸出所述第一滑槽的手持杆,所述挂环连接于所述手持杆远离所述导向件的一端,所述导向件具有配合所述第一引导面的第二引导面。
可选地,所述第二限位组件包括多个止挡块,多个所述止挡块沿所述第二滑槽的长度延伸方向的两侧交错布置,所述止挡块用于沿所述第二滑槽的长度延伸方向阻挡所述定位件,在所述第二滑槽的长度延伸方向上,相邻两个所述止挡块之间具有垂直于所述第二滑槽的长度延伸方向且便于定位件移动的滑移间隙。
可选地,位于所述第二滑槽的长度延伸方向上的同一侧的相邻两个止挡块之间具有让位间隙,位于所述第二滑槽的另一侧的止挡块部分伸入所述让位间隙。
可选地,所述止挡块的顶面连接于有摩擦层。
可选地,所述上行仓或下行仓的底部的侧壁开设有连通所述循环通道且用于所述定位件滑出的检修槽。
可选地,所述第一滑槽和所述第二滑槽分别位于所述支撑杆远离所述手脚杆的一侧。
可选地,所述弹性件为弹簧。
可选地,所述导向板通过球铰连接于所述第一滑槽的槽壁。
相比现有技术,本申请至少具有以下有益效果:
工人沿着爬杆向塔体的顶部攀爬,攀爬前,将穿戴在身上的安全带的安全绳的挂钩挂在定位件的挂环上,工人在攀爬的过程中,可以带着定位件沿第一滑槽的长度延伸方向一起向塔体的顶部移动,第一限位组件具有配合定位件的第一引导面,定位件向上移动的过程中不会受到限制,当出现意外情况时,第一限位组件的限位面可以限制定位件向下滑动,进而可以保护工人不会坠落,在工人向上攀爬的过程中,不需要人手操作定位件,节省人力和时间,提高工作效率,即第一限位组件具有单向锁定的功能特点,由于第一滑槽和第二滑槽连通,当工人完成检修工作,需要向下攀爬时,将定位件移动到第二滑槽内,第二限位组件可以阻止定位件的自由下落,即保护工人的安全向下攀爬。
附图说明
为了更直观地说明现有技术以及本申请,下面给出几个示例性的附图。应当理解,附图中所示的具体形状、构造,通常不应视为实现本申请时的限定条件;例如,本领域技术人员基于本申请揭示的技术构思和示例性的附图,有能力对某些单元(部件)的增/减/归属划分、具体形状、位置关系、连接方式、尺寸比例关系等容易作出常规的调整或进一步的优化。
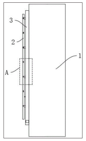
图1为本申请一个实施例提供的一种电力塔的攀爬防护装置的整体结构示意图;
图2为图1的侧视图;
图3为图2中A处放大图;
图4为图1的正视图;
图5为本申请一个实施例提供的一种电力塔的攀爬防护装置的固定仓的正视图;
图6为图5沿a方向的剖视图;
图7为图6的B处放大图;
图8为图7的正视图;
图9为图5沿b方向的剖视图;
图10为本申请一个实施例提供的一种电力塔的攀爬防护装置的固定仓的下行仓的结构示意图;
图11为图10沿c-c方向的剖视图;
图12为图11中C处放大图;
图13为本申请另一个实施例提供的一种电力塔的攀爬防护装置的固定仓的安装方式示意图。
附图标记说明:
1、塔体;2、爬杆;21、支撑杆;22、手脚杆;23、连接件;3、固定仓;31、上行仓;311、第一滑槽;32、下行仓;321、第二滑槽;33、检修槽;34、限位板;35、定位件;351、导向件;3511、第二引导面;352、手持杆;353、挂环;36、第一限位组件;361、导向板;3611、第一引导面;362、限位块;3621、限位面;363、弹性件;364、球铰;37、第二限位组件;371、止挡块;372、让位间隙;373、红外检测器;4、角铁。
具体实施方式
为了使本申请的目的、技术方案及优点更加清楚明白,以下结合附图及实施例,对本申请进行进一步详细说明。应当理解,此处描述的具体实施例仅仅用以解释本申请,并不用于限定本申请。
在本申请的描述中:除非另有说明,“多个”的含义是两个或两个以上。本申请中的术语“第一”、“第二”、“第三”等旨在区别指代的对象,“左”、“右”为图面方向的左和右,而不具有技术内涵方面的特别意义(例如,不应理解为对重要程度或次序等的强调)。“包括”、“包含”、“具有”等表述方式,同时还意味着“不限于”(某些单元、部件、材料、步骤等)。
参考图1-12,本申请公开一种电力塔的攀爬防护装置,电力塔包括塔体1和连接于塔体1的爬杆2,爬杆2包括支撑杆21和多个连接于支撑杆21且便于工人攀爬的手脚杆22,多个手脚杆22沿支撑杆21的长度方向的两侧交错布置,支撑杆21通过多个连接件23连接于塔体1,以使支撑杆21与塔体1之间具有间隙,且支撑杆21的长度方向沿塔体1的高度方向延伸;
攀爬防护装置包括连接于塔体1的固定仓3和连接于固定仓3且用于连接安全带的定位件35,固定仓3包括上行仓31和连接于上行仓31的下行仓32,上行仓31远离塔体1的一侧沿塔体1的高度方向开设有第一滑槽311,定位件35的一端嵌设于第一滑槽311内,另一端伸出第一滑槽311,定位件35远离第一滑槽311的一端连接有用于连接安全带的挂环353,第一滑槽311靠近槽口处连接有用于限制定位件35滑出第一滑槽311的限位板34,第一滑槽311的槽壁连接有多个第一限位组件36,多个第一限位组件36沿第一滑槽311的长度延伸方向间隔布置,第一限位组件36具有用于限制定位件35沿第一滑槽311的长度延伸方向向下滑动的限位面3621,且第一限位组件36还具有便于定位件35沿第一滑槽311的长度延伸方向向上移动的第一引导面3611;
下行仓32远离塔体1的一侧沿塔体1的高度方向开设有第二滑槽321,第一滑槽311和第二滑槽321首尾连通形成便于定位件35滑动的循环通道,第二滑槽321靠近槽口处连接有用于限制定位件35滑出第二滑槽321的限位板34,第二滑槽321的槽壁连接有用于限制定位件35沿第二滑槽321的长度延伸方向自由下落的第二限位组件37。
工人沿着爬杆2向塔体1的顶部攀爬,攀爬前,将穿戴在身上的安全带的安全绳的挂钩挂在定位件35的挂环353上,工人在攀爬的过程中,可以带着定位件35沿第一滑槽311的长度延伸方向一起向塔体1的顶部移动,第一限位组件36具有配合定位件35的第一引导面3611,定位件35向上移动的过程中不会受到限制,当出现意外情况时,第一限位组件36的限位面3621可以限制定位件35向下滑动,进而可以保护工人不会坠落,在工人向上攀爬的过程中,不需要人手操作定位件35,节省人力和时间,提高工作效率,即第一限位组件36具有单向锁定的功能特点,由于第一滑槽311和第二滑槽321连通,当工人完成检修工作,需要向下攀爬时,将定位件35移动到第二滑槽321内,第二限位组件37可以阻止定位件35的自由下落,即保护工人的安全向下攀爬。
上行仓31和下行仓32分别位于支撑杆21的左右两侧;多个连接件23穿过固定仓3,固定仓3可以焊接在塔体1上。
在本申请中,塔体1为钢结构的圆柱塔体1;参考图13,图13示出角铁4和固定仓3配合的横截面图,在一些其它实施例中,当塔体1为角铁塔时,一般有四根角铁4,固定仓3焊接在其中一个角铁4的一个边的外侧壁,固定仓3的长度延伸方向与角铁4的长度延伸方向同向,工人沿角铁4外侧伸出的爬杆2攀爬。
参考图5-9,第一限位组件36包括导向板361和连接于导向板361的一端的限位块362,导向板361远离限位块362的一端转动连接于第一滑槽311远离限位板34的槽壁,限位块362与第一滑槽311远离限位板34的槽壁之间连接有弹性件363,弹性件363的弹性力用于使导向板361靠近限位块362的一端抵靠于限位板34,导向板361远离限位块362的一侧形成第一引导面3611,限位块362的顶部形成限位面3621;定位件35包括嵌入第一滑槽311的导向件351和连接于导向件351且伸出第一滑槽311的手持杆352,挂环353连接于手持杆352远离导向件351的一端,导向件351具有配合第一引导面3611的第二引导面3511。
当工人向上攀爬时,定位件35的第二引导面3511抵靠到第一引导面3611,并挤压导向板361,导向板361通过限位块362挤压弹性件363,使导向板361靠近限位块362的一端向第一滑槽311的槽底移动,这样,定位件35可以沿着第一引导面3611向上滑动,直至移动到导向板361的上方,导向板361在弹性件363的反作用力下抵靠到限位板34上,这时,即使导向件351向下滑动,导向件351也会被限制在限位块362的限位面3621上,导向板361的一端转动连接于第一滑槽311的槽底,限位块362、导向板361、第一滑槽311的槽底和限位板34形成稳定的支撑结构,限制导向件351向下滑动,实现单向锁定的功能。
参考图9-12,第二限位组件37包括多个止挡块371,多个止挡块371沿第二滑槽321的长度延伸方向的两侧交错布置,止挡块371用于沿第二滑槽321的长度延伸方向阻挡定位件35,在第二滑槽321的长度延伸方向上,相邻两个止挡块371之间具有垂直于第二滑槽321的长度延伸方向且便于定位件35移动的滑移间隙372。
当工人向下攀爬时,定位件35的导向件351向下移动时,被止挡块371阻挡,避免导向件351自由下落,多个止挡块371沿竖直方向左右交错布置,这样定位件35将呈“S”形状的路径向下移动,即工人向下攀爬一段距离,人手抓握定位件35的手持杆352左右拨动即可,操作简单,工人的一只手也可以一直抓握定位件35的手持杆352,另一只手抓握手脚杆22即可。
在本申请中,上行仓31和下行仓32的限位板34都具有配合第一滑槽311和第二滑槽321的长槽,上行仓31的限位板34的长槽沿竖直方向延伸,下行仓32的限位板34的长槽呈“S”形延伸。
位于第二滑槽321的长度延伸方向上的同一侧的相邻两个止挡块371之间具有让位间隙372,位于第二滑槽321的另一侧的止挡块371部分伸入让位间隙372。
这样,当定位件35从上向下移动时,止挡块371伸入让位间隙371的部分可有效阻挡定位件35在重力的作用下可能一下越过很多止挡块371,造成不必要的安全风险,尤其是当止挡块371的边缘在长时间使用之后产生磨损时,磨损的地方很容易产生对止挡块371的引导,或者磨损的地方产生一个较大的缺口,很容易使得定位件35一下越过下一层的止挡块371的阻挡。
在一些实施例中,左右两侧相邻的两个止挡块371相互靠近的一侧还可以设置有红外检测器373,红外检测器373用于检测两个止挡块371之间的距离,因为磨损就会造成相邻的两个止挡块371之间的距离变化,进而可以检测止挡块371的磨损情况,红外检测器373将检测数据传递给地面的终端设备,可以对整个下行仓32的止挡块371的磨损情况的进行监测,可以提前进行维修。
止挡块371的顶面连接于有摩擦层。
上行仓31或下行仓32的底部的侧壁开设有连通循环通道且用于定位件35滑出的检修槽33。定位件35可以通过检修槽33从循环通道滑出,对定位件35进行更换或检修。
第一滑槽311和第二滑槽321分别位于支撑杆21远离手脚杆22的一侧。这样,工人在攀爬的过程中,安全带的安全绳避免缠绕在手脚杆22上;另外,安全绳连接在安全带的位置可以选择工人的腰的两侧,也可以选择腰后。
弹性件363为弹簧。
导向板361通过球铰364连接于第一滑槽311的槽壁。
以上实施例的各技术特征可以进行任意的组合(只要这些技术特征的组合不存在矛盾),为使描述简洁,未对上述实施例中的各个技术特征所有可能的组合都进行描述;这些未明确写出的实施例,也都应当认为是本说明书记载的范围。
上文中通过一般性说明及具体实施例对本申请作了较为具体和详细的描述。应当理解,基于本申请的技术构思,还可以对这些具体实施例作出若干常规的调整或进一步的创新;但只要未脱离本申请的技术构思,这些常规的调整或进一步的创新得到的技术方案也同样落入本申请的权利要求保护范围。



