名称:直轴式内燃机
专利号:201320075017.4
专利权人:何瑞森
技术领域
本实用新型属于一种往复活塞式发动机。
背景技术
目前的内燃机存在着三大主要缺点:
1、当供油爆发时压强最大,曲轴柄向上垂直没有力臂、扭转力矩从零开始;
2、连杆的摆动给活塞一个侧推力,使连杆对两头都产生一个支力的分解;
3、下止点前40°左右开启排气门,过多过早的排掉了能量。
发明内容
本实用新型的目的在于提供一种直轴式内燃机,解决了现有的内燃机当供油爆发时压强最大、曲轴柄向上垂直没有力臂、扭转力矩从零开始又到零终止,连杆的摆动给活塞一个侧推力、使连杆对两头都产生一个支力的分解,三个辅助行程也如此,下止点前40°左右开启排气门、过多过早的排掉了能量的问题。
本实用新型的技术解决方案是:直轴式内燃机由上椭圆传动齿轮、下椭圆传动齿轮、中间椭圆传动齿轮、上半边椭圆齿轮、下半边椭圆齿轮、双面齿条连杆、传动大齿轮、传动小齿轮、调速器轴、平衡块、配气凸轮、供油泵凸轮、机油泵驱动扁头、摇爪、汽缸、活塞、上齿轮轴、动力输出轴、下齿轮轴、凸轮轴、配重飞轮、壳体、外挎壳体组成,双面齿条连杆把活塞的推力传给上半边椭圆齿轮、下半边椭圆齿轮,使与它们固定在一根轴上的上椭圆传动齿轮、下椭圆传动齿轮把动力通过中间椭圆传动齿轮传输,并控制双面齿条连杆做往复运动。
本实用新型的优点是:
1、结构简单、成本低;
2、效率高,节省能源、功率大;
3、耐用寿命长。
附图说明
图1是本实用新型的剖视图
图2是本实用新型凸轮轴上大小传动齿轮和平衡块传动齿轮的示意图
图3是本实用新型半边椭圆齿轮与双面齿条连杆啮合的示意图
图4是本实用新型半边椭圆齿轮与双面齿条连杆啮合的示意图
图5是本实用新型半边椭圆齿轮与双面齿条连杆啮合的示意图
图6是本实用新型的活塞示意图
图7是本实用新型的梯形卡簧示意图
图8是本实用新型的调整垫片示意图
图9是本实用新型的双面齿条连杆示意图
图10是本实用新型的壳体与外挎壳体结构示意图
图11是本实用新型的三个椭圆传动齿轮的动态示意图
具体实施方式
本实用新型是采用对置双缸、双直轴、双面齿条连杆机构的内燃机。
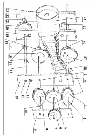
直轴式内燃机由上椭圆传动齿轮3、下椭圆传动齿轮8、中间椭圆传动齿轮5、平衡块25、平衡块33、上半边椭圆齿轮27、下半边椭圆齿轮16、双面齿条连杆28、传动大齿轮20、传动小齿轮30、配气凸轮15、供油泵凸轮21、摇爪29、汽缸24、活塞23、上齿轮轴4、动力输出轴7、下齿轮轴10、凸轮轴14、配重飞轮6、壳体13、外挎壳体9、22组成,双面齿条连杆28把活塞23的推力传给上半边椭圆齿轮27、下半边椭圆齿轮16,使与它们固定在一根轴上的上椭圆传动齿轮3、下椭圆传动齿轮8把动力通过中间椭圆传动齿轮5传输,并控制双面齿条连杆28做往复运动。
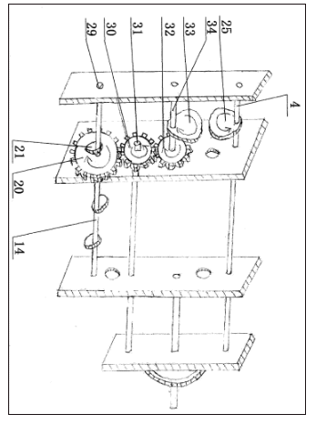
上齿轮轴4上固定有上半边椭圆齿轮27、上椭圆传动齿轮3、平衡块25,上半边椭圆齿轮27与上椭圆传动齿轮3的长半径在上齿轮轴4上成为90°角安装。下齿轮轴10上固定有下半边椭圆齿轮16、传动小齿轮30、这一端轴头31为调速器轴,下椭圆传动齿轮8,下半边椭圆齿轮16与下椭圆传动齿轮8的长半径在下齿轮轴10上成为90°角安装。动力输出轴7上固定有中间椭圆传动齿轮5、飞轮6。中间椭圆传动齿轮5的长半径对应上椭圆传动齿轮3、下椭圆传动齿轮8的短半径安装。此时上半边椭圆齿轮27的长半径有齿一面和下半边椭圆齿轮16无齿面处在双面齿条连杆28中间最洼处,并且两个平衡块25在上齿轮轴4和平衡块33在平衡块轴34上处于两个大头相对而固定,并且两个大头指向两个活塞运动的反方向。凸轮轴14上固定有传动大齿轮20、配气凸轮15、供油泵凸轮21、摇爪29,另一端为机油泵驱动扁头12,传动大齿轮20与传动小齿轮30啮合,啮合的规则是:当双面齿条连杆28上的活塞23处于汽缸24的左端压缩止点位置时,主动半边齿头齿跟双面齿条连杆28这一端的头齿即将分离,这时供油泵凸轮21顶开油泵柱塞,而配气凸轮15应将这一端两气门关闭,完成爆发。
双面齿条连杆28与活塞23通过连接盘37与连接盘50相连接,连接盘37上的定位凸桩38与连接盘50上的定位凹槽51相配合,再用梯形卡簧35安装在卡簧槽53中,中间的导轨桩39置于导轨滑槽48中。
下齿轮轴10上设有油道孔1,上齿轮轴4上设有油道孔2,上半边椭圆齿轮27上设有甩油孔26,,下半边椭圆齿轮16上设有甩油孔18,壳体13、19上设有过油孔11、17,活塞23上设有油环过油孔55。
上半边椭圆齿轮27、下半边椭圆齿轮16、双面齿条连杆28上的头齿与末齿使用一定时间后会磨损,可在活塞23底部加垫片36。
活塞23上设有散热凹槽52,双面齿条连杆28上两端设有加强筋41。
壳体13、19上设有汽缸孔42、挺杆孔43、水道孔44、缸盖螺栓孔45、放水孔46、配重飞轮6固定在动力输出轴7上。
传动大齿轮20与传动小齿轮30的齿数比为2∶1,壳体13、19与外挎壳体9、22封闭连接。
当爆发时,双面齿条连杆28头齿与上半边椭圆齿轮27、下半边椭圆齿轮16头齿啮合,此时为短半径,对轮轴有一定的力臂,使在一根轴上的全齿椭圆轮齿轮长半径与中间齿轮的短半径啮合,这就是动力臂短,阻力臂长,即克服了曲轴的从零开始的缺点,又避免了此时如果等时、等量、等压的转变为扭转力矩,动力输出轴就会象爆发气压差产生剧烈地周期性强弱变化而无法工作。然而它的这一特点却恰恰适应了内燃机的内在特点。随之转动到45度时动、阻力臂平等;到90度时,动力臂大于阻力臂,下半个行程又重复这个变化。所以动力输出轴的扭转力矩是比较均匀的,当活塞23到达这一个止点时正是这个半边齿轮的末齿即将离开齿条连杆上的末齿,这时上面的被动的半边齿轮在三个传动齿轮的控制下,它的头齿即将进入双面齿条连杆28上的头齿谷转变为主动齿轮。因为有中间齿轮5将上半边椭圆齿轮27、下半边椭圆齿轮16转变为反方向运转,而每个齿轮总向一个方向旋转,主动半边齿轮末齿跟双面齿条连杆这一端的末齿即将分离,此时被动的半边椭圆齿轮的头齿也即将啮合,所以就能将双面齿条连杆28控制着两头的活塞23做往复运动。同时又有凸轮轴14上的供油、配气机构遵守完成两端的吸、压、爆、排顺序准确工作,向外输出动能。
当上半边椭圆齿轮27上的齿牙与双面齿条连杆28上的齿牙啮合时,下半边椭圆齿轮16正是无齿的一面面向双面齿条连杆28。当下半边椭圆齿轮16上的齿牙与双面齿条连杆28上的齿牙啮合时,上半边椭圆齿轮27也正是无齿的一面面向双面齿条连杆28。上半边椭圆齿轮27、下半边椭圆齿轮16的齿数与双面齿条连杆28的齿数相同,上半边椭圆齿轮27、下半边椭圆齿轮16的有齿面的半周长与活塞23的行程长度相等,确保止点的精确。这样即避免因爆振而损失能量也没有烧瓦现象。
直轴传动避免了曲轴机连杆摆动中产生的两端支力的分解、侧压力及过度磨擦。因为上半边椭圆齿轮27、下半边椭圆齿轮16与双面齿条连杆28总是以90度的最佳给力角度,或者说切线方向转变为直轴的扭转力矩,转换率更大。
活塞23在汽缸24中也像曲轴机那样两头慢、中间快,适应了压缩终了前几度供油或点火,此时燃油需经雾化、混合、蒸发、燃烧这个物理与化学反应在时间和空间上的需要。虽然5个椭圆齿轮的线速度有变化而动力输出轴7的角速度却是不变的,所以动力输出轴7是均速的旋转,在到达左右止点时即使稍有停顿也能满足上述要求。也大大缓解了往复惯性的冲击力。每逢到达左右止点时都是压缩与排气,把往复惯性的冲击力转变为两个行程必须的负功,并且做负功所需的正功直轴比曲轴也减少一半以上。
两个半边椭圆齿轮的凸出正圆部分等于双面齿条连杆中间下洼部分。
由于大大提高了将推力转变为扭转力矩的转变效率,所以要限制供油量,排气门可延迟到止点前20度角左右开启。
为适应爆发时的强大推力,双面齿条连杆28上的齿牙两头宽中间窄,由于它同时具有力臂、向外输送动力,而不致于损坏齿牙。由于限制供油量,当遇到突然超大阻力时也象曲轴机那样熄火。



