名称:一种多变径点旋喷二次成桩方法、钻孔桩非圆形冲击扩孔装置及其扩孔方法、平移式凿岩成孔机
专利号:202311457734.8、201610406965.X、201620868069.0
专利权人:叶晓明
技术领域
本发明涉及到土木工程旋喷桩技术,具体涉及一种多变径点旋喷二次成桩方法。
背景技术
旋喷桩技术具有引孔直径小、成孔费用低、总体造价低廉等优点,近年来得到大量应用,已经拓展到边坡工程、基础工程等领域,有逐渐取代静压注浆技术的趋势。
研究表明:传统旋喷技术,水泥浆射流进入土体后,很快就会雾化,且随着射流压力增加,雾化距离没有明显改变,故旋喷桩直径一般限制在0.6-0.8m左右;多管喷射技术,在水泥浆出口增设环状加高压气射流提高水泥浆射流非雾化距离,增加高压水射流松动土体。这些改进效果比较显著,喷桩直径扩展到2m左右,但水泥浆射流路径太长,造成施工工期长、水泥用量大、桩体水泥浆均匀性较差等弊病;预成孔旋喷技术,采用预成孔土体返填,确保旋喷土体为松散体,喷桩直径扩展到2m以上,桩体可进入岩体,起到嵌固作用。这种技术也有水泥浆射流路径太长的弊病,同时增加了预成孔成本。
现有技术中,有文献提出采用在旋喷钻杆上设支架的方式将旋喷嘴向外延伸,以形成大直径旋喷的目的。但是,由于采用高压水、气、水泥浆同时作用,结构十分复杂。另外,在钻进时旋喷支架阻力极大,支架结构及钻机动力均难以承受。因此,至今未见相应机械出现。综上,对于大直径旋喷桩而言,还有很多问题有待解决。
发明内容
至少为了解决背景技术中提到的技术问题,本发明提出了一种多变径点旋喷二次成桩方法,首先对旋喷土体进行松动处理,使多变径点旋喷装置可以进入土体,然后在水泥浆射流的有效影响范围基础上,扩大旋喷桩直径。
为了实现上述目的,本发明采用如下技术方案。
一种多变径点旋喷二次成桩方法,采用旋喷装置按旋喷桩半径R3预成孔返填土或土层松动旋喷,形成流塑态土体;
所述旋喷装置包括旋喷杆、锥形杆端、旋喷支架;
旋喷支架包括横向高压管、斜板、竖向板、加固板和圆环结构;斜板由上下两块组成,位于下方的斜板带刃口;
竖向板与旋喷杆和斜板固结;加固板与旋喷杆和横向高压管固结;横向高压管与旋喷杆固结并内部连通,并与斜板和圆环结构固结;锥形杆端上设置一级喷嘴P1,横向高压管端部设置二级喷嘴P2,一级喷嘴P1距旋喷杆轴线距离为R1,二级喷嘴P2距旋喷杆轴线距离为R2,R2-R1、R3-R2≤旋喷射流的有效影响范围Ry;
旋喷前,旋喷杆带动旋喷支架正向旋转,斜板向下切削土体,使锥形杆端沉入松散土体底部;旋喷时启动水泥浆泵,高压水泥浆由旋喷杆分别进入锥形杆端从一级喷嘴P1喷出,进入横向高压管从二级喷嘴P2喷出,同时旋喷杆反向转动往上提升,形成旋喷桩。
进一步地:采用预成孔方法松动土体时,旋喷装置先放置在孔中,然后返填土体;采用旋喷高压水、气方法松动土体时,土体形成流塑态后,旋喷装置旋转进入孔中。
再进一步地:旋喷支架的作用一是将二级喷嘴延伸到距旋喷杆轴线距离R2的位置,二是切削土体使锥形杆端沉入预成孔孔底,不受具体结构形式限制。
更进一步地:可通过增加设置旋喷支架方法,获得不同Ri的i级喷嘴结构;还可以通过在旋喷支架中横向高压管上增设喷嘴的方法,获得不同Ri的i级喷嘴结构。
还需要说明的是:旋喷支架的结构尺寸小于松散土体直径。
实施步骤
本发明多变径点旋喷二次成桩方法实施步骤为:
步骤1、根据经验和现场试验确定水泥浆旋喷射流影响范围;
步骤2、根据工程要求确定旋喷桩直径,根据旋喷桩直径和水泥浆体旋喷射流影响范围确定喷嘴级数;
步骤3、按传统方法设置一级喷嘴,按旋喷支架方法设置其它级喷嘴,每级喷嘴满足Ri-Ri-1≤Ry;
步骤4、调整旋喷支架上斜板倾斜度,使其容易快速旋转下沉,进入松动土体的底部;
步骤5、按步骤3、4加工各级旋喷支架及旋喷杆一体结构待用;
步骤6、按设计直径和旋喷桩长度,采用多管喷射技术由高压水、气、泥浆(或水泥浆)旋喷,在设计旋喷桩范围形成流塑性土体。当采用预成孔返土回填时,先将旋喷杆一体结构放入预成孔内,然后返土回填;
步骤7、对于土体松动旋喷方法,将带旋喷支架的旋喷杆一体结构放入孔口,正向旋转一体结构使下部进入流塑性土体底部;
步骤8、开启水泥浆体泵使浆体压力达到设计值,按施工要求的旋喷杆反向旋转、提升速度实施旋喷,直到上部孔口,实施完毕,关机。
本发明首次提出了将旋喷土体松动成流塑性状态,使带“变径点”多级旋喷装置可以进入土体旋喷;“变径点”多级旋喷解决了单级喷嘴由于雾化效应喷射半径有限的问题,无需增加高压水、气辅助,使大直径旋喷桩成为可能;从本发明原理上,桩径只与“变径点”多喷嘴分级有关,只受松动土体直径限制;多径向点旋喷有分层搅拌作用,旋喷支架有机械搅拌作用,浆体在桩体中分布均匀程度比传统单级旋喷大幅度提高,质量更可靠;⑤多径向点旋喷出浆量大,旋喷杆提升速度大,效率高;旋喷时不需要大量切割洗土,水泥浆返浆量大幅度降低,成本降低。大直径旋喷桩一直是工程中亟待解决的难题,本发明解决了这个难题,在地基加固、基础、水利、边坡等工程中有很大的应用前景。
附图说明
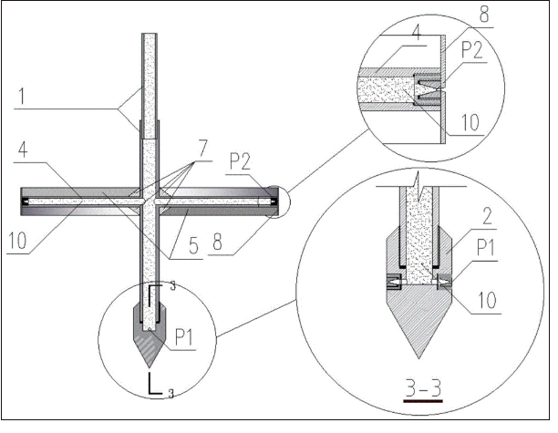
图1是多变径点旋喷二次成桩方法示意图;
图2是图1中旋喷支架部分放大示意图;
图3是图1中1-1剖面示意图;
图4是图1中2-2剖面示意图;
图5是多变径点旋喷二次成桩方法的结构剖面示意图。
图中:1-旋喷杆、2-锥形杆端、3-旋喷支架、4-横向高压管、5-斜版、6-竖向板、7-加固板、8-圆环结构、9-旋喷射流、10-高压水泥浆、P1-一级喷嘴、P2-二级喷嘴、R1-一级喷嘴与旋喷杆轴线之间的距离、R2-二级喷嘴与旋喷杆轴线之间的距离、R3-旋喷桩半径。
实施例
下面结合附图和具体实施例对本发明作进一步说明,但以下实施例的说明只是用于帮助理解本发明的原理及其核心思想,并非对本发明保护范围的限定。应当指出,对于本技术领域的普通技术人员来说,在不脱离本发明原理的前提下,针对本发明进行的改进也落入本发明权利要求的保护范围内。
工程简况:某水利工程大坝地基承载力达不到设计要求,需要对软土坝基进行加固处理。现采用大直径旋喷桩对地基进行加固,提高地基承载力。旋喷桩直径R3=1.5m,桩长40-60m,桩距4x4m。传统技术为一级旋喷,喷射半径有限,达不到1.5m直径要求,因此采用本发明的“多变径点旋喷二次成桩方法”实施旋喷桩。
考虑到预成孔后旋喷装置放入的孔内松散土层中,旋喷射流9的有效影响范围较大,取Ry=0.35m。分两级设置喷嘴,一级旋喷R1=0.076m,R2=0.4m,R2-R1=0.324m<Ry,二级喷嘴距孔边距离为R3-R2=0.35m=Ry。
如图1至图5所示,一种多变径点旋喷二次成桩方法,其特征在于:按旋喷桩半径R3预成孔返填土或土层松动旋喷,形成流塑态土体;旋喷装置由旋喷杆1、锥形杆端2、旋喷支架3组成;旋喷支架3由横向高压管4、斜板5、竖向板6、加固板7和圆环结构8组成;斜板5由上下两块组成,下块带刃口;竖向板6与旋喷杆1和斜板5固结;加固板7与旋喷杆1和横向高压管4固结;横向高压管4与旋喷杆1固结并内部连通,并与斜板5和圆环结构8固结;锥形杆端2上设置一级喷嘴P1,横向高压管4端部设置二级喷嘴P2,距旋喷杆1轴线距离分别为R1和R2,R2-R1、R3-R2≤旋喷射流9的有效影响范围Ry;旋喷前,旋喷杆1带动旋喷支架3正向旋转,斜板5向下切削土体,使锥形杆端2沉入松散土体底部;旋喷时启动水泥浆泵,高压水泥浆10由旋喷杆1分别进入锥形杆端2从一级喷嘴P1喷出,进入横向高压管4从二级喷嘴P2喷出,同时旋喷杆1反向转动往上提升,形成旋喷桩。
旋喷支架4的外端直径为2R2=0.8m<2R3=1.5m。
实施按“[0012]段”所述步骤实施,其中斜板5与水平线夹角取20°。



