名称:一种财税挂图可调显示器
专利权人:史哲峰
专利号:史哲峰
技术领域
本实用新型涉及演示工具技术领域,尤其涉及一种财税挂图可调显示器。
背景技术
财税挂图显示器是一种结合了静态挂图与动态显示器的设备,旨在提升财务与税务数据的展示效果。挂图提供全局、稳定的视觉参考,帮助观众把握整体框架,而显示器则通过实时更新与交互,展示数据的动态变化和细节分析。这种结合能够同时满足宏观数据概览与微观数据分析的需求,提升信息传递的清晰度和展示的视觉冲击力,适用于财务会议、税务筹划、财务报表分析等场景,为决策者提供更直观、全面的参考依据。
传统的挂图通常仅通过简单的钉子、夹子或绳索固定,受重力影响,长时间悬挂后,挂图的上下两端容易出现撕裂、褶皱,甚至变形,影响美观和使用寿命。
为此,我们提出一种财税挂图可调显示器。
实用新型内容
本实用新型主要是解决上述现有技术所存在的技术问题,提供一种财税挂图可调显示器。
为了实现上述目的,本实用新型采用了如下技术方案,一种财税挂图可调显示器,包括显示器,所述显示器上固定安装有调节高度和角度的调节部,所述调节部上设置有两组卡杆,所述卡杆的下端面开设有卡槽,所述卡槽内可插接有卡块,所述卡块的下端分别向下延伸形第一夹臂和第二夹臂,所述第一夹臂靠近第二夹臂的一端沿长度方向均匀设置有至少三组贯穿钉,所述第二夹臂对应贯穿钉的位置开设有相应数量的卡合槽,所述第一夹臂的内侧壁面对应贯穿钉上下两端的位置还固定安装有防扯垫,所述防扯垫为矩形块且防扯垫的长度与卡块的长度相同。
作为优选,所述贯穿钉的端部为圆锥体且圆锥体的底面直径是贯穿钉杆部直径的一点五倍,卡合槽与贯穿钉的形状适配。
作为优选,所述卡槽的中部宽度小于卡槽上下两端的宽度,所述卡槽的腰部为弹性材料制成,所述卡块可在卡槽内左右滑动。
作为优选,所述防扯垫为橡胶材质。
作为优选,所述卡杆的后端面还分别固定安装有两组连接盒,所述连接盒的内部中空形成收卷槽,所述收卷槽的中部活动安装有收卷轴,所述收卷轴上收卷有卷线,所述连接盒内还开设有与收卷槽连通的引导槽,所述卷线穿过引导槽与另一组卡杆固定连接,所述收卷轴的一端延伸至连接盒外部且固定安装有复位转盘。
作为优选,所述引导槽的输出端为一字型,所述引导槽与卷线贴合,所述卷线是编织有金属丝的长绳。
作为优选,所述调节部包括第一调节杆、第二调节杆和转向柱,所述第一调节杆的一端活动安装在显示器后方,所述第一调节杆的另一端通过轴承与第二调节杆活动连接,所述第二调节杆可绕第一调节杆的端部上下摆动,所述第二调节杆的底端面活动安装有转向柱,所述转向柱的另一端与卡杆固定连接。
有益效果
本实用新型提供了一种财税挂图可调显示器。具备以下有益效果:
(1)该一种财税挂图可调显示器,首先将挂图的端部插入第一夹臂和第二夹臂之间,然后捏住第一夹臂和第二夹臂,将贯穿钉插入卡合槽内,利用贯穿钉和卡合槽的结构使第一夹臂和第二夹臂夹持挂图,将夹持挂图的卡块插入卡槽内,根据需要调节两组卡块在卡槽内的距离以快捷方便的悬挂不同宽度的挂图的同时上下两组防扯垫对挂图贯穿部的上下两端进行防护,减少挂图悬挂长久后被撕裂的情况发生。
(2)该一种财税挂图可调显示器,通过调节卷线在两组卡杆之间的长度,通过卷线含有的金属丝提高两组卡杆之间的稳定性,利用引导槽的一字型输出通道保持卷线在收卷拉出后为直线,通过调节第一调节杆的倾角以及转向柱的角度,调节悬挂在两组卡杆之间的挂图的角度和高度。
附图说明
为了更清楚地说明本实用新型的实施方式或现有技术中的技术方案,下面将对实施方式或现有技术描述中所需要使用的附图做简单的介绍。显而易见的,下面描述中的附图仅仅是示例性的,对于本领域普通技术人员来讲,在不付出创造性劳动的前提下,还可以根据提供的附图引申获得其他的实施附图。
本说明书所绘示的结构、比例、大小等,均仅用以配合说明书所揭示的内容,以供熟悉此技术的人士了解与阅读,并非用以限定本实用新型可实施的限定条件,故不具技术上的实质意义,任何结构的修饰、比例关系的改变或大小的调整,在不影响本实用新型所能产生的功效及所能达成的目的下,均应仍落在本实用新型所揭示的技术内容的能涵盖的范围内。
图1为本实用新型立体结构示意图;
图2为本实用新型卡杆结构示意图;
图3为本实用新型卡杆结构剖视图;
图4为本实用新型连接盒结构剖视图。
图例说明:
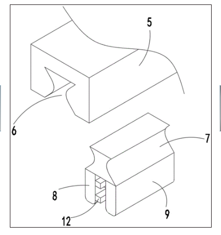
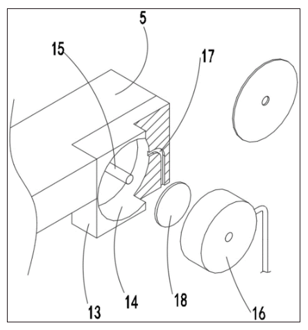
1、显示器;2、第一调节杆;3、第二调节杆;4、转向柱;5、卡杆;6、卡槽;7、卡块;8、第一夹臂;9、第二夹臂;10、贯穿钉;11、卡合槽;12、防扯垫;13、连接盒;14、收卷槽;15、收卷轴;16、卷线;17、引导槽;18、复位转盘。
具体实施方式
下面将结合本实用新型实施例中的附图,对本实用新型实施例中的技术方案进行清楚、完整地描述,显然,所描述的实施例仅仅是本实用新型一部分实施例,而不是全部的实施例。基于本实用新型中的实施例,本领域普通技术人员在没有做出创造性劳动前提下所获得的所有其他实施例,都属于本实用新型保护的范围。
实施例:一种财税挂图可调显示器,如图1-图4所示,包括显示器1,显示器1上固定安装有调节高度和角度的调节部,调节部上设置有两组卡杆5,两组卡杆5之间通过可收卷的卷线16连接,使用时,显示器1播放动态的财税数据,如动态的折线图、饼状图等,两组卡杆5之间悬挂税务总结或年度税务计划等总体框架的信息供参考。
具体的,卡杆5的下端面开设有卡槽6,卡槽6内可插接有卡块7,卡块7用于固定挂图,利用卡块7首先夹持挂图的上端,然后将卡块7插入卡槽6内进行插接,进一步的,卡块7的下端分别向下延伸形第一夹臂8和第二夹臂9,其中第一夹臂8靠近第二夹臂9的一端沿长度方向均匀设置有至少三组贯穿钉10,第二夹臂9对应贯穿钉10的位置开设有相应数量的卡合槽11,挂图的顶部插入第一夹臂8和第二夹臂9之间后,按压第一夹臂8和第二夹臂9,使贯穿钉10贯穿挂图插入卡合槽11内,对挂图顶部进行夹持。
特别的,贯穿钉10的端部为圆锥体且圆锥体的底面直径是贯穿钉10杆部直径的一点五倍,卡合槽11与贯穿钉10的形状适配,使得贯穿钉10插入卡合槽11后无法脱离,挂图本身就是用于长久悬挂并供人研究查看的,因此搭配的卡块7设置为一次性固定长久使用。
为了防止长久夹持挂图导致挂图顶部撕裂,第一夹臂8的内侧壁面对应贯穿钉10上下两端的位置还固定安装有防扯垫12,防扯垫12为橡胶材质,防扯垫12为矩形块且防扯垫12的长度与卡块7的长度相同,在夹持挂图时,上下两组防扯垫12从贯穿钉10的上下两侧对贯穿的挂图部位进行夹持固定,从而分散了挂图的重力分布,减少挂图撕裂的情况发生。
进一步的,卡槽6的中部宽度小于卡槽6上下两端的宽度,因此形成类似漏斗状结构,卡槽6的腰部为弹性材料制成,当卡块7插入卡槽6内后,利用卡槽6的形状以及弹力,可将夹持有挂图的卡块7进行悬挂,同时卡块7可在卡槽6内左右滑动,最大限度的方便对较宽的挂图进行安装以及调整。
具体的,卡杆5的后端面还分别固定安装有两组连接盒13,连接盒13的内部中空形成收卷槽14,收卷槽14的中部活动安装有收卷轴15,收卷轴15上收卷有卷线16,连接盒13内还开设有与收卷槽14连通的引导槽17,引导槽17的输出端为一字型,卷线16穿过引导槽17与另一组卡杆5固定连接,引导槽17与卷线16贴合,即当卷线16为圆形线时,引导槽17的横截面为正方形且边长与卷线16的直径相同,当卷线16为矩形时,引导槽17为与卷线16尺寸相同的矩形,同时卷线16是编织有金属丝的长绳,在保证一定的柔软性时具有一定的硬度,从而在悬挂挂图时减少挂图的晃动。
进一步的,收卷轴15的一端延伸至连接盒13外部且固定安装有复位转盘18,通过复位转盘18可转动收卷轴15将多余的卷线16收卷,以适应不同长度的挂图。
进一步的,调节部包括第一调节杆2、第二调节杆3和转向柱4,第一调节杆2的一端活动安装在显示器1后方,第一调节杆2的另一端通过轴承与第二调节杆3活动连接,第二调节杆3可绕第一调节杆2的端部上下摆动,第二调节杆3为矩形杆,第二调节杆3的底端面活动安装有转向柱4,转向柱4的另一端与卡杆5固定连接,从而使卡杆5可以转向柱4为中心在第二调节杆3下方周向转动,通过调节第一调节杆2的倾角以及转向柱4的角度,调节悬挂在两组卡杆5之间的挂图的角度和高度。
本实用新型的工作原理:首先将挂图的端部插入第一夹臂8和第二夹臂9之间,然后捏住第一夹臂8和第二夹臂9,将贯穿钉10插入卡合槽11内,利用贯穿钉10和卡合槽11的结构使第一夹臂8和第二夹臂9夹持挂图,同时上下两组防扯垫12对挂图贯穿部的上下两端进行防护,减少挂图悬挂长久后被撕裂的情况发生,将夹持挂图的卡块7插入卡槽6内,根据需要调节两组卡块7在卡槽6内的距离以快捷方便的悬挂不同宽度的挂图。
然后调节卷线16在两组卡杆5之间的长度,通过卷线16含有的金属丝提高两组卡杆5之间的稳定性,利用引导槽17的一字型输出通道保持卷线16在收卷拉出后为直线,通过调节第一调节杆2的倾角以及转向柱4的角度,调节悬挂在两组卡杆5之间的挂图的角度和高度。
以上显示和描述了本实用新型的基本原理和主要特征和本实用新型的优点。本行业的技术人员应该了解,本实用新型不受上述实施例的限制,上述实施例和说明书中描述的只是说明本实用新型的原理,在不脱离本实用新型精神和范围的前提下,本实用新型还会有各种变化和改进,这些变化和改进都落入要求保护的本实用新型范围内。本实用新型要求保护范围由所附的权利要求书及其等效物界定。


