名称:一种可调节的反射式无反相机镜头
专利号:202420543090.8
专利权人:张爱武
技术领域
本实用新型属于相机镜头技术领域,特别是涉及一种可调节的反射式无反相机镜头。
背景技术
相关技术中,公开了公开号为CN218938752U的一种单反相机超薄镜头,包括镜头主体,所述镜头主体的外侧设置有保护环一,所述镜头主体上且位于保护环一的左侧设置有保护环二,所述保护环二上设置有反光块,所述保护环一与保护环二之间固定连接有保护杆一。
该镜头在使用过程中,不能对镜头的参数进行调节,无法调节的镜头无法满足用户对焦距、景深等方面的灵活需求,从而使得拍摄过程缺乏灵活性和自由度。
实用新型内容
本实用新型的目的在于提供一种可调节的反射式无反相机镜头,解决了该镜头在使用过程中,不能对镜头的参数进行调节,无法调节的镜头无法满足用户对焦距、景深等方面的灵活需求,从而使得拍摄过程缺乏灵活性和自由度的问题。
为解决上述技术问题,本实用新型是通过以下技术方案实现的:
本实用新型为一种可调节的反射式无反相机镜头,包括相机和设置在相机正面的镜头,所述相机上设置有调节机构、防尘机构和补光机构;
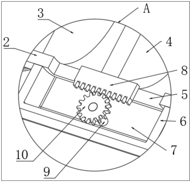
所述调节机构包括调节组件、控制组件和限位组件,所述调节组件包括固定安装在镜头内壁上的凸透镜,所述镜头的内壁上滑动安装有凹透镜,所述镜头内开设有活动槽,所述镜头的外壁上固定安装有调节块,所述调节块内开设有矩形槽,所述凹透镜的外壁上固定安装有齿条,所述齿条的右侧延伸至矩形槽内并与矩形槽滑动连接。
进一步地,所述控制组件包括转动安装在矩形槽内壁上的转杆,所述转杆的顶端延伸至调节块外并与调节块转动连接,所述转杆上固定套设有齿轮,所述齿轮与齿条相啮合,所述转杆的顶端固定安装有调节帽。
进一步地,所述限位组件包括开设在镜头内的滑槽,所述滑槽内滑动安装有滑块一,所述滑槽的形状大小与滑块一的形状大小相适配,所述滑块一的右侧与凹透镜固定连接。
进一步地,所述防尘机构包括安装组件、柔光镜组件和防尘组件,所述安装组件包括固定安装在相机正面的环形块,所述环形块的内壁上开设有螺纹槽,所述螺纹槽的内壁与镜头螺纹连接。
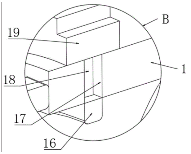
进一步地,所述柔光镜组件包括转动安装在镜头内壁上的柔光镜,所述镜头内开设有弧形滑槽,所述弧形滑槽内滑动安装有滑块二,所述滑块二的底部与柔光镜固定连接,所述镜头上转动套设有调节环,所述调节环的内壁与滑块二固定连接。
进一步地,所述防尘组件包括铰接安装在镜头上的防尘盖,所述镜头的前端开设有安装槽,所述安装槽的内壁上固定安装有磁吸石,所述防尘盖的外壁上固定安装有铁块,所述铁块与安装槽相适配。
进一步地,所述补光机构包括固定安装在相机顶部的安装块,所述安装块的顶部设置有按钮,所述安装块的正面固定安装有闪光灯。
本实用新型具有以下有益效果:
1、通过设置有调节机构,当用户使用该镜头时,拧动调节帽,调节帽带动齿轮转动,齿轮与齿条相啮合,从而使得齿轮带动齿条移动,齿条移动后带动凹透镜移动,从而能够根据用户的需求对镜头的参数进行调节,通过对镜头的调节能够使得相机在不同场景下更具适应性,能够满足多样化的拍摄需求,提高拍摄的成功率;
2、通过设置有防尘机构和补光机构,通过拧动调节环,可以对柔光镜进行调节,对柔光镜进行调节可以降低画面的对比度,减少强烈的明暗反差,使画面更加柔和自然,在防尘盖的作用下,能够有效地阻挡空气中的灰尘颗粒进入镜头内部,降低镜头表面的灰尘积累,保持镜头清洁,将防尘盖盖住镜头后,铁块吸附在磁吸石上,从而能够保持防尘盖牢牢盖住镜头,在闪光灯的作用下,闪光灯可以为拍摄对象提供额外的光源,补充环境光线不足的情况,确保拍摄到明亮、清晰的照片。
当然,实施本实用新型的任一产品并不一定需要同时达到以上所述的所有优点。
附图说明
为了更清楚地说明本实用新型实施例的技术方案,下面将对实施例描述所需要使用的附图作简单地介绍,显而易见地,下面描述中的附图仅仅是本实用新型的一些实施例,对于本领域普通技术人员来讲,在不付出创造性劳动的前提下,还可以根据这些附图获得其他的附图。
图1为本实用新型一种可调节的反射式无反相机镜头的整体结构示意图;
图2为本实用新型一种可调节的反射式无反相机镜头的顶部剖视结构示意图;
图3为本实用新型中图2中A的放大结构示意图;
图4为本实用新型一种可调节的反射式无反相机镜头的正面结构示意图;
图5为本实用新型一种可调节的反射式无反相机镜头的正面剖视部分结构示意图;
图6为本实用新型中图5中B的放大结构示意图。
附图中,各标号所代表的部件列表如下:
1、相机;2、镜头;3、凸透镜;4、凹透镜;5、活动槽;6、调节块;7、矩形槽;8、齿条;9、转杆;10、齿轮;11、调节帽;12、滑槽;13、滑块一;14、环形块;15、螺纹槽;16、柔光镜;17、弧形滑槽;18、滑块二;19、调节环;23、防尘盖;24、安装槽;25、磁吸石;26、铁块;27、安装块;28、按钮;29、闪光灯。
具体实施方式
下面将结合本实用新型实施例中的附图,对本实用新型实施例中的技术方案进行清楚、完整地描述,显然,所描述的实施例仅仅是本实用新型一部分实施例,而不是全部的实施例。基于本实用新型中的实施例,本领域普通技术人员在没有作出创造性劳动前提下所获得的所有其它实施例,都属于本实用新型保护的范围。
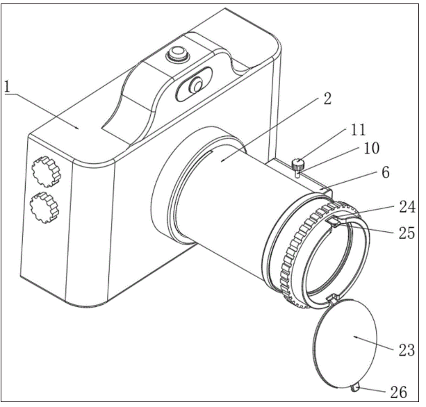
请参阅图1-6所示,本实用新型为一种可调节的反射式无反相机镜头,包括相机1和设置在相机1正面的镜头2,相机1上设置有调节机构、防尘机构和补光机构;
调节机构包括调节组件、控制组件和限位组件,调节组件包括固定安装在镜头2内壁上的凸透镜3,镜头2的内壁上滑动安装有凹透镜4,镜头2内开设有活动槽5,镜头2的外壁上固定安装有调节块6,调节块6内开设有矩形槽7,凹透镜4的外壁上固定安装有齿条8,齿条8的右侧延伸至矩形槽7内并与矩形槽7滑动连接。
其中如图1和图3所示,控制组件包括转动安装在矩形槽7内壁上的转杆9,转杆9的顶端延伸至调节块6外并与调节块6转动连接,转杆9上固定套设有齿轮10,齿轮10与齿条8相啮合,转杆9的顶端固定安装有调节帽11。
通过设置有控制组件,当用户使用该镜头时,拧动调节帽11,调节帽11带动齿轮10转动,齿轮10与齿条8相啮合,从而使得齿轮10带动齿条8移动,齿条8移动后带动凹透镜4移动,从而能够根据用户的需求对镜头的参数进行调节,通过对镜头的调节能够使得相机在不同场景下更具适应性,能够满足多样化的拍摄需求,提高拍摄的成功率。
其中如图2所示,限位组件包括开设在镜头2内的滑槽12,滑槽12内滑动安装有滑块一13,滑槽12的形状大小与滑块一13的形状大小相适配,滑块一13的右侧与凹透镜4固定连接。
通过设置有限位组件,在滑槽12和滑块一13的组合使用下,当对凹透镜4的位置进行调节时,滑块一13能够对凹透镜4起到限位的作用,从而能够保证凹透镜4在移动时更加稳定,不会发生晃动。
其中如图2所示,防尘机构包括安装组件、柔光镜组件和防尘组件,安装组件包括固定安装在相机1正面的环形块14,环形块14的内壁上开设有螺纹槽15,螺纹槽15的内壁与镜头2螺纹连接。
通过设置有安装组件,在环形块14和螺纹槽15的组合使用下,能够方便使用者完成对镜头2的安装和拆卸工作,提高了该镜头的便捷性。
其中如图5和图6所示,柔光镜组件包括转动安装在镜头2内壁上的柔光镜16,镜头2内开设有弧形滑槽17,弧形滑槽17内滑动安装有滑块二18,滑块二18的底部与柔光镜16固定连接,镜头2上转动套设有调节环19,调节环19的内壁与滑块二18固定连接。
通过设置有柔光镜组件,通过拧动调节环19,可以对柔光镜16进行调节,对柔光镜16进行调节可以降低画面的对比度,减少强烈的明暗反差,使画面更加柔和自然。
其中如图1所示,防尘组件包括铰接安装在镜头2上的防尘盖23,镜头2的前端开设有安装槽24,安装槽24的内壁上固定安装有磁吸石25,防尘盖23的外壁上固定安装有铁块26,铁块26与安装槽24相适配。
通过设置有防尘组件,在防尘盖23的作用下,能够有效地阻挡空气中的灰尘颗粒进入镜头内部,降低镜头表面的灰尘积累,保持镜头清洁,将防尘盖23盖住镜头2后,铁块26吸附在磁吸石25上,从而能够保持防尘盖23牢牢盖住镜头2。
其中如图4所示,补光机构包括固定安装在相机1顶部的安装块27,安装块27的顶部设置有按钮28,安装块27的正面固定安装有闪光灯29。
通过设置有补光机构,在闪光灯29的作用下,闪光灯29可以为拍摄对象提供额外的光源,补充环境光线不足的情况,确保拍摄到明亮、清晰的照片。
本实施例的一个具体应用为:
第一步骤:使用时,首先将镜头2拧紧在螺纹槽15内,再根据使用者的需求,拧动调节帽11,调节帽11带动齿轮10转动,齿轮10与齿条8相啮合,从而使得齿轮10带动齿条8移动,齿条8移动后带动凹透镜4移动,从而能够根据用户的需求对镜头的参数进行调节,通过对镜头的调节能够使得相机在不同场景下更具适应性,能够满足多样化的拍摄需求,提高拍摄的成功率;
第二步骤:当使用者需要使用该镜头进行拍摄时,拧动调节环19,可以对柔光镜16进行调节,对柔光镜16进行调节可以降低画面的对比度,减少强烈的明暗反差,使画面更加柔和自然,当不需要使用该镜头时,防尘盖23能够有效地阻挡空气中的灰尘颗粒进入镜头内部,降低镜头表面的灰尘积累,保持镜头清洁,将防尘盖23盖住镜头2后,铁块26吸附在磁吸石25上,从而能够保持防尘盖23牢牢盖住镜头2;
第三步骤:当拍摄地点周围的灯光不充足时,按动按钮28开启闪光灯29,闪光灯29可以为拍摄对象提供额外的光源,补充环境光线不足的情况,确保拍摄到明亮、清晰的照片。
在本说明书的描述中,参考术语“一个实施例”、“示例”、“具体示例”等的描述意指结合该实施例或示例描述的具体特征、结构、材料或者特点包含于本实用新型的至少一个实施例或示例中。在本说明书中,对上述术语的示意性表述不一定指的是相同的实施例或示例。而且,描述的具体特征、结构、材料或者特点可以在任何的一个或多个实施例或示例中以合适的方式结合。
以上公开的本实用新型优选实施例只是用于帮助阐述本实用新型。优选实施例并没有详尽叙述所有的细节,也不限制该实用新型仅为所述的具体实施方式。显然,根据本说明书的内容,可作很多的修改和变化。本说明书选取并具体描述这些实施例,是为了更好地解释本实用新型的原理和实际应用,从而使所属技术领域技术人员能很好地理解和利用本实用新型。本实用新型仅受权利要求书及其全部范围和等效物的限制。




