名称:一种基于微环境调控的蓝莓植株抗寒防冻装置及使用方法
专利号:202511531112.4
专利权人:姜洪坤
技术领域
本发明涉及蓝莓植株抗寒保护技术领域,具体为一种基于微环境调控的蓝莓植株抗寒防冻装置及使用方法。
背景技术
众所周知,蓝莓是杜鹃花科越橘属的落叶灌木植物,其学名为斯越橘,果实为蓝色浆果,蓝莓喜温暖气候,较耐高温,喜半日照环境、喜湿润环境、耐旱及耐涝性均一般,宜用肥沃疏松、富含有机质的酸性土壤种植。
蓝莓作为经济价值较高的浆果作物,对冬季低温环境较为敏感,现有防寒方法主要存在以下问题:
传统覆土法虽然能够提供一定的保温效果,但操作过程中极易损伤植株的枝干和花芽,劳动强度大,且初春撤土时机难以把握,容易导致焖芽现象,影响次年产量;
套袋法采用镀铝膜直接包裹植株,虽然具备一定的防风保温能力,但内部通风透气性差,在气温较高时内部易凝结水汽,夜晚气温骤降时水汽冻结成冰,巨大的温差变化容易导致植株黄叶、冻害和腐烂,此外,镀铝膜直接与植株接触,在阳光直射下内部温度急剧升高,易烫伤植株。
发明内容
(一)解决的技术问题
针对现有技术的不足,本发明提供了一种基于微环境调控的蓝莓植株抗寒防冻装置及使用方法,具有通过双层防护结构保护,并实现微环境调控机制的优点。
(二)技术方案
本发明的上述技术目的是通过以下技术方案得以实现的:一种基于微环境调控的蓝莓植株抗寒防冻装置,包括固定环,所述固定环的顶部设置有外部防护镀铝膜,所述外部防护镀铝膜的内部设置有两个呈同轴分布的内部防护无纺布,且两个内部防护无纺布形成双层无纺布防护结构,所述固定环的外侧焊接有定位环,且定位环的内部呈环形贯穿有定位组件;
所述内部防护无纺布包括两层无纺布主体,内层无纺布主体和外层无纺布主体的底端之间缝接有弹性包边,所述弹性包边的内部呈环形设置有若干个连接块,且相邻两个连接块之间设置有弹性带,所述连接块的顶部设置有弹性杆,所述内层无纺布主体和外层无纺布主体的顶部之间粘接有连接片,所述弹性杆的一端与连接片连接。
采用上述技术方案,通过由两个内部防护无纺布构成双层无纺布保护屏障,既避免镀铝膜直接接触植株导致的烫伤或冻伤,又通过弹性结构适配植株形态,减少机械损伤,而外层镀铝膜发挥抗风保温核心作用,同时配合收束组件与气流通道实现内部微循环通风,能够解决传统套袋法不透气以及水汽凝结的问题,内部防护无纺布与外部防护镀铝膜配合使用既能抵御低温、寒风等外部胁迫,又能平衡内部温湿度,避免温差过大导致的冻害与腐烂,提升植株越冬成活率与次年产量。
本发明进一步设置为:所述外部防护镀铝膜的顶端和底端均设置有翻边部,底部翻边部处于固定环的内部,所述固定环的顶部设有适应翻边部的连接凹槽,底部翻边部的内侧紧密接触有抵触环,且抵触环与固定环栓接。
采用上述技术方案,通过底部翻边部与连接凹槽、抵触环的配合,实现镀铝膜与固定环的密封连接,避免寒风从底部缝隙灌入,提升保温效果,同时便于对外部防护镀铝膜底端进行固定,可起到防止倾倒的作用。
本发明进一步设置为:所述外部防护镀铝膜的顶端以及内部防护无纺布的底端均设置有收束组件,所述收束组件分别与外部防护镀铝膜和内部防护无纺布一体成型,所述收束组件包括连接环,所述连接环的表面粘接有限位管,所述限位管的内部贯穿有收束绳,所述收束绳的表面套装有固定筒,且固定筒的内部活动设置有移动筒,所述移动筒的右侧与固定筒内壁之间通过弹簧固定件连接有抵压弹簧,所述收束绳的两端均贯穿移动筒的内部。
采用上述技术方案,通过设置收束组件,通过移动筒在固定筒内向右侧移动,可压缩抵压弹簧,使得移动筒和固定筒内的贯穿孔位保持一致,可解除对收束绳的夹紧,再拉动收束绳端部,使镀铝膜或无纺布开口收缩,调整至适配植株粗细后,通过抵压弹簧的弹性复位推动移动筒夹紧收束绳,实现开口固定,通过抵压弹簧与移动筒的配合确保收束绳固定牢固,避免因振动或风力导致开口松动。
本发明进一步设置为:所述外部防护镀铝膜上的连接环处于顶部翻边部的底端,所述外部防护镀铝膜上连接环的内部呈环形粘接有若干个橡胶块,若干个橡胶块的内侧之间形成气流通道。
采用上述技术方案,通过橡胶块形成的气流通道实现“被动式微通风”,无需额外动力即可调节内部微环境,避免传统套袋法密封不透气导致的水汽凝结与结冰,降低植株黄叶、腐烂风险。
本发明进一步设置为:所述外部防护镀铝膜的内侧粘接有卡块,所述内部防护无纺布的表面粘接有卡槽,所述卡块与卡槽卡接配合。
采用上述技术方案,通过卡接配合实现镀铝膜与无纺布的精准组装,避免因相对滑动导致的微环境调控结构失效,同时减少两者之间的摩擦,延长无纺布与镀铝膜的使用寿命,支持重复使用。
本发明进一步设置为:所述外部防护镀铝膜的周长和高度分别为0.8m和2m,外侧内部防护无纺布和内侧内部防护无纺布的周长均为0.75m,且高度分别为1.8m和1.5m。
采用上述技术方案,通过不同高度与周长的设计使各防护层精准覆盖植株不同部位,避免防护过度导致的资源浪费或防护不足导致的局部冻害。
本发明进一步设置为:所述定位组件包括垫片,所述垫片处于定位环的顶部,且垫片的底部设置有内螺纹套筒,所述内螺纹套筒的底部贯穿定位环的内部,所述内螺纹套筒的内部螺纹设置有螺柱,且螺柱的顶部延伸至垫片的顶部,所述螺柱的表面螺纹套接有紧固螺母,且紧固螺母的底部与垫片接触,所述螺柱的底部焊接有锥形块,且锥形块的表面与内螺纹套筒的内壁滑动接触,所述内螺纹套筒的底端呈环形设置有若干个与其一体的弹性片。
采用上述技术方案,通过设置定位组件,在对固定环和外部防护镀铝膜位置固定时,将垫片置于定位环顶部,内螺纹套筒贯穿定位环,并通过螺柱与内螺纹套筒的螺纹配合,可使锥形块随螺柱上升挤压内螺纹套筒底端的弹性片,使弹性片向外张开并深入泥土,在紧固螺母旋紧后,垫片紧密贴合定位环,防止螺柱松动,通过锥形块与弹性片的配合使定位组件深入泥土后形成定位结构,增强固定强度,抗风性显著提升,避免装置倾倒。
本发明进一步设置为:相邻弹性片之间设置有开口槽,所述弹性片和内螺纹套筒的表面沿长度方向焊接有若干个角块,且角块的顶端向外侧倾斜设置。
采用上述技术方案,通过开口槽确保弹性片具备足够形变能力,避免因刚性过大导致弹性片断裂,而倾斜角块可提升抗拔性能,使装置在强风、积雪等外力作用下不易被拔出,进一步提升固定可靠性。
本发明进一步设置为:所述固定环的前侧栓接有固定壳,所述固定壳的内部转动连接有调节盘,所述调节盘的内部和固定壳前侧内壁均开设有气口,且两个气口之间配合使用,所述固定环内部的前侧开设有气流通口,且气流通口与固定壳连通。
采用上述技术方案,通过气口与调节盘的配合实现底部进风量的精准调控,适配不同环境需求(如低温时减小风量保保温,高湿时增大风量排湿气),可起到优化微环境调控效果,避免形成局部高温或高湿的缺陷。
一种基于微环境调控的蓝莓植株抗寒防冻装置的使用方法,包括以下步骤:
S1.在深秋气温降至5-7℃时,利用弹性带使若干个连接块同步向外部扩张,并通过弹性杆形变使内部防护无纺布的开口扩张,使其顺利套装在蓝莓植株上,并利用收束组件对开口进行捆扎,重复上述步骤,再套装高度为1.8m的内部防护无纺布,形成双层无纺布防护结构;
S2.将外部防护镀铝膜底部的翻边部置于固定环内,并利用抵触环对其固定,实现外部防护镀铝膜与固定环的连接,并将外部防护镀铝膜套装在内部防护无纺布外侧,再通过定位组件深入泥土中对固定环和外部防护镀铝膜位置固定;
S3.利用收束组件使外部防护镀铝膜上端开口扎紧,扎口以上镀铝膜外翻,并通过橡胶块之间的气流通道使外部防护镀铝膜内部进行透气,而且利用固定壳和调节盘之间气口的重叠程度可控制微量空气从底部进入,以此实现形成内部微循环。
(三)有益效果
与现有技术相比,本发明提供了一种基于微环境调控的蓝莓植株抗寒防冻装置及使用方法,具备以下有益效果:
该一种基于微环境调控的蓝莓植株抗寒防冻装置及使用方法,通过由两个内部防护无纺布构成双层无纺布保护屏障,既避免镀铝膜直接接触植株导致的烫伤或冻伤,又通过弹性结构适配植株形态,减少机械损伤,而外层镀铝膜发挥抗风保温核心作用,同时配合收束组件与气流通道实现内部微循环通风,能够解决传统套袋法不透气以及水汽凝结的问题,内部防护无纺布与外部防护镀铝膜配合使用既能抵御低温、寒风等外部胁迫,又能平衡内部温湿度,避免温差过大导致的冻害与腐烂,提升植株越冬成活率与次年产量;
通过定位组件通过深入泥土的刚性固定与弹性夹持,确保装置在强风、积雪等恶劣环境下不倾倒、不移位,同时避免对植株根系造成损伤,为整个防寒装置提供稳定支撑,确保微环境调控结构(如气流通道、收束组件)始终处于有效工作状态,避免因装置移位导致的防护失效,进一步提升防寒防冻的可靠性。
附图说明
图1为本发明中结构的示意图;
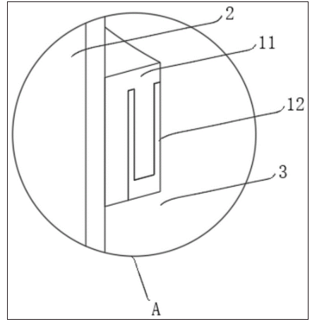
图2为本发明中外部防护镀铝膜和内部防护无纺布的连接示意图;
图3为本发明中内部防护无纺布结构的示意图;
图4为本发明中定位组件结构的示意图;
图5为本发明中收束组件的示意图;
图6为本发明中图2中A处的放大示意图;
图7为本发明中固定壳与固定环的连接示意图;
图8为本发明中基于微环境调控的蓝莓植株抗寒防冻装置的使用方法的流程示意图。
图中:1、固定环;2、外部防护镀铝膜;3、内部防护无纺布;31、无纺布主体;32、弹性包边;33、弹性杆;34、连接片;35、连接块;36、弹性带;4、定位环;5、定位组件;51、垫片;52、内螺纹套筒;53、螺柱;54、紧固螺母;55、锥形块;56、弹性片;6、翻边部;7、连接凹槽;8、抵触环;9、收束组件;91、连接环;92、限位管;93、收束绳;94、固定筒;95、移动筒;96、抵压弹簧;10、橡胶块;11、卡块;12、卡槽;13、角块;14、固定壳;15、调节盘;16、气口。
具体实施方式
下面将结合本发明实施例中的附图,对本发明实施例中的技术方案进行清楚、完整地描述,显然,所描述的实施例仅仅是本发明一部分实施例,而不是全部的实施例。基于本发明中的实施例,本领域普通技术人员在没有做出创造性劳动前提下所获得的所有其他实施例,都属于本发明保护的范围。
实施例1
请参阅图1-7,一种基于微环境调控的蓝莓植株抗寒防冻装置,包括固定环1,固定环1的顶部设置有外部防护镀铝膜2,外部防护镀铝膜2的内部设置有两个呈同轴分布的内部防护无纺布3,且两个内部防护无纺布3形成双层无纺布防护结构,固定环1的外侧焊接有定位环4,且定位环4的内部呈环形贯穿有定位组件5;
内部防护无纺布3包括两层无纺布主体31,内层无纺布主体31和外层无纺布主体31的底端之间缝接有弹性包边32,弹性包边32的内部呈环形设置有若干个连接块35,且相邻两个连接块35之间设置有弹性带36,连接块35的顶部设置有弹性杆33,内层无纺布主体31和外层无纺布主体31的顶部之间粘接有连接片34,弹性杆33的一端与连接片34连接,通过由两个内部防护无纺布3构成双层无纺布保护屏障,既避免镀铝膜直接接触植株导致的烫伤或冻伤,又通过弹性结构适配植株形态,减少机械损伤,而外层镀铝膜发挥抗风保温核心作用,同时配合收束组件9与气流通道实现内部微循环通风,能够解决传统套袋法不透气以及水汽凝结的问题,内部防护无纺布3与外部防护镀铝膜2配合使用既能抵御低温、寒风等外部胁迫,又能平衡内部温湿度,避免温差过大导致的冻害与腐烂,提升植株越冬成活率与次年产量。
其中,外部防护镀铝膜2的顶端和底端均设置有翻边部6,底部翻边部6处于固定环1的内部,固定环1的顶部设有适应翻边部6的连接凹槽7,底部翻边部6的内侧紧密接触有抵触环8,且抵触环8与固定环1栓接,通过底部翻边部6与连接凹槽7、抵触环8的配合,实现镀铝膜与固定环1的密封连接,避免寒风从底部缝隙灌入,提升保温效果,同时便于对外部防护镀铝膜2底端进行固定,可起到防止倾倒的作用。
其中,外部防护镀铝膜2的顶端以及内部防护无纺布3的底端均设置有收束组件9,收束组件9分别与外部防护镀铝膜2和内部防护无纺布3一体成型,收束组件9包括连接环91,连接环91的表面粘接有限位管92,限位管92的内部贯穿有收束绳93,收束绳93的表面套装有固定筒94,且固定筒94的内部活动设置有移动筒95,移动筒95的右侧与固定筒94内壁之间通过弹簧固定件连接有抵压弹簧96,收束绳93的两端均贯穿移动筒95的内部,通过设置收束组件9,通过移动筒95在固定筒94内向右侧移动,可压缩抵压弹簧96,使得移动筒95和固定筒94内的贯穿孔位保持一致,可解除对收束绳93的夹紧,再拉动收束绳93端部,使镀铝膜或无纺布开口收缩,调整至适配植株粗细后,通过抵压弹簧96的弹性复位推动移动筒95夹紧收束绳93,实现开口固定,通过抵压弹簧96与移动筒95的配合确保收束绳93固定牢固,避免因振动或风力导致开口松动。
其中,外部防护镀铝膜2上的连接环91处于顶部翻边部6的底端,外部防护镀铝膜2上连接环91的内部呈环形粘接有若干个橡胶块10,若干个橡胶块10的内侧之间形成气流通道,通过橡胶块10形成的气流通道实现“被动式微通风”,无需额外动力即可调节内部微环境,避免传统套袋法密封不透气导致的水汽凝结与结冰,降低植株黄叶、腐烂风险。
其中,外部防护镀铝膜2的内侧粘接有卡块11,内部防护无纺布3的表面粘接有卡槽12,卡块11与卡槽12卡接配合,通过卡接配合实现镀铝膜与无纺布的精准组装,避免因相对滑动导致的微环境调控结构失效,同时减少两者之间的摩擦,延长无纺布与镀铝膜的使用寿命,支持重复使用。
其中,外部防护镀铝膜2的周长和高度分别为0.8m和2m,外侧内部防护无纺布3和内侧内部防护无纺布3的周长均为0.75m,且高度分别为1.8m和1.5m,通过不同高度与周长的设计使各防护层精准覆盖植株不同部位,避免防护过度导致的资源浪费或防护不足导致的局部冻害。
其中,定位组件5包括垫片51,垫片51处于定位环4的顶部,且垫片51的底部设置有内螺纹套筒52,内螺纹套筒52的底部贯穿定位环4的内部,内螺纹套筒52的内部螺纹设置有螺柱53,且螺柱53的顶部延伸至垫片51的顶部,螺柱53的表面螺纹套接有紧固螺母54,且紧固螺母54的底部与垫片51接触,螺柱53的底部焊接有锥形块55,且锥形块55的表面与内螺纹套筒52的内壁滑动接触,内螺纹套筒52的底端呈环形设置有若干个与其一体的弹性片56,通过设置定位组件5,在对固定环1和外部防护镀铝膜2位置固定时,将垫片51置于定位环4顶部,内螺纹套筒52贯穿定位环4,并通过螺柱53与内螺纹套筒52的螺纹配合,可使锥形块55随螺柱53上升挤压内螺纹套筒52底端的弹性片56,使弹性片56向外张开并深入泥土,在紧固螺母54旋紧后,垫片51紧密贴合定位环4,防止螺柱53松动,通过锥形块55与弹性片56的配合使定位组件5深入泥土后形成定位结构,增强固定强度,抗风性显著提升,避免装置倾倒。
其中,相邻弹性片56之间设置有开口槽,弹性片56和内螺纹套筒52的表面沿长度方向焊接有若干个角块13,且角块13的顶端向外侧倾斜设置,通过开口槽确保弹性片56具备足够形变能力,避免因刚性过大导致弹性片56断裂,而倾斜角块13可提升抗拔性能,使装置在强风、积雪等外力作用下不易被拔出,进一步提升固定可靠性。
其中,固定环1的前侧栓接有固定壳14,固定壳14的内部转动连接有调节盘15,调节盘15的内部和固定壳14前侧内壁均开设有气口16,且两个气口16之间配合使用,固定环1内部的前侧开设有气流通口,且气流通口与固定壳14连通,通过气口16与调节盘15的配合实现底部进风量的精准调控,适配不同环境需求(如低温时减小风量保保温,高湿时增大风量排湿气),可起到优化微环境调控效果,避免形成局部高温或高湿的缺陷。
本实施例工作原理:手持内侧内部防护无纺布3(高度为1.5m),拉动弹性包边32内的弹性带36,使环形分布的连接块35同步向外侧扩张,弹性杆33随连接块35移动发生形变,带动无纺布开口自然扩大,再从植株顶部缓慢向下套装,套装到位后,操作底端的收束组件9,向右侧推动固定筒94内的移动筒95,压缩抵压弹簧96,使移动筒95与固定筒94的贯穿孔对齐,拉动收束绳93两端收紧开口,松开移动筒95,抵压弹簧96复位推动移动筒95夹紧收束绳93,完成内侧内部防护无纺布3固定;重复上述操作套装外侧内部防护无纺布3(高度为1.8m);将外部防护镀铝膜2底部翻边部6对准固定环1顶部的连接凹槽7,缓慢嵌入凹槽内,并通过抵触环8贴合翻边部6,再通过螺栓将抵触环8与固定环1栓接,抵触环8挤压翻边部6实现连接,将固定环1连同固定的外部防护镀铝膜2从植株顶部向下套装,使镀铝膜内侧的卡块11与外侧内部防护无纺布3表面的卡槽12对齐,轻轻按压镀铝膜,卡块11嵌入卡槽12实现两者精准定位,避免使用过程中相对滑动,套装到位后,镀铝膜完全覆盖两层无纺布,顶部翻边部6高于植株最高枝条,并在固定环1上覆土,增强固定性,同时使固定壳14进风方向朝向南部;再将定位组件5的垫片51置于固定环1外侧的定位环4顶部,内螺纹套筒52贯穿定位环4,确保弹性片56朝下对准地面,旋转螺柱53,螺柱53带动底部锥形块55沿内螺纹套筒52内壁向上移动,锥形块55挤压弹性片56,使弹性片56向外侧扩张(相邻弹性片56的开口槽为形变提供空间),弹性片56深入泥土并通过表面倾斜角块13卡紧土壤,最后旋紧紧固螺母54,使垫片51紧密贴合定位环4,防止螺柱53松动,实现固定环1与镀铝膜的整体定位,避免强风或积雪导致装置倾倒;最后根据环境变化通过固定壳14与调节盘15调整底部进风量,低温无风天气时,转动调节盘15使固定壳14与调节盘15的气口16重叠面积最小,减少外部冷空气进入,维持内部温度稳定,高温或高湿天气时(如日间升温、内部水汽凝结),转动调节盘15增大气口16重叠面积,外部空气通过气流通口进入装置内部,与顶部气流通道形成底部进风至顶部排风的微循环,平衡内部温湿度,避免水汽冻结成冰或植株闷热。
实施例2
参考图8,本发明还提供一种基于微环境调控的蓝莓植株抗寒防冻装置的使用方法,包括以下步骤:
S1.在深秋气温降至5-7℃时,利用弹性带36使若干个连接块35同步向外部扩张,并通过弹性杆33形变使内部防护无纺布3的开口扩张,使其顺利套装在蓝莓植株上,并利用收束组件9对开口进行捆扎,重复上述步骤,再套装高度为1.8m的内部防护无纺布3,形成双层无纺布防护结构;
S2.将外部防护镀铝膜2底部的翻边部6置于固定环1内,并利用抵触环8对其固定,实现外部防护镀铝膜2与固定环1的连接,并将外部防护镀铝膜2套装在内部防护无纺布3外侧,再通过定位组件5深入泥土中对固定环1和外部防护镀铝膜2位置固定;
S3.利用收束组件9使外部防护镀铝膜2上端开口扎紧,扎口以上镀铝膜外翻,并通过橡胶块10之间的气流通道使外部防护镀铝膜2内部进行透气,而且利用固定壳14和调节盘15之间气口16的重叠程度可控制微量空气从底部进入,以此实现形成内部微循环。
本具体实施例仅仅是对本发明的解释,其并不是对本发明的限制,本领域技术人员在阅读完本说明书后可以根据需要对本实施例做出没有创造性贡献的修改,尽管已经示出和描述了本发明的实施例,对于本领域的普通技术人员而言,可以理解在不脱离本发明的原理和精神的情况下可以对这些实施例进行多种变化、修改、替换和变型,本发明的范围由所附权利要求及其等同物限定。




